TOP
|
特許
|
意匠
|
商標
特許ウォッチ
Twitter
他の特許を見る
公開番号
2025130220
公報種別
公開特許公報(A)
公開日
2025-09-08
出願番号
2024027238
出願日
2024-02-27
発明の名称
ロッカー
出願人
株式会社東京精密
代理人
スプリング弁理士法人
主分類
A47B
55/00 20060101AFI20250901BHJP(家具;家庭用品または家庭用設備;コーヒーひき;香辛料ひき;真空掃除機一般)
要約
【課題】
宅配ボックスに代表される収容体の扉の開閉機構に用いられるコの字状の構造体であって、右開きと左開きの開閉方向を容易に変更可能な構造体の提供。
【解決手段】
収容する収容部と、前記収容部の前面に設けられる扉20とを有するロッカーであって、前記扉をロックする錠80を内部に収納可能な手先側構造体60と、前記扉を取り付ける丁番70を取り付け可能な吊元側構造体50と、を備え、前記手先側構造体及び前記吊元側構造体は、前記収容部の互いの同じ位置に固定可能に位置を交換できる、ロッカー。
【選択図】図1
特許請求の範囲
【請求項1】
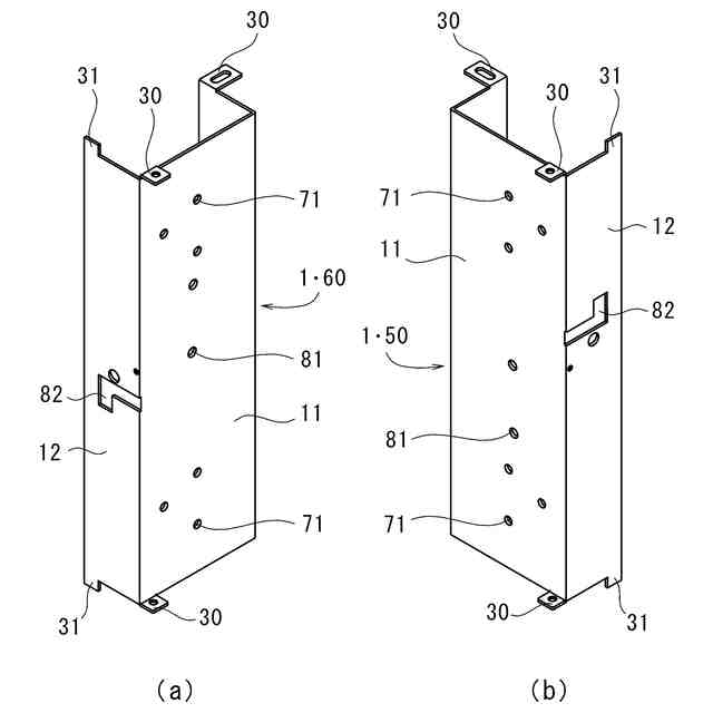
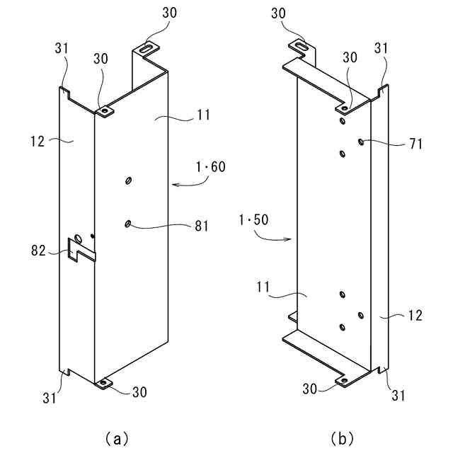
収容する収容部と、前記収容部の前面に設けられる扉とを有するロッカーであって、
前記扉をロックする錠を内部に収納可能な手先側構造体と、
前記扉を取り付ける丁番を取り付け可能な吊元側構造体と、を備え、
前記手先側構造体及び前記吊元側構造体は、前記収容部の互いの同じ位置に固定可能に位置を交換できる、ロッカー。
続きを表示(約 380 文字)
【請求項2】
前記手先側構造体と前記吊元側構造体とは、前記収容部の上面及び底面を架設する、請求項1に記載のロッカー。
【請求項3】
前記手先側構造体と前記吊元側構造体との断面は、コの字型である、請求項2に記載のロッカー。
【請求項4】
前記手先側構造体は、前記丁番を取り付け可能に形成され、
前記吊元側構造体は、前記錠を内部に収容可能に形成されている、請求項3に記載のロッカー。
【請求項5】
前記手先側構造体と前記吊元側構造体とは、同じ形状に形成されている、請求項4に記載のロッカー。
【請求項6】
前記吊元側構造体の幅は、前記手先側構造体の幅よりも小さい、請求項3に記載のロッカー。
【請求項7】
前記錠は、電子錠である、請求項1乃至6のいずれか1項に記載のロッカー。
発明の詳細な説明
【技術分野】
【0001】
本発明は、収容体の扉の開閉機構に用いられるコの字型構造体に関し、詳しくは、吊元側構造体と手先側構造体を収容体の収容領域内に備えることで、右開きと左開きの開閉方向を容易に変更可能とするとともに、扉の繋ぎ目を極力小さくし、外部から視覚を通じたミニマルノイズレスな空間を創出できる収容体の構造技術に関するものである。
続きを表示(約 1,400 文字)
【背景技術】
【0002】
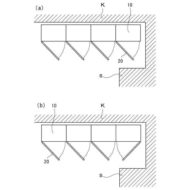
物流業界においてはEC市場の需要拡大とドライバー不足により、宅配会社の負担が増加している。2019年10月に行われた国土交通省「宅配便再配達実態調査」によると、受取人不在による再配達は宅配便全体の15%を占めており、再配達が大きな課題となっている。そこで、再配達削減に役立つ多様な受取方法のひとつとして、置き配が注目されている。
【0003】
置き配とは、商品の配達を非対面で行う方法のことで、購入者があらかじめ指定した場所に荷物を届けるものであり、特定可能な場所は配送会社や利用するECモール等によって異なるが、一般的には、配送先住所内の宅配ボックスの利用が多い。不在時だけでなく、在宅でも手が離せないといったときにも利用が可能なため、配送業者だけでなく購入者にとっても利便性が高く、また荷物手渡し時の濃厚接触を回避することができるので衛生面でも優れ、多様なライフスタイルが一般的になった現在、注目度が高まっている。
【0004】
斯かる置き配によく利用される宅配ボックスについては、玄関先やエントランスに備えられる場合が多く、建物の造り上、壁や設置物の配置状況により、扉の開閉を右開きとするか左開きとするか製造の段階で決定しなければならず、例えば収容領域を上下左右に複数配置する宅配ボックスなどでは、製造時にそれぞれの扉の左右の開閉方向を決めなければならず、また製造した後に左右の開閉方向を変更したくなった場合に対応できないという問題がある。この問題は、キャビネット、ロッカー、ポストなども同様である。
【0005】
このような現状に鑑み、従来からも種々の技術提案がなされている。特許文献1に記載の技術は、扉の開きを左右変更できるもので、上面と底面に架設される点並びに配線を考慮している。しかしながら、特許文献1の技術は、断面がL字型の上部ヒンジ部材を、直接筐体に固定するものである。
【0006】
また、係る特許文献2に記載の技術は、扉の開きを左右変更できるものである。しかしながら、開閉するための扉を受ける蝶番部材が筐体に直接溶接されている。
【0007】
また、特許文献3に記載の技術は、扉の開閉が左右どちらからも開閉できるものである。しかしながら、係る技術は左右どちらからも開閉できることを特徴とするものである。
【先行技術文献】
【特許文献】
【0008】
特開2005-221184号公報
特開2018-37619号公報
特開2011-231937号公報
【発明の概要】
【発明が解決しようとする課題】
【0009】
本発明は、宅配ボックスに代表される収容体の扉の開閉機構に用いられるコの字状の構造体であって、右開きと左開きの開閉方向を容易に変更可能な構造体の技術提供を課題とするものである。
【課題を解決するための手段】
【0010】
本発明の第1のロッカーは、収容する収容部と、前記収容部の前面に設けられる扉とを有するロッカーであって、前記扉をロックする錠を内部に収納可能な手先側構造体と、前記扉を取り付ける丁番を取り付け可能な吊元側構造体と、を備え、前記手先側構造体及び前記吊元側構造体は、前記収容部の互いの同じ位置に固定可能に位置を交換できる、ロッカーである。
(【0011】以降は省略されています)
この特許をJ-PlatPat(特許庁公式サイト)で参照する
関連特許
個人
椅子
1か月前
個人
家具
3か月前
個人
自助箸
5か月前
個人
掃除機
7か月前
個人
ハンガー
5か月前
個人
ソファー
21日前
個人
掃除用具
2か月前
個人
枕
7か月前
個人
枕
4か月前
個人
掃除道具
7か月前
個人
屋外用箒
5か月前
個人
省煙消臭器
7か月前
個人
組立式棚板
6か月前
個人
開閉トング
5か月前
個人
物品
1か月前
個人
掃除シート
8か月前
個人
転倒防止装置
3か月前
個人
シャワー装置
4か月前
個人
受け皿
4か月前
個人
経典表示装置
3か月前
個人
中身のない枕
6か月前
個人
ゴミ袋保持枠
5か月前
個人
紙コップ 蓋
1か月前
個人
靴ベラ
1か月前
個人
コーナーシール
8か月前
個人
コーヒー抽出器
2か月前
個人
組立家具
8か月前
個人
矯正用枕
2か月前
個人
補助寝具
7か月前
個人
ホバー掃除機。
4か月前
個人
首支持具
2か月前
個人
簡易防災トイレ
11日前
個人
汚水汚れ防止具
8か月前
個人
汚水漏れ防止具
8か月前
個人
三本で一善の箸具
8か月前
個人
ライト付きトング
3か月前
続きを見る
他の特許を見る