TOP
|
特許
|
意匠
|
商標
特許ウォッチ
Twitter
他の特許を見る
公開番号
2025138050
公報種別
公開特許公報(A)
公開日
2025-09-25
出願番号
2024036758
出願日
2024-03-11
発明の名称
クッション
出願人
株式会社高瀬
代理人
個人
主分類
A47C
27/00 20060101AFI20250917BHJP(家具;家庭用品または家庭用設備;コーヒーひき;香辛料ひき;真空掃除機一般)
要約
【課題】 使用者の背筋を伸ばし、姿勢を良くするクッションを提供する。
【解決手段】 本開示によるクッションは、クッション本体層と、上部クッション層と、下部クッション層と、を有している。クッション本体層は、クッションの本体部を成し、上下両主面を有する厚板状である。上部クッション層は、クッション本体層の上主面を覆う薄板状である。下部クッション層は、クッション本体層の下主面を覆う薄板状である。クッション本体層は、着座する使用者の骨盤を支える後方の部位に、上下両主面を貫通する空洞を有し、相対的に柔らかい軟質クッション層と、空洞を満たすように配置され、相対的に硬い硬質クッション層と、を有している。更に、軟質クッション層は、上部クッション層及び下部クッション層よりも柔らかく、硬質クッション層は、上部クッション層及び下部クッション層よりも硬い。
【選択図】 図2
特許請求の範囲
【請求項1】
クッションであって、
前記クッションの本体部を成し、上下両主面を有する厚板状のクッション本体層と、
前記クッション本体層の前記上主面を覆う薄板状の上部クッション層と、
前記クッション本体層の前記下主面を覆う薄板状の下部クッション層と、を備え、
前記クッション本体層は、
着座する使用者の骨盤を支える後方の部位に、前記上下両主面を貫通する空洞を有し、相対的に柔らかい軟質クッション層と、
前記空洞を満たすように配置され、相対的に硬い硬質クッション層と、を有し、
前記軟質クッション層は、前記上部クッション層及び前記下部クッション層よりも柔らかく、
前記硬質クッション層は、前記上部クッション層及び前記下部クッション層よりも硬い、クッション。
発明の詳細な説明
【技術分野】
【0001】
本発明は、座するときに使用するクッションに関する。
続きを表示(約 1,800 文字)
【背景技術】
【0002】
座するときに使用するクッションには、座り心地を良くするための工夫が付加されたものが知られている。例えば特許文献1は、使用者が着座したときに、座骨への圧迫を阻止することにより、長時間に亘る使用においても尻が痛くならないようにすることを目的としたクッションを開示している。
【先行技術文献】
【特許文献】
【0003】
特開2003-325270号公報
【発明の概要】
【発明が解決しようとする課題】
【0004】
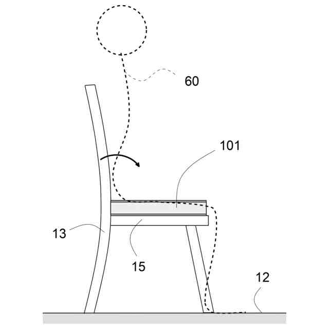
人が通常のクッションを使用して着座したときには、骨盤が後方に回旋し易く、それにより姿勢が悪くなり易い。高齢者は、骨盤が「ぐらぐら」と言われる緩み状態にあることから、特にその問題が大きい。介護士等としての業務経験を重ねている本願発明者らは、業務を通じてこのことに気が付き、クッションについて様々な試みを行った。特許文献1のように座骨への圧迫を阻止することを目的としたクッションは、解決手段とはなり得ない。本発明は、本願発明者のかかる試みによりなされたもので、使用者の背筋を伸ばし、姿勢を良くするクッションを提供することを目的とする。
【課題を解決するための手段】
【0005】
上記目的を達成するために、本発明のうち第1の態様によるものは、クッションであって、クッション本体層と、上部クッション層と、下部クッション層と、を備えている。クッション本体層は、前記クッションの本体部を成し、上下両主面を有する厚板状である。上部クッション層は、前記クッション本体層の前記上主面を覆う薄板状である。下部クッション層は、前記クッション本体層の前記下主面を覆う薄板状である。
前記クッション本体層は、着座する使用者の骨盤を支える後方の部位に、前記上下両主面を貫通する空洞を有し、相対的に柔らかい軟質クッション層と、前記空洞を満たすように配置され、相対的に硬い硬質クッション層と、を有している。更に、前記軟質クッション層は、前記上部クッション層及び前記下部クッション層よりも柔らかく、前記硬質クッション層は、前記上部クッション層及び前記下部クッション層よりも硬い。
【0006】
この構成によれば、使用者の骨盤を支える後方の部位が相対的に硬質であると同時に、大腿を支える前方が相対的に柔らかいために、大腿の重さにより骨盤が前方に回旋し易くなる。その結果、使用者の背筋が伸び、姿勢が良くなる。軟質クッション層と硬質クッション層とに分割されているクッション本体層の上下両主面が、上部及び下部クッション層によって覆われ、上部及び下部クッション層が、軟質クッション層と硬質クッション層との間の硬さであるので、軟質クッション層と硬質クッション層の境界において使用者が感じる硬さの段差感が緩和される。
【発明の効果】
【0007】
以上のように本発明によれば、使用者の背筋を伸ばし、姿勢を良くするクッションが実現する。
【図面の簡単な説明】
【0008】
本発明の一実施の形態によるクッションの外観を例示する斜視図である。
図1のクッションの構成を例示する分解斜視図である。
比較例として従来のクッションの効果を例示する概略説明図である。
図1のクッションの効果を例示する概略説明図である。
【発明を実施するための形態】
【0009】
図1は、本発明の一実施の形態によるクッションの外観を例示する斜視図である。このクッション101は、クッション本体層1、上部クッション層3、下部クッション層5を有している。図示例では、クッション101の平面形状は矩形であり、特に正方形である。
【0010】
クッション本体層1は、クッション101の本体部を成す中心的部分であり、その厚みはクッション101の厚みの大半を占めている。クッション本体層1は厚板状であって、上下両主面を有している。上部クッション層3は、クッション本体層1の上主面を覆うように配置される。他方の下部クッション層5は、クッション本体層1の下主面を覆うように配置される。このように、クッション本体層1、上部クッション層3、下部クッション層5は、層を成して重なり合っている。
(【0011】以降は省略されています)
この特許をJ-PlatPat(特許庁公式サイト)で参照する
関連特許
株式会社高瀬
クッション
14日前
個人
家具
3か月前
個人
椅子
1か月前
個人
掃除機
7か月前
個人
自助箸
5か月前
個人
体洗い具
9か月前
個人
ソファー
20日前
個人
ハンガー
5か月前
個人
耳拭き棒
9か月前
個人
屋外用箒
5か月前
個人
枕
7か月前
個人
枕
4か月前
個人
掃除用具
2か月前
個人
掃除道具
7か月前
個人
掃除シート
8か月前
個人
片手代替具
10か月前
個人
エコ掃除機
10か月前
個人
物品
1か月前
個人
省煙消臭器
7か月前
個人
組立式棚板
6か月前
個人
開閉トング
4か月前
個人
洗面台
9か月前
個人
転倒防止装置
3か月前
個人
中身のない枕
6か月前
個人
紙コップ 蓋
29日前
個人
ゴミ袋保持枠
5か月前
個人
折り畳み椅子
12か月前
個人
シャワー装置
4か月前
個人
経典表示装置
3か月前
個人
靴ベラ
29日前
個人
受け皿
4か月前
個人
組立家具
8か月前
個人
首支持具
2か月前
個人
コーナーシール
8か月前
個人
食事用具
11か月前
個人
汚水漏れ防止具
8か月前
続きを見る
他の特許を見る