TOP
|
特許
|
意匠
|
商標
特許ウォッチ
Twitter
他の特許を見る
公開番号
2025140500
公報種別
公開特許公報(A)
公開日
2025-09-29
出願番号
2024039936
出願日
2024-03-14
発明の名称
炉内構造物の解体方法
出願人
三菱重工業株式会社
代理人
弁理士法人酒井国際特許事務所
主分類
G21F
9/30 20060101AFI20250919BHJP(核物理;核工学)
要約
【課題】炉内構造物の解体方法において、炉内構造物の解体作業の作業性の向上を図る。
【解決手段】円筒形状をなす炉心槽本体の内周壁部にフォーマ板が固定され、フォーマ板の内側にバッフル板が固定されて構成される炉内構造物としての炉心槽を解体する炉内構造物の解体方法において、炉心槽本体とフォーマ板とバッフル板とが一体で組付けられた状態で切断する。
【選択図】図4
特許請求の範囲
【請求項1】
円筒形状をなす炉心槽本体の内周壁部にフォーマ板が固定され、前記フォーマ板の内側にバッフル板が固定されて構成される炉内構造物としての炉心槽を解体する炉内構造物の解体方法において、
前記炉心槽本体と前記フォーマ板と前記バッフル板とが一体で組付けられた状態で切断する、
炉内構造物の解体方法。
続きを表示(約 350 文字)
【請求項2】
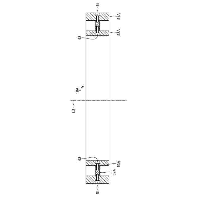
前記炉心槽本体の内周壁部に複数の第1ボルトにより前記フォーマ板が固定され、前記フォーマ板の内側に複数の第2ボルトにより前記バッフル板が固定され、前記第1ボルトおよび前記第2ボルトの位置以外に位置で切断する、
請求項1に記載の炉内構造物の解体方法。
【請求項3】
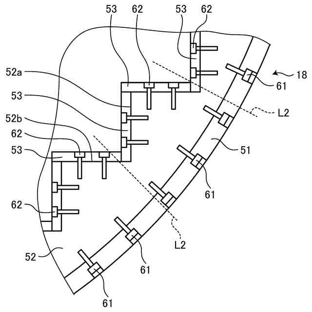
前記炉心槽本体をリング形状に切断する、
請求項1または請求項2に記載の炉内構造物の解体方法。
【請求項4】
前記炉心槽本体を軸方向に沿って切断する、
請求項1または請求項2に記載の炉内構造物の解体方法。
【請求項5】
前記炉心槽本体をリング形状に切断した後、軸方向に沿って切断する、
請求項1または請求項2に記載の炉内構造物の解体方法。
発明の詳細な説明
【技術分野】
【0001】
本開示は、原子炉容器の内部に配置される炉内構造物を切断する炉内構造物の解体方法に関するものである。
続きを表示(約 1,300 文字)
【背景技術】
【0002】
原子力発電プラントにて、原子炉格納容器は、岩盤等の堅固な地盤上に立設され、内部に原子炉が配置される。原子炉は、原子炉容器の内部に燃料などの炉内構造物が配置されて構成される。原子炉を廃棄処分する場合、原子炉容器の内部から炉内構造物を取り出し、所定の大きさに切断する。炉内構造物を切断する技術としては、例えば、特許文献1に記載されたものがある。
【先行技術文献】
【特許文献】
【0003】
特許第2987070号公報
【発明の概要】
【発明が解決しようとする課題】
【0004】
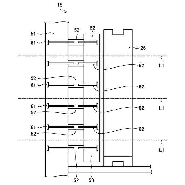
炉内構造物としての炉心槽は、円筒形状をなす炉心槽本体の内周壁部にフォーマ板が固定され、フォーマ板の内側にバッフル板が固定されて構成される。フォーマ板は、複数のボルトにより炉心槽本体の内周壁部に固定され、バッフル板は、複数のボルトによりフォーマ板に固定される。そのため、炉心槽を解体する場合、フォーマ板に対してボルトを弛緩してバッフル板を取外し、炉心槽本体に対してボルトを弛緩してフォーマ板を取外した後、炉心槽本体を所定の大きさに切断していた。そのため、炉心槽の解体作業に長時間を要してしまうという課題がある。
【0005】
本開示は、上述した課題を解決するものであり、炉内構造物の解体作業の作業性の向上を図る炉内構造物の解体方法を提供することを目的とする。
【課題を解決するための手段】
【0006】
上記の目的を達成するための本開示の炉内構造物の解体方法は、円筒形状をなす炉心槽本体の内周壁部にフォーマ板が固定され、前記フォーマ板の内側にバッフル板が固定されて構成される炉内構造物としての炉心槽を解体する炉内構造物の解体方法において、前記炉心槽本体と前記フォーマ板と前記バッフル板とが一体で組付けられた状態で切断する。
【発明の効果】
【0007】
本開示の炉内構造物の解体方法によれば、炉内構造物の解体作業の作業性の向上を図ることができる。
【図面の簡単な説明】
【0008】
図1は、加圧水型原子炉を表す縦断面図である。
図2は、炉内構造物としての炉心槽を表す概略平面図である。
図3は、炉心槽の要部を表す概略平面図である。
図4は、炉心槽を表す概略縦断面図である。
図5は、炉心槽の連結構造を表す概略斜視図である。
図6は、炉心槽の切断状態を表す概略断面図である。
【発明を実施するための形態】
【0009】
以下に図面を参照して、本開示の好適な実施形態を詳細に説明する。なお、この実施形態により本開示が限定されるものではなく、また、実施形態が複数ある場合には、各実施形態を組み合わせて構成するものも含むものである。また、実施形態における構成要素には、当業者が容易に想定できるもの、実質的に同一のもの、いわゆる均等の範囲のものが含まれる。
【0010】
<加圧水型原子炉>
図1は、加圧水型原子炉を表す縦断面図である。
(【0011】以降は省略されています)
この特許をJ-PlatPat(特許庁公式サイト)で参照する
関連特許
三菱重工業株式会社
皮膜形成装置
1日前
三菱重工業株式会社
超音波探傷方法
1日前
三菱重工業株式会社
ポンプシステム
1日前
三菱重工業株式会社
バッテリ交換装置
2日前
三菱重工業株式会社
メタン酸化触媒装置
1日前
三菱重工業株式会社
炭化炉及びその制御方法
1日前
三菱重工業株式会社
電解セル、及び電解装置
2日前
三菱重工業株式会社
バーナ及びこれを備えたボイラ
1日前
三菱重工業株式会社
バーナ及びこれを備えたボイラ
1日前
三菱重工業株式会社
水素製造システム及び水素製造方法
1日前
三菱重工業株式会社
渦電流探傷装置、及び渦電流探傷方法
1日前
三菱重工業株式会社
洗浄装置、分離システム及び洗浄方法
1日前
三菱重工業株式会社
蓄圧システム及び蓄圧システムの運転方法
2日前
三菱重工業株式会社
シール構造、建屋及びシール構造の製造方法
2日前
三菱重工業株式会社
電解モジュールの冷却方法及び電解システム
1日前
三菱重工業株式会社
電力変換システム、および電力変換システムの制御方法
2日前
三菱重工業株式会社
タービン架台及びタービン装置並びにタービン架台の製造方法
1日前
三菱重工業株式会社
機器配置設計装置、機器配置設計方法及び機器配置設計プログラム
2日前
三菱重工業株式会社
粉砕テーブル及び固体燃料粉砕装置並びに粉砕テーブルの補修方法
1日前
三菱重工業株式会社
濃度算出装置、燃焼制御装置、濃度算出方法及び濃度算出プログラム
2日前
三菱重工業株式会社
固体燃料粉砕装置及びボイラ設備並びに固体燃料粉砕装置の運転方法
2日前
三菱重工業株式会社
熱電併給用蒸気生成システム及び熱電併給システム並びに熱電併給用蒸気生成方法
1日前
三菱重工業株式会社
炭素強度演算装置、これを用いた合成燃料製造プラント、炭素強度演算方法及び炭素強度演算プログラム
1日前
三菱重工業株式会社
CO2回収装置用蒸気生成システム及びこれを備えたCO2回収装置並びにCO2回収装置用蒸気生成方法
1日前
個人
常温核融合装置
5か月前
個人
常温核融合装置
5か月前
個人
常温核融合装置
5か月前
個人
トリチウムの除去装置
6か月前
個人
廃炉方法及び固化材
12日前
個人
元素変換用固体核融合工程
4か月前
個人
安山岩を利用した放射線消去装置
4か月前
個人
安山岩を利用した放射線消去装置
3か月前
パテントフレア株式会社
核融合反応促進法
5か月前
個人
金属製軽水炉使用済核燃料増殖原子炉
6か月前
個人
はんれい岩を利用した放射線消去装置
3か月前
パテントフレア株式会社
核融合反応促進法
5か月前
続きを見る
他の特許を見る