TOP
|
特許
|
意匠
|
商標
特許ウォッチ
Twitter
他の特許を見る
公開番号
2025065576
公報種別
公開特許公報(A)
公開日
2025-04-21
出願番号
2024120422
出願日
2024-07-09
発明の名称
常温核融合装置
出願人
個人
代理人
主分類
G21B
3/00 20060101AFI20250414BHJP(核物理;核工学)
要約
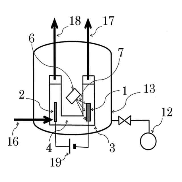
【課題】実用レベルの出力を有する常温核融合装置を提供する。
【解決手段】水の電気分解においてカソード電極に放射線を照射することで核融合反応を促進させる。
【選択図】図1
特許請求の範囲
【請求項1】
水の電気分解においてカソード電極に対して放射線を照射することを特徴とする常温核融合装置。
続きを表示(約 480 文字)
【請求項2】
請求項1において該放射線のエネルギーが0.78MeV以上であることを特徴とする常温核融合装置。
【請求項3】
請求項1において該放射線がγ線であることを特徴とする常温核融合装置。
【請求項4】
請求項3において該γ線がコバルト60、ラジウム226およびそれらの核変換物から放出されることを特徴とする常温核融合装置。
【請求項5】
請求項1において該カソード電極を中空構造にして中空側から放射線を照射することを特徴とする常温核融合装置。
【請求項6】
請求項5においてコバルト60、ラジウム226、セシウム134、セシウム137、ルテニウム106およびそれらの核変換物からの放射線が照射されることを特徴とする常温核融合装置。
【請求項7】
請求項1において該カソード電極の材質がパラジウムまたはパラジウムを主成分とする金属であることを特徴する常温核融合装置。
【請求項8】
請求項1~7のいずれかに記載の常温核融合装置を搭載したボイラー装置。
発明の詳細な説明
【技術分野】
【0001】
本発明は、水の電気分解において0.78MeV以上の放射線をカソード電極に照射することにより核融合反応を促進させる常温核融合装置に関する。
続きを表示(約 2,700 文字)
【背景技術】
【0002】
1989年にフライシュマン教授,ポンズ教授によって常温核融合が報告された。非特許文献1によれば、Pdカソードを用いた重水の電気分解において通常の電気分解では得られない余剰熱が発生し、場合によってはPdカソードが融解した上(Pd融点1555℃)、γ線も検出し核融合反応を示唆するものであった。しかし、再現性の悪さから否定的な意見も出て評価が難しい現象だった。その後、数多の研究者の研究の結果、常温核融合の存在は認知されたものの、その原理に対して明確になったとは言えず試行錯誤で研究されている状況である。
【0003】
非特許文献2のNASAのグレン研究センターの研究者たちは電子加速器と水素と金属を用いて核融合を実現した。具体的には、加速器で加速させた電子をタングステンに照射してγ線を発生させる。重水素を吸蔵させたTiまたはErに当該γ線を照射して核融合に成功した。彼らは当該γ線によって重水が陽子と中性子に分解されて、ヘリウム生成や金属元素の変換が起こっていると説明している。この現象は常温核融合ではなく新しい核融合の方法だと彼らは主張し、LCF(Lattice Confinement Fusion;格子閉じ込め式核融合)と自ら名付けている。
【先行技術文献】
【非特許文献】
【0004】
J.Electroanal.Chem.,261巻,301項(1989).
Phys.Rev.C,101巻,44610項(2020).
化学と教育,49巻,688項(2001).
【非文献特許4】
【】
日本原子力研究所,JAERI-M,89-132
【発明の概要】
【発明が解決しようとする課題】
【0005】
最初に解明すべきなのは常温核融合の原理である。多くの人が想像するクーロン遮蔽効果によって原子核とプロトン(重陽子も含む)の衝突確率が飛躍的に増大するという説は1990年代初期に否定されてボイドや不純物の関与が疑われていたりするが、非弾性散乱衝突断面積を考えれば中性子の関与の可能性が高く、それを指摘する研究者もいるが主流になっていないようである。
【0006】
本発明者は中性子の関与を支持しており、まず宇宙線のような外来のエネルギーによって原子核が励起される。実験事実として常温核融合ではγ線が出にくいことから、固体内の励起原子の励起エネルギーは内部転換して熱や近傍水素原子核と電子の融合による中性子生成に使われる。また、直接励起された水素原子核と電子の融合による中性子生成もあり得る。中性子も検出されにくいという実験事実から生成した中性子も他の原子核と高確率で融合して励起状態の原子核となり連鎖的に核融合、内部転換による発熱・中性子生成が進行する。中性子1個による生成エネルギーは化学反応の1万倍と言っても極めて微量であり、上記のような連鎖反応が進行して漸く発熱現象として観測可能となるのである。そして、中性子源である水素が無くなったりすると常温核融合反応並びに発熱が停止となる。
【0007】
以上のように考えれば、非特許文献2のNASAのグレン研究センターの手法は常温核融合の原理を用いた方法と言える。
【0008】
また、非特許文献1の常温核融合発見の論文にも中性子の関与を示す証拠がある。そこに測定されたγ線に2.2MeVのピークがあり、これは陽子と中性子が結合して重陽子になるとき発生するエネルギーに相当し、重水素の核分裂が進み多量の中性子と陽子の存在を示している。中性子が多量にあれば、その非弾性衝突断面積の大きさにより中性子による核融合反応が進行するのは明らかである。簡単に言えば、電荷を持たない中性子は原子核と容易に核融合できる。また、非特許文献3によれば、非特許文献1の実験日は、ユタ大学とブリガムヤング大学でネイチャー誌に常温核融合の論文を3月24日付で同時投稿すると約束した1989年3月6日から非特許文献1の投稿日3月11日の間であると本発明者は推定しているが、この時期は常温核融合にとって歴史上最良条件であった。すなわち、3月6日太陽でX15.0の巨大フレア発生、3月9日太陽でコロナ質量放出が発生した結果、3月13日に地球で深刻な磁気嵐が発生し、カナダのケベック州大停電を起こす程太陽が活発であった。このような地球に多量の放射線が降り注がれた状況下でPdカソードが融解する程の常温核融合反応が起きたと本発明者は考えている。
【0009】
フライシュマン教授、ポンズ教授の実験時期が本発明者の予想通りならば、以降の追試における再現性の悪さも当然である。他者による追試実験はしばらく時間経過してから行われたため、前述のような多量の放射線が太陽から注がられる訳もなく異常な出力の常温核融合は得られず、その結果フライシュマン教授らは詐欺師呼ばわりされる状況になってしまったと考えられる。この発見は歴史的にも奇跡的なタイミングで行わられ、この機会を失っていれば、常温核融合現象が注目されるようになるのがいつになったかが全く分からないことから、彼らの発見は奇跡的偉業と讃えられるべきと本発明者は考えている。またここで、宇宙線、特に太陽由来の宇宙線が常温核融合に重要な因子であったことも強調したい。以上の推論より、信じられないだろうが、フライシュマン教授らが非特許文献1で報告したPd電極が融解する程の核融合反応は真実であったと本発明者は考えている。
【0010】
以上から非特許文献2は非特許文献1、すなわち常温核融合の重要因子である放射線を人工的に供給しただけに過ぎないと考えている。また、非特許文献2は有望な熱源としての価値を認識する程の核融合反応出力は出ていないようであるが、これは彼らが水素化物に対して核融合反応を行った結果、高温では重水素が抜けて出力が急激に低下するため融点に達する程の高温にはならなかったためと考えている。一方、フライシュマン教授、ポンズ教授は水素固溶濃度が広い温度領域で高いままというパラジウムをカソード電極に使用し、かつ電気分解で絶えず重水素をカソード電極内に供給することにより、カソード電極が融解する程の核融合反応出力をもたらしたと考えている。
(【0011】以降は省略されています)
特許ウォッチbot のツイートを見る
この特許をJ-PlatPat(特許庁公式サイト)で参照する
関連特許
個人
常温核融合装置
5か月前
個人
常温核融合装置
5か月前
個人
常温核融合装置
5か月前
個人
トリチウムの除去装置
6か月前
個人
廃炉方法及び固化材
7日前
個人
元素変換用固体核融合工程
3か月前
個人
安山岩を利用した放射線消去装置
3か月前
個人
安山岩を利用した放射線消去装置
4か月前
個人
金属製軽水炉使用済核燃料増殖原子炉
6か月前
個人
コンクリート船に乗せた、原子力発電
7か月前
パテントフレア株式会社
核融合反応促進法
5か月前
個人
はんれい岩を利用した放射線消去装置
3か月前
パテントフレア株式会社
核融合反応促進法
5か月前
個人
装置、加速器、減速器、核変換システム
5か月前
合同会社日本レプトン
電子発生ペースト
11日前
株式会社エー・アンド・デイ
X線検査装置
5か月前
株式会社エー・アンド・デイ
X線検査装置
5か月前
個人
ホウ素を用いるミューオン触媒核融合システム
6か月前
個人
核変換システム、加工装置、除去装置、切除装置
5か月前
PDRファーマ株式会社
遮蔽容器
4か月前
栗田工業株式会社
放射性廃液の処理方法
7日前
個人
過剰熱発生方法
6か月前
住友重機械工業株式会社
搬送システム
3か月前
株式会社シェルタージャパン
放射線遮蔽構造
7か月前
国立大学法人大阪大学
原子力発電装置
4か月前
個人
共振励起型固体核融合装置と元素変換用固体核融合工程
3か月前
浜松ホトニクス株式会社
電子線照射装置
5か月前
浜松ホトニクス株式会社
電子線照射装置
5か月前
合同会社日本レプトン
電子発生器具及びその製造方法
11日前
合同会社日本レプトン
電子発生器具及びその製造方法
11日前
日揮株式会社
放射性廃棄物の固化処理方法
6か月前
株式会社アキュサイト
放射性物質の処理装置および方法
5か月前
個人
過剰熱起電力発生方法
4か月前
三菱重工業株式会社
加圧容器
1か月前
合同会社日本レプトン
物質活性化素材及び物質活性化部材
6か月前
個人
重希ガス冷却増殖原子炉及び未臨界増殖原子炉及び申請書類
7か月前
続きを見る
他の特許を見る