TOP
|
特許
|
意匠
|
商標
特許ウォッチ
Twitter
他の特許を見る
公開番号
2025089417
公報種別
公開特許公報(A)
公開日
2025-06-12
出願番号
2025047618
出願日
2025-03-23
発明の名称
元素変換用固体核融合工程
出願人
個人
代理人
主分類
G21G
1/10 20060101AFI20250605BHJP(核物理;核工学)
要約
【課題】共振励起型常温核融合(固体核融合)を用いて、希少で産業に利用しずらかった元素の元素変換による生産を実用レベルにする。
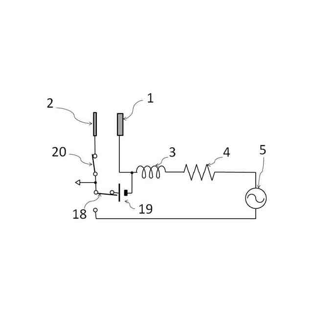
【解決手段】水素含有金属1と対向電極2から成るコンデンサーを電子加速器とし、LC共振で発生させた0.78MeV以上の高エネルギー電子を以て水素含有金属内1で固体核融合反応を促進させる。その際、中性子結合連鎖反応とβ崩壊で元素変換が行われる結果、産業上利用可能な量の所望の元素が得られる。
【選択図】図1
特許請求の範囲
【請求項1】
0.78MeV以上の運動エネルギーを持つ電子を水素含有金属へ照射させる電子励起型常温核融合において原子核変換により産業上利用可能な量の所望の元素を得ることを特徴とする生産プロセス。
続きを表示(約 190 文字)
【請求項2】
請求項2において該電子励起型常温核融合が該水素含有金属と対向電極から成るコンデンサーをLC共振させて加速させた電子を該水素含有金属に照射することを特徴とする生産プロセス。
【請求項3】
請求項1および2において該所望の元素が重水素、トリチウム、He、Li、Be、P、S、Sc、Ga、In、ランタノイド元素のいずれかであることを特徴とする生産プロセス。
発明の詳細な説明
【技術分野】
【0001】
本発明は、共振励起型固体核融合装置による元素変換用固体核融合工程に関する。
続きを表示(約 2,500 文字)
【背景技術】
【0002】
錬金術は鉛のような低価値の元素を金のような希少で高価値の元素に変換することを目標として古代より研究され結局成功しなかったが、化学の発展に貢献してきた。20世紀になって原子の構造が解明されて、錬金は理論的には可能となったが、生産性・コストの面で経済性が低いのが実情である。また、錬金術は広義では元素変換であり、放射性元素のような有害な元素から無害あるいは低毒性への元素変換に利用するようなことも提案されている。この場合、コスト面の条件は緩和されるが、生産性が高いことが望ましい。
【0003】
特許文献1は、中性子源からの中性子照射による元素変換によって医療・工業に有用な放射性元素の生成や核廃棄物の長半減期元素を無害化するという特許である。これらはある程度コスト高が許される案件であり、元素変換できる量は中性子源の放射性物質の量によって決まり、一般的には大量の生産・処理には向かない。
【0004】
特許文献2は、放射性ヨウ素を元素変換によって無害化させる特許である。具体的にはヨウ化重水素と重水素の混合ガスをPd基板の両面の圧力差で透過させて、Pd基板内で元素変換を行うものである。元素変換はヨウ素と重水素による常温核融合によってなされるが、特別な核融合促進機構を有していないため反応速度は遅いと考えられる。
【0005】
常温核融合の反応機構については未だ解明されておらず、様々な理論が提唱されているが、常温核融合は凝縮系核反応または低エネルギー核反応(LENR;Low Energy Nuclear Reaction)であり、未知の量子反応によって起こっているというのが現在主流の学説である。しかし、本発明者は様々検討し過去の文献等を検証した結果、常温核融合は高エネルギー核反応であり、通常の核物理・固体物理の範疇にあるという現在の主流とは異なる結論に達した。
【0006】
本発明者の考える常温核融合の原理は、非特許文献1と非特許文献2が基本になる。非特許文献1は、小島英夫教授の捕獲中性子触媒理論(TNCF;Trapped Neutron Catalyzed Fusion Model)と呼ばれるもので、周囲を漂う背景熱中性子が起点となって核融合反応が開始し固体内に生じた捕獲された準安定な中性子群が触媒として核融合反応が進行するというものである。背景熱中性子の関与は彼の指摘する実験事実から正しいと考えられるが、捕獲された準安定な中性子群というモデルは多少違和感があり最終的に多数の同意を得られなかったのではと専門外の本発明者は思う次第である。
【0007】
非特許文献2は、研究者の名前からSWL(Srivastava-Widom-Larsen)理論と呼ばれ、高エネルギーの宇宙線粒子によってプロトンと電子が結合して生じた中性子が反応起点になるというものである。彼らが、非特許文献3のフライシュマン、ポンズ両教授の有名な1989年の世界初の常温核融合実験に触れなかったのは非常に残念だと本発明者は考えている。彼らが1989年の実験について考察すれば、SWL理論は常温核融合の原理として一般に広く認知されたはずである。
【0008】
非特許文献4は、非特許文献3が発表される直前の状況を詳細に説明している。1988年にフライシュマン教授らは米エネルギー省に常温核融合の予算申請をしたが、審査担当のジョーンズ教授が自分も同様の研究をしていると言い出し、1989年2月23日にジョーンズ教授が論文を出せるデータがあると発言してフライシュマン教授らはショックを受けたということから、フライシュマン教授らには画期的実験結果は未だなかったはずである。1989年3月6日に両者はユタ大学で会談して、3月24日に両者は常温核融合の論文を同じ雑誌に同時投稿するというフライシュマン教授らにとっては心外な約束をした点から画期的データは未だなかったと推測している。非特許文献3の投稿日が3月11日なので、非特許文献3の画期的な実験結果が本当ならば、それを測定したのは3月6日~3月11日の間と予想している。
【0009】
その期間の太陽活動データを調べると、常温核融合にとって歴史上最良条件だったと判明した。すなわち、3月6日太陽でX15.0の巨大フレア発生、3月9日太陽でコロナ質量放出が発生した結果、3月13日に地球で深刻な磁気嵐が発生し、カナダのケベック州大停電を起こす程の異常な宇宙線が地球を直撃した。この時の太陽フレアは2025年時点においても観測史上トップクラスのレベルである。そのような放射線が北米大陸に降り注がれた結果、Pdカソードが融解する程(Pd融点1555℃)の常温核融合反応が起きたと本発明者は考えている。また、非特許文献3には常温核融合において中性子の存在を示す証拠がある。測定された2.2MeVのγ線ピークは、陽子と中性子が結合して重陽子になるときの値であり、多量の中性子と陽子がPd陰極内に存在したことを示唆している。また、宇宙線によって多量の重水素の核分裂がPd陰極内で進行したことも同時に示唆している。
【0010】
上記の予想が正しければ、非特許文献3発表以降の他者による追試の再現性の悪さは当然である。追試実験はしばらく時間経過してから行われたため、1989年3月6日~3月13日のような異常な放射線は太陽から注がられず常温核融合の出力は極めて弱く、その結果フライシュマン教授らは詐欺師呼ばわりされてしまったと考えられる。予想通りなら、この発見は歴史的にも奇跡的なタイミングで行わられ、この機会を失っていれば、常温核融合現象が注目されるようになるのがいつになったか全く想像が付かないことから、彼らの発見は奇跡的偉業と讃えられるべきと本発明者は考えている。またここで、宇宙線、特に太陽由来の宇宙線が常温核融合にとって重要な因子であることも強調したい。
(【0011】以降は省略されています)
この特許をJ-PlatPat(特許庁公式サイト)で参照する
関連特許
個人
常温核融合装置
5か月前
個人
常温核融合装置
5か月前
個人
常温核融合装置
5か月前
個人
トリチウムの除去装置
6か月前
個人
元素変換用固体核融合工程
3か月前
個人
廃炉方法及び固化材
5日前
個人
安山岩を利用した放射線消去装置
3か月前
個人
安山岩を利用した放射線消去装置
4か月前
パテントフレア株式会社
核融合反応促進法
5か月前
パテントフレア株式会社
核融合反応促進法
5か月前
個人
金属製軽水炉使用済核燃料増殖原子炉
6か月前
個人
コンクリート船に乗せた、原子力発電
7か月前
個人
はんれい岩を利用した放射線消去装置
3か月前
個人
装置、加速器、減速器、核変換システム
5か月前
合同会社日本レプトン
電子発生ペースト
9日前
株式会社エー・アンド・デイ
X線検査装置
5か月前
中部電力株式会社
立ち入り管理装置
8か月前
株式会社エー・アンド・デイ
X線検査装置
5か月前
個人
ホウ素を用いるミューオン触媒核融合システム
6か月前
PDRファーマ株式会社
遮蔽容器
4か月前
個人
核変換システム、加工装置、除去装置、切除装置
4か月前
栗田工業株式会社
放射性廃液の処理方法
5日前
個人
過剰熱発生方法
6か月前
株式会社シェルタージャパン
放射線遮蔽構造
7か月前
住友重機械工業株式会社
搬送システム
2か月前
国立大学法人大阪大学
原子力発電装置
4か月前
合同会社日本レプトン
電子発生器具及びその製造方法
9日前
浜松ホトニクス株式会社
電子線照射装置
5か月前
浜松ホトニクス株式会社
電子線照射装置
5か月前
合同会社日本レプトン
電子発生器具及びその製造方法
9日前
個人
共振励起型固体核融合装置と元素変換用固体核融合工程
3か月前
日揮株式会社
放射性廃棄物の固化処理方法
5か月前
株式会社アキュサイト
放射性物質の処理装置および方法
5か月前
個人
過剰熱起電力発生方法
4か月前
個人
放射線防護衣
8か月前
三菱重工業株式会社
加圧容器
1か月前
続きを見る
他の特許を見る