TOP
|
特許
|
意匠
|
商標
特許ウォッチ
Twitter
他の特許を見る
公開番号
2025152136
公報種別
公開特許公報(A)
公開日
2025-10-09
出願番号
2024053886
出願日
2024-03-28
発明の名称
固体燃料粉砕装置及びボイラ設備並びに固体燃料粉砕装置の運転方法
出願人
三菱重工業株式会社
代理人
個人
,
個人
,
個人
主分類
B02C
15/04 20060101AFI20251002BHJP(破砕,または粉砕;製粉のための穀粒の前処理)
要約
【課題】各微粉燃料供給ラインに微粉燃料が均一に供給されるよう調整できる固体燃料粉砕装置を提供する。
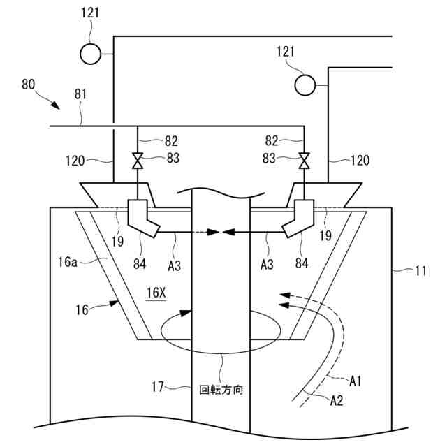
【解決手段】ハウジング11の内部に設けられ、鉛直方向に延在するとともに中心軸線を中心とした円周方向に並んで配置された複数のブレード16aを有し、搬送ガスとともに導かれた粉砕燃料を分級する回転式分級部16と、円周方向に並んで配置された複数のブレード16aに包囲された包囲領域16Xに気体を噴出する複数のノズル84と、回転式分級部16で分級された所定粒径以下の粉砕燃料を搬送ガスと共にハウジング11の複数の出口ポート19を介して包囲領域16Xからボイラへ供給する複数の微粉燃料供給ラインと、を備えている。
【選択図】図4
特許請求の範囲
【請求項1】
ハウジングと、
前記ハウジングの内部に設けられ、鉛直方向に延在する中心軸線の回りに回転する回転テーブルと、
前記ハウジングの内部に設けられ、固体燃料を前記回転テーブルとの間で噛み込んで粉砕して粉砕燃料にする粉砕ローラと、
粉砕燃料を搬送するための搬送ガスを前記ハウジングの内部に供給する搬送ガス供給ラインと、
前記ハウジングの内部に設けられ、前記鉛直方向に延在するとともに前記中心軸線を中心とした円周方向に並んで配置された複数のブレードを有し、搬送ガスとともに導かれた粉砕燃料を分級する回転式分級部と、
前記円周方向に並んで配置された複数の前記ブレードに包囲された包囲領域に気体を噴出する複数の噴出部と、
前記回転式分級部で分級された所定粒径以下の粉砕燃料を搬送ガスと共に前記ハウジングの複数の出口ポートを介して前記包囲領域からボイラへ供給する複数の微粉燃料供給ラインと、
を備えている
固体燃料粉砕装置。
続きを表示(約 630 文字)
【請求項2】
各前記噴出部は、前記包囲領域で旋回する搬送ガスの流れ方向に沿った向きに気体を噴出する
請求項1に記載の固体燃料粉砕装置。
【請求項3】
複数の前記出口ポートは、前記円周方向に並んで配置され、
各前記噴出部は、前記円周方向に並んで配置され、かつ、前記円周方向において隣り合う前記出口ポート間に配置されている
請求項1に記載の固体燃料粉砕装置。
【請求項4】
各前記噴出部から噴出される気体は搬送ガスとされている
請求項1に記載の固体燃料粉砕装置。
【請求項5】
請求項1に記載の固体燃料粉砕装置と、
粉砕燃料を燃焼装置で燃焼して蒸気を生成する前記ボイラと、
を備えている
ボイラ設備。
【請求項6】
請求項1に記載の固体燃料粉砕装置の運転方法であって、
各前記噴出部から噴出する気体の方向及び各前記噴出部から噴出する気体の流量の少なくともいずれか1つを調節する
固体燃料粉砕装置の運転方法。
【請求項7】
各前記微粉燃料供給ラインを流れる粉砕燃料の量を把握し、
各前記微粉燃料供給ラインを流れる粉砕燃料の流量に基づいて、各前記噴出部から噴出する気体の方向及び各前記噴出部から噴出する気体の流量の少なくともいずれか1つを調節する
請求項6に記載の固体燃料粉砕装置の運転方法。
発明の詳細な説明
【技術分野】
【0001】
本開示は、固体燃料粉砕装置及びボイラ設備並びに固体燃料粉砕装置の運転方法に関する。
続きを表示(約 1,600 文字)
【背景技術】
【0002】
バイオマス燃料や石炭等の固体燃料は、粉砕機(ミル)で所定粒径以下の微粉状に粉砕された状態で、微粉燃料供給ラインを介して、ボイラの燃焼装置へ供給される。
ミルは、粉砕テーブルへ投入された固体燃料を、粉砕テーブルと粉砕ローラの間に挟み込んで粉砕し、粉砕燃料(粉砕されて微粉状となった固体燃料)のうち所定粒径以下の微粉燃料を選別する設備である。微粉燃料は、搬送ガス(一次空気)とともに複数の微粉燃料供給ラインを介してミルからボイラへ搬送される。
ボイラは、搬送された微粉燃料を燃焼装置で燃焼させることで燃焼ガスを生成し、生成された燃焼ガスと水との熱交換によって蒸気を発生させる設備である。
火力発電プラントでは、ボイラで発生した蒸気で蒸気タービンを回転駆動して、蒸気タービンに接続された発電機を回転駆動することで発電が行われる。
【0003】
ボイラに設けられたバーナでの燃焼を安定化させるために、各微粉燃料供給ラインに微粉燃料が均一に供給されることが好ましい。
例えば特許文献1には、ロータリセパレータの内部に、羽根及び支持部材に支持される環状部材を設けることで微粉炭管への粉体流体の均等分配性を向上させることが記載されている。
【先行技術文献】
【特許文献】
【0004】
特開2016-112519号公報
【発明の概要】
【発明が解決しようとする課題】
【0005】
しかしながら、特許文献1の構造では、微粉燃料を微粉燃料供給ライン毎に均一に供給する細かな調節が難しい場合が想定される。そのため、各微粉燃料供給ラインに微粉燃料が均一に供給されるよう調整できることが望まれる。
【0006】
本開示は、このような事情に鑑みてなされたものであって、各微粉燃料供給ラインに供給される微粉燃料の量を均一にすることができる固体燃料粉砕装置及びボイラ設備並びに固体燃料粉砕装置の運転方法を提供することを目的とする。
【課題を解決するための手段】
【0007】
上記課題を解決するために、本開示の固体燃料粉砕装置及びボイラ設備並びに固体燃料粉砕装置の運転方法は、以下の手段を採用する。
【0008】
本開示の一態様に係る固体燃料粉砕装置は、ハウジングと、前記ハウジングの内部に設けられ、鉛直方向に延在する中心軸線の回りに回転する回転テーブルと、前記ハウジングの内部に設けられ、固体燃料を前記回転テーブルとの間で噛み込んで粉砕して粉砕燃料にする粉砕ローラと、粉砕燃料を搬送するための搬送ガスを前記ハウジングの内部に供給する搬送ガス供給ラインと、前記ハウジングの内部に設けられ、前記鉛直方向に延在するとともに前記中心軸線を中心とした円周方向に並んで配置された複数のブレードを有し、搬送ガスとともに導かれた粉砕燃料を分級する回転式分級部と、前記円周方向に並んで配置された複数の前記ブレードに包囲された包囲領域に気体を噴出する複数の噴出部と、前記回転式分級部で分級された所定粒径以下の粉砕燃料を搬送ガスと共に前記ハウジングの複数の出口ポートを介して前記包囲領域からボイラへ供給する複数の微粉燃料供給ラインと、を備えている。
【0009】
また、本開示の一態様に係るボイラ設備は、固体燃料粉砕装置と、粉砕燃料を燃焼装置で燃焼して蒸気を生成するボイラと、を備えている。
【0010】
また、本開示の一態様に係る固体燃料粉砕装置の運転方法は、固体燃料粉砕装置の運転方法であって、各前記噴出部から噴出する気体の方向及び各前記噴出部から噴出する気体の流量の少なくともいずれか1つを調節する。
【発明の効果】
(【0011】以降は省略されています)
この特許をJ-PlatPat(特許庁公式サイト)で参照する
関連特許
三菱重工業株式会社
加熱装置
2日前
三菱重工業株式会社
皮膜形成装置
9日前
三菱重工業株式会社
超音波探傷方法
9日前
三菱重工業株式会社
ポンプシステム
9日前
三菱重工業株式会社
メタン酸化触媒装置
9日前
三菱重工業株式会社
ガスタービン制御方法
2日前
三菱重工業株式会社
炭化炉及びその制御方法
9日前
三菱重工業株式会社
バーナ及びこれを備えたボイラ
9日前
三菱重工業株式会社
バーナ及びこれを備えたボイラ
9日前
三菱重工業株式会社
燃料噴射装置および往復動内燃機関
3日前
三菱重工業株式会社
水素製造システム及び水素製造方法
9日前
三菱重工業株式会社
渦電流探傷装置、及び渦電流探傷方法
9日前
三菱重工業株式会社
洗浄装置、分離システム及び洗浄方法
9日前
三菱重工業株式会社
電解セルカートリッジおよびその製造方法
4日前
三菱重工業株式会社
電解モジュールの冷却方法及び電解システム
9日前
三菱重工業株式会社
接着剤の膜厚測定方法、および接合部材の製造方法
4日前
三菱重工業株式会社
経路設定方法、移動体、管理システム及びプログラム
4日前
三菱重工業株式会社
制御装置、CO2回収装置、制御方法及びプログラム
2日前
三菱重工業株式会社
劣化判定装置、劣化判定システム、および、劣化判定方法
2日前
三菱重工業株式会社
タービン架台及びタービン装置並びにタービン架台の製造方法
9日前
三菱重工業株式会社
粉砕テーブル及び固体燃料粉砕装置並びに粉砕テーブルの補修方法
9日前
三菱重工業株式会社
制御装置、ガスタービンの燃料供給系統、制御方法及びプログラム
5日前
三菱重工業株式会社
船舶の積み付け計画作成装置、船舶の積み付け計画作成方法、およびプログラム
2日前
三菱重工業株式会社
熱電併給用蒸気生成システム及び熱電併給システム並びに熱電併給用蒸気生成方法
9日前
三菱重工業株式会社
ガスタービン制御装置、ガスタービン制御方法、及び、ガスタービン制御プログラム
5日前
三菱重工業株式会社
放射性廃棄物収納用セパレータ、放射性廃棄物収納容器および放射性廃棄物収納方法
5日前
三菱重工業株式会社
炭素強度演算装置、これを用いた合成燃料製造プラント、炭素強度演算方法及び炭素強度演算プログラム
9日前
三菱重工業株式会社
CO2回収装置用蒸気生成システム及びこれを備えたCO2回収装置並びにCO2回収装置用蒸気生成方法
9日前
古河ロックドリル株式会社
破砕機
20日前
古河ロックドリル株式会社
破砕機
20日前
株式会社大晃
ゴムシート粉砕装置
20日前
個人
気泡緩衝材減容装置
2日前
個人
気泡緩衝材減容装置
2日前
個人
粉砕乾燥用蒸気ジェット噴射装置
2日前
日本化学工業株式会社
湿式粉砕方法
20日前
井関農機株式会社
籾摺選別機
2日前
続きを見る
他の特許を見る