TOP
|
特許
|
意匠
|
商標
特許ウォッチ
Twitter
他の特許を見る
公開番号
2025141000
公報種別
公開特許公報(A)
公開日
2025-09-29
出願番号
2024040687
出願日
2024-03-15
発明の名称
モップカバー
出願人
個人
代理人
個人
,
個人
主分類
A47L
13/256 20060101AFI20250919BHJP(家具;家庭用品または家庭用設備;コーヒーひき;香辛料ひき;真空掃除機一般)
要約
【課題】窓ガラスの清掃時に窓枠ギリギリまでを清掃でき、且つ迅速な清掃が可能なモップ用のモップカバーを提供する。
【解決手段】 略長方形の袋状をなし、長手方向に延びるとともに前記長手方向に垂直な幅方向に開閉する開口部を有するカバー本体を備え、前記開口部に、横方向に延びる棒状のヘッド部の中央から縦方向に延出する棒状の柄部を備えたT字状の支持部材の前記ヘッド部を着脱自在に差し入れて使用するモップカバーであって、前記開口部に前記支持部材のヘッド部を差し入れた状態で前記開口部を閉塞する閉塞手段と、幅方向の両端辺が前記長手方向に延びる第1固着線によって前記カバー本体の内壁に固着された内壁布とを備え、前記ヘッド部を差し入れた状態で、カバー本体内部における前記内壁布と前記折り返し部の間に空隙部を有することを特徴とするモップカバー。
【選択図】図3
特許請求の範囲
【請求項1】
略長方形の袋状をなし、長手方向に延びるとともに前記長手方向に垂直な幅方向に開閉する開口部を有するカバー本体を備え、前記開口部に、横方向に延びる棒状のヘッド部の中央から縦方向に延出する棒状の柄部を備えたT字状の支持部材の前記ヘッド部を着脱自在に差し入れて使用するモップカバーであって、
前記開口部に前記支持部材のヘッド部を差し入れた状態で前記開口部を閉塞する閉塞手段と、
幅方向の両端辺が前記長手方向に延びる第1固着線によって前記カバー本体の内壁に固着された内壁布と、
を備え、
前記ヘッド部を差し入れた状態で、カバー本体内部における前記内壁布と前記折り返し部の間に空隙部を有することを特徴とするモップカバー。
続きを表示(約 630 文字)
【請求項2】
前記内壁布は、前記第1固着線よりも幅方向の内側において前記長手方向に延びる第2固着線により前記カバー本体に固着されている請求項1に記載のモップカバー。
【請求項3】
前記閉塞手段が、面ファスナーを用いたものであり、前記開口部を挟んで、前記幅方向に対向する第1面ファスナー、及び第2面ファスナーを有し、
前記第1面ファスナーは、両面にフック又はループの一方が設けられたシート片からなるとともに基端側の端辺が前記開口部の幅方向の一方の端縁に固着されてなり、
前記第2面ファスナーは、互いに対向する面にフック又はループの他方が設けられるとともに、基端側の端辺が前記開口部の幅方向の他方の端縁に固着されて先端側が冊子状に開閉可能に設けられた2枚のシート片からなり、
前記第1面ファスナーを前記第2面ファスナーの2つのシート片で挟持するようにして、前記第1面ファスナーを前記第2面ファスナーに固着する請求項1、又は請求項2記載のモップカバー。
【請求項4】
前記閉塞手段が、前記長手方向に沿って2組設けられ、当該2組の閉塞手段が、前記開口部の中心について、第1面ファスナーと第2面ファスナーの位置関係が点対称になっている請求項3記載のモップカバー。
【請求項5】
前記生地がパイル生地と織物又は編物からなる別の生地を重ねたものである請求項1、又は請求項2記載のモップカバー。
発明の詳細な説明
【技術分野】
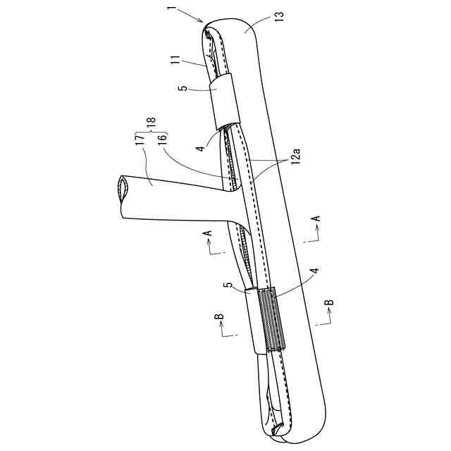
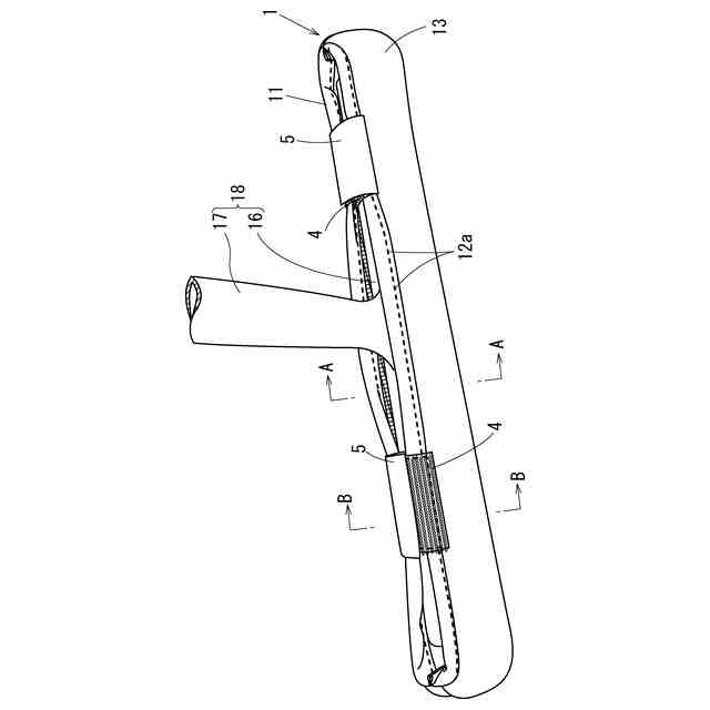
【0001】
この発明は、窓ガラスの清掃に際して手作業での清掃用具として用いるウインドウモップのモップカバーに関するものであり、特に、T字状の支持部材先端の横棒状のヘッド部にモップカバーを被せ、該支持部材の基端側の縦棒状の柄部を把持して清掃を行うウインドウモップのモップカバーに関するものである。
続きを表示(約 1,900 文字)
【背景技術】
【0002】
建物の窓ガラスの清掃を手作業で行う際にはウインドウモップが使われる。一例として特許文献1(特開2012-40286号公報)に記載されているように、モップカバーは袋状の両端と側面の一側半分がとじられて、側面の他側半分に開口部が設けられたものである。このモップカバーの開口部から支持部材の横棒状のヘッド部を差し込み、開口部分を閉じることによって装着される。開口部を閉じる手段としては面ファスナーやフックが用いられる。
【先行技術文献】
【特許文献】
【0003】
特開2012-40286号公報
【発明の概要】
【発明が解決しようとする課題】
【0004】
しかし、特許文献1のようなウインドウモップでは、窓ガラスの窓枠に近い部分に清掃残しが生じるという問題がある。このような清掃残しが何故生じるかと言うと次のような理由である。つまり、モップカバーにヘッド部を装着するとモップの清掃面は略円柱の側面となる、模式的に言うと窓ガラス(垂直面)を円柱状のモップの側面(円周部)で清掃する事になるが、窓ガラス(垂直面)と窓枠(水平面)の交線付近にはモップ清掃面が当接しないため(図6-a参照)、十分に清掃出来ずに清掃残しが生じる。
【0005】
本発明はこのような状況を鑑みてなされたものであり、窓ガラスを清掃するウインドウモップにおいて、窓ガラスの窓枠との境界までを清掃する事が出来、かつ効率よく清掃が可能なウインドウモップのモップカバーの提供を目的とする。
【課題を解決するための手段】
【0006】
上記課題を解決するためになされた発明は、略長方形の袋状をなし、長手方向に延びるとともに前記長手方向に垂直な幅方向に開閉する開口部を有するカバー本体を備え、前記開口部に、横方向に延びる棒状のヘッド部の中央から縦方向に延出する棒状の柄部を備えたT字状の支持部材の前記ヘッド部を着脱自在に差し入れて使用するモップカバーである。
【0007】
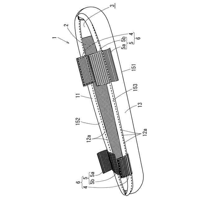
本発明のモップカバーは、前記開口部に前記支持部材のヘッド部を差し入れた状態で前記開口部を閉塞する閉塞手段と、幅方向の両端辺が前記長手方向に延びる第1固着線によって前記カバー本体の内壁に固着された内壁布と、を備え、前記ヘッド部を差し入れた状態で、カバー本体内部における前記内壁布と前記折り返し部の間に空隙部を有することを特徴とする。
【0008】
本発明のモップカバーは、内側に内壁布を備えることで、モップカバーに柄部のヘッドを挿入・固着した時に、ヘッド部の円柱形状がモップカバーに反映されることがなくなり、結果としてモップ洗浄部の断面がV字型になる。そのV字型の先端部分を利用することで窓を清掃した際に窓枠ギリギリまできれいにすることができる(図6-b)。また、通常の断面が丸いモップカバーと異なり摺動時にモップカバーが清掃対象に当接する部分の面積が広くなるので、速やかに清掃が可能となる。
【0009】
本発明のモップカバーは、前記内壁布は、前記第1固着線よりも幅方向の内側において前記長手方向に延びる第2固着線により前記カバー本体に固着されていることが好ましい。このような構成とすることで、モップカバーにヘッドが挿入された時に、内壁布の第2固着線が互いに近接するように動き、内壁布が本体を内側に引っ張る力が働き、V字型のモップカバーの形状がよりしっかりと保持される。
【0010】
また、前記閉塞手段が、面ファスナーを用いたものであり、前記開口部を挟んで、前記開口部の長辺における対称位置に設けられる第1面ファスナー、及び第2面ファスナーを有し、前記第1面ファスナーは、両面にフック又はループの一方が設けられたシート片からなるとともに基端側の端辺が前記開口部の一方の長辺に固着されてなり、前記第2面ファスナーは、互いに対向する面にフック又はループの他方が設けられるとともに、基端側の端辺が前記開口部の他方の長辺に固着されて冊子状に開閉可能に設けられた2枚のシート片からなり、前記第1面ファスナーを前記第2面ファスナーの2つのシート片で挟持するようにして、前記第1面ファスナーを前記第2面ファスナーに固着するモップカバーとすることも好ましい。面ファスナーを利用した固着は使用状況によっては、固着状態が緩んだり、外れたりする事も有るが、このような態様とすることで固着が強固となる。
(【0011】以降は省略されています)
この特許をJ-PlatPat(特許庁公式サイト)で参照する
関連特許
個人
箸
4日前
個人
家具
3か月前
個人
椅子
1か月前
個人
掃除機
7か月前
個人
自助箸
5か月前
個人
体洗い具
9か月前
個人
掃除用具
2か月前
個人
ハンガー
6か月前
個人
掃除道具
7か月前
個人
耳拭き棒
10か月前
個人
屋外用箒
6か月前
個人
枕
4か月前
個人
枕
7か月前
個人
多用途紐
1日前
個人
ソファー
29日前
個人
開閉トング
5か月前
個人
掃除シート
8か月前
個人
物品
2か月前
個人
組立式棚板
6か月前
個人
エコ掃除機
11か月前
個人
省煙消臭器
7か月前
個人
片手代替具
10か月前
個人
ゴミ袋保持枠
6か月前
個人
中身のない枕
6か月前
個人
靴ベラ
1か月前
個人
転倒防止装置
4か月前
個人
バターナイフ
4日前
個人
シャワー装置
5か月前
個人
紙コップ 蓋
1か月前
個人
洗面台
9か月前
個人
受け皿
4か月前
個人
経典表示装置
3か月前
個人
矯正用枕
3か月前
個人
食事用具
11か月前
個人
汚水漏れ防止具
9か月前
個人
汚水汚れ防止具
9か月前
続きを見る
他の特許を見る