TOP
|
特許
|
意匠
|
商標
特許ウォッチ
Twitter
他の特許を見る
公開番号
2025143507
公報種別
公開特許公報(A)
公開日
2025-10-01
出願番号
2025118596,2023525444
出願日
2025-07-14,2021-11-03
発明の名称
エアロゾル発生装置
出願人
深せん市合元科技有限公司
,
SHENZHEN FIRST UNION TECHNOLOGY CO.,LTD.
代理人
SK弁理士法人
,
個人
,
個人
主分類
A24F
40/40 20200101AFI20250924BHJP(たばこ;葉巻たばこ;紙巻たばこ;喫煙具)
要約
【課題】断熱層によりヒータの放射による熱伝達を減少させることができ、ヒータ外に設けられた断熱管が熱の外部への伝達をさらに防止することができ、エアロゾル発生装置のケーシング温度が高過ぎることによってユーザが手をやけどしそうに熱いと感じることを避けることができ、ユーザ体験を向上させるエアロゾル発生装置を提供する。
【解決手段】本出願は、喫煙具の分野に関し、エアロゾル形成基質を受け入れるためのキャビティと、前記キャビティ内に受け入れられたエアロゾル形成基質を加熱するためのヒータと、前記ヒータ外に設けられた断熱管であって、前記キャビティの径方向に設けられた内管及び外管を有し、前記内管と前記外管との間に密閉空間が形成され、前記密閉空間内にガスが充填されている断熱管と、前記ヒータと前記断熱管との間に設けられた断熱層と、を含む、エアロゾル発生装置を提供する。
【選択図】図5
特許請求の範囲
【請求項1】
エアロゾル形成基質を加熱して喫煙用のエアロゾルを発生させるためのエアロゾル発生装置であって、
エアロゾル形成基質を受け入れるためのキャビティと、
前記キャビティ内に受け入れられたエアロゾル形成基質を加熱するためのヒータと、
前記ヒータ外に設けられた断熱管であって、前記キャビティの径方向に設けられた内管及び外管を有し、前記内管と前記外管が密閉空間を形成し、前記密閉空間内にガスが充填されている断熱管と、
を含み、前記内管の管肉厚は前記外管の管肉厚よりも小さい、エアロゾル発生装置。
続きを表示(約 940 文字)
【請求項2】
前記ヒータと前記断熱管との間に設けられた断熱層をさらに含む、請求項1に記載のエアロゾル発生装置。
【請求項3】
前記ガスは不活性ガス、空気、二酸化炭素のうちの少なくとも1つである、請求項1又は2に記載のエアロゾル発生装置。
【請求項4】
前記断熱層は前記ヒータ外を被覆するエアロゲル層を含む、請求項2に記載のエアロゾル発生装置。
【請求項5】
前記密閉空間の前記キャビティの軸方向における延在長さは、前記エアロゲル層の前記キャビティの軸方向における延在長さよりも大きい、請求項4に記載のエアロゾル発生装置。
【請求項6】
前記エアロゲル層と前記断熱管との間には、前記キャビティの軸方向に延在する隙間がある、請求項4に記載のエアロゾル発生装置。
【請求項7】
前記ヒータの両端にそれぞれ嵌着される第1エンドキャップ及び第2エンドキャップをさらに備え、
前記ヒータ、前記断熱管、前記第1エンドキャップ、及び前記第2エンドキャップの間は密閉チャンバを形成し、前記断熱層が前記密閉チャンバ内に設けられる、請求項2に記載のエアロゾル発生装置。
【請求項8】
前記第1エンドキャップは前記キャビティの径方向に延在する第1突起部を有し、前記第2エンドキャップは前記キャビティの径方向に延在する第2突起部を有し、
前記断熱管の両端はそれぞれ前記第1突起部及び前記第2突起部に当接する、請求項7に記載のエアロゾル発生装置。
【請求項9】
第1シール部材及び第2シール部材をさらに備え、
前記第1シール部材は前記ヒータの一端と前記第1エンドキャップとの間に設けられ、前記第2シール部材は前記ヒータの他端と前記第2エンドキャップとの間に設けられる、請求項8に記載のエアロゾル発生装置。
【請求項10】
前記ヒータは、
表面を有する基体と、
前記表面に設けられ、赤外線を発生させて前記キャビティ内に受け入れられたエアロゾル形成基質を放射加熱するための赤外線放射器と、を含む、請求項1又は2に記載のエアロゾル発生装置。
発明の詳細な説明
【技術分野】
【0001】
(関連出願の相互参照)
本出願は、2020年11月03日に中国特許局に出願された、出願番号202022498844.7、名称「エアロゾル発生装置」の中国特許出願の優先権を主張し、その全ては参照によって本出願に組み込まれる。
続きを表示(約 2,000 文字)
【0002】
本出願の実施例は喫煙具の技術分野に関し、特にエアロゾル発生装置に関する。
【背景技術】
【0003】
紙巻タバコや葉巻タバコ等の喫煙品は、使用中にタバコを燃焼させて煙を発生させるものである。燃焼せずに化合物を放出する製品を製造することによって、タバコを燃焼させるこれらの製品に代わるものを提供する試みがなされている。そのような製品の例として、タバコを燃焼ではなく加熱することによって化合物を放出するいわゆる加熱非燃焼式製品がある。
【0004】
従来の加熱非燃焼式の喫煙具は、喫煙中にケーシング温度が高いことによって、喫煙者が手をやけどしそうに熱いと感じやすく、ユーザ体験に悪影響が出てしまう。この問題を避けるために、一般的には真空管を採用して断熱を行い、真空の熱伝導率が低いという特徴を利用して加熱キャビティ内の熱の外部への伝達を減少させることが行われている。しかしながら、真空管内の真空度が高く、内外圧力差に耐える管壁を必要とするため、真空管壁の厚さが大きく、且つ、その材質選択には一定の制限がある。
【発明の概要】
【0005】
本出願は、ケーシング温度が高いことによって喫煙者が手をやけどしそうに熱いと感じやすいという従来の喫煙具の問題を解決するために、エアロゾル発生装置を提供する。
【0006】
本出願は、エアロゾル形成基質を加熱して喫煙用のエアロゾルを発生させるためのエアロゾル発生装置であって、
エアロゾル形成基質を受け入れるためのキャビティと、
前記キャビティ内に受け入れられたエアロゾル形成基質を加熱するためのヒータと、
前記ヒータ外に設けられた断熱管であって、前記キャビティの径方向に設けられた内管及び外管を有し、前記内管と前記外管との間に密閉空間が形成され、前記密閉空間内にガスが充填されている断熱管と、
前記ヒータと前記断熱管との間に設けられた断熱層と、を含む、エアロゾル発生装置を提供する。
【0007】
本出願で提供されるエアロゾル発生装置は、断熱層によりヒータの放射による熱伝達を減少させることができ、ヒータ外に設けられた断熱管が熱の外部への伝達をさらに防止することができ、エアロゾル発生装置のケーシング温度が高過ぎることによってユーザが手をやけどしそうに熱いと感じることを避け、ユーザ体験を向上させる。
【図面の簡単な説明】
【0008】
1つ又は複数の実施例についてはそれに対応する図面中の図によって例示的に説明するが、これらの例示的説明は実施例を限定するものではなく、図面において同じ参照用数字符号を付けた素子/モジュール及び工程は類似的な素子/モジュール及び工程であることを示し、特に断らない限り、図面中の図は比例を制限するものではない。
本出願の実施形態で提供されるエアロゾル発生装置の模式図である。
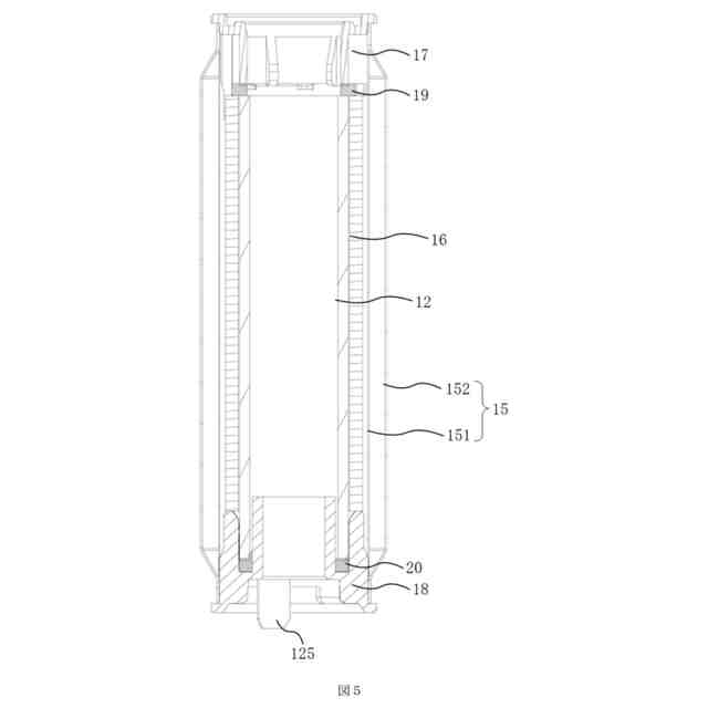
本出願の実施形態で提供されるエアロゾル発生装置の断面模式図である。
本出願の実施形態で提供されるヒータの模式図である。
本出願の実施形態で提供される電極接続部材の模式図である。
本出願の実施形態で提供されるエアロゾル発生装置の一部の部品を取り除いた後の断面模式図である。
本出願の実施形態で提供される第1エンドキャップの模式図である。
本出願の実施形態で提供される第2エンドキャップの模式図である。
【発明を実施するための形態】
【0009】
本出願を容易に理解するために、以下、図面及び具体的な実施形態を参照しながら本出願をより詳しく説明する。説明すべきことは、素子が別の素子「に固定される」と称する場合に、直接的に別の素子にあってもよく、又はそれらの間に1つ又は複数の介在的な素子が存在してもよい点である。素子が別の素子「に接続される」と称する場合に、直接的に別の素子に接続されてもよく、又はそれらの間に1つ又は複数の介在的な素子が存在してもよい。本明細書で使用される用語「上」、「下」、「左」、「右」、「内」、「外」及び類似の表現は、単に説明のためのものに過ぎない。
【0010】
他に定義されない限り、本明細書で使用される全ての技術用語及び科学用語は本出願の技術分野に属する当業者によって一般的に理解されるのと同じ意味を有する。本出願の明細書で使用される用語は単に具体的な実施形態を説明するためのものに過ぎず、本出願を限定するものではない。本明細書で使用される用語「及び/又は」は、1つ又は複数の関連する列挙された項目の任意及び全ての組み合わせを含む。
(【0011】以降は省略されています)
この特許をJ-PlatPat(特許庁公式サイト)で参照する
関連特許
深せん市合元科技有限公司
エアロゾル発生装置
19日前
深せん市合元科技有限公司
低温ベーク型喫煙具
6か月前
深セン市合瑞生物科技有限公司
檳榔子の風味の製品
9か月前
深セン市合瑞生物科技有限公司
組成物およびその製品
5か月前
深せん市合元科技有限公司
電子タバコ、電子タバコ用アトマイザ及び噴霧化アセンブリ
9か月前
株式会社ルック
携帯用灰皿
6か月前
個人
ヒートスティック除去具
3か月前
日本たばこ産業株式会社
香味吸引物品
1か月前
個人
電子タバコの加熱素子
3か月前
日本たばこ産業株式会社
香味発生物品
1か月前
個人
フレーバ用ブースター器具およびシーシャ装置
3か月前
日本たばこ産業株式会社
喫煙システム
2か月前
日本たばこ産業株式会社
口腔用組成物
2か月前
東莞市佳かい精密金属制品有限公司
充電可能な電子タバコケース
3か月前
Future Technology株式会社
エアロゾル吸引カートリッジ
1か月前
日本たばこ産業株式会社
香味吸引システム
2か月前
日本たばこ産業株式会社
香味吸引システム
2か月前
エム・クリエイト株式会社
灰皿装置及び灰皿管理システム
4か月前
日本たばこ産業株式会社
低香味原料を含むたばこセグメント
1か月前
日本たばこ産業株式会社
非燃焼加熱型香味吸引物品用フィルタ
5か月前
日本たばこ産業株式会社
たばこ原料の製造方法およびたばこ原料
6か月前
日本たばこ産業株式会社
粒状再生セルロースを含有する口腔用組成物
2か月前
日本たばこ産業株式会社
香味発生物品および香味吸引システム
2か月前
Future Technology株式会社
エアロゾル吸引カートリッジ用のエアロゾル形成部材
6か月前
日本たばこ産業株式会社
電子装置
2か月前
日本たばこ産業株式会社
吸引器
2か月前
Future Technology株式会社
喫煙器具
1か月前
Future Technology株式会社
芳香基材
3か月前
日本たばこ産業株式会社
たばこ材料、その製造方法、および非燃焼加熱型喫煙物品
1か月前
Future Technology株式会社
芳香カートリッジ
5日前
Future Technology株式会社
芳香カートリッジ
4か月前
Future Technology株式会社
芳香カートリッジ
5か月前
Future Technology株式会社
芳香カートリッジ
3か月前
Future Technology株式会社
芳香カートリッジ
6か月前
Future Technology株式会社
芳香カートリッジ
3か月前
Future Technology株式会社
タバコ充填物集積体
1か月前
続きを見る
他の特許を見る