TOP
|
特許
|
意匠
|
商標
特許ウォッチ
Twitter
他の特許を見る
公開番号
2025145977
公報種別
公開特許公報(A)
公開日
2025-10-03
出願番号
2024046521
出願日
2024-03-22
発明の名称
前板調整ジョイント及びこれを備えた引出し
出願人
南部化成株式会社
代理人
個人
,
個人
,
個人
主分類
A47B
88/95 20170101AFI20250926BHJP(家具;家庭用品または家庭用設備;コーヒーひき;香辛料ひき;真空掃除機一般)
要約
【課題】引出し本体に対する前板の傾きを容易且つ確実に調整可能な前板調整ジョイント及びこれを備えた引出しを提供する。
【解決手段】前板調整ジョイント1は、前板2と、底板51と側板53と前記前板の背面2aと対向する前面板57を有する引出し本体5との間に備えられ、前板2の傾きを調整可能であり、前板2の背面2aに固定される可動板10と、引出し本体5の前面板57に固定される固定板20とを有し、可動板10の一端側が固定板20に回動可能に連結され、固定板20の他端側が可動板10との間隔を調整可能に係止されることにより、引出し本体5に対する前板2の仰角方向の傾きを調整可能とする。引出し6は、前板調整ジョイント1により前板2と引出し本体5を連結して構成される。
【選択図】図4
特許請求の範囲
【請求項1】
前板と、底板、側板及び前記前板の背面と対向する前面板を有する引出し本体と、の間に備えられ、前記前板の傾きを調整可能な前板調整ジョイントであって、
前記前板調整ジョイントは、前記前板の背面に固定される可動板と、前記引出し本体の前記前面板に固定される固定板と、を有し、前記可動板の一端側が前記固定板の一端側に回動可能に連結され、前記回動により前記固定板の他端側と前記可動板との間隔を変えて係止されることにより、前記引出し本体に対する前記前板の仰角方向の傾きを調整することを特徴とする前板調整ジョイント。
続きを表示(約 440 文字)
【請求項2】
前記可動板の前記一端側に軸受部を有し、前記軸受部が前記固定板の前記一端側に設けられる固定軸に回動可能に連結されている請求項1に記載の前板調整ジョイント。
【請求項3】
前記可動板の前記他端側に回動可能に設けられる前板調整用ボルトが、前記固定板の前記他端側に形成されている前板調整用ネジ孔に螺合することによって、前記固定板の前記他端側と前記可動板との間隔を調整可能とする請求項2に記載の前板調整ジョイント。
【請求項4】
前記可動板の前記他端側は、前記他端側が解放され且つ前記可動板の長尺方向に長径方向が位置する長孔を備え、
前記前板調整用ボルトは、前記長孔に回動可能に挿着されている請求項3に記載の前板調整ジョイント。
【請求項5】
前板と、引出し本体とを備え、請求項1乃至4のうちのいずれか1項に記載の前板調整ジョイントにより前記前板及び前記引出し本体が連結されていることを特徴とする引出し。
発明の詳細な説明
【技術分野】
【0001】
本発明は、前板調整ジョイント及びこれを備えた引出しに関する。更に詳しくは、引出し本体に対する前板の仰角方向の傾きを容易且つ確実に調整可能な前板調整ジョイント及びこれを備えた引出しに関する。
続きを表示(約 3,500 文字)
【背景技術】
【0002】
洗面化粧台やキッチン等のキャビネットの引出しの前板は、通常位置調整が必要であるため、設置場所で引出し本体の前面板に取り付けられる。引出しの前板は、引出し本体に対して左右、上下方向に対しては、例えば引出し本体に設けた長孔等に対してボルト等でスライド固定することにより調整可能である。
また、前板又は引出し本体がうつ伏せ又は仰向けとなる前後方向(仰角方向)に傾いた状態で設置されることによって、他の引出しの前板等と均一な面を構成されていないことがある。前記状態を解消するために、全体として平坦となるように引出しに対する前後方向への傾きの調整をすることも要請される。
ここで、引出し本体に対する前板の傾きを調整する技術が開示されている(例えば、特許文献1参照。)。
この特許文献1に記載の前板調整具は、前板の背面に固定される固定部と、固定部に対し略平行状をなす可動部と、可動部に形成されたネジ孔に螺合されて固定部に向かって延びるネジとを備え、ネジを回してネジの先端を固定部に押し付けたときに可動部が引出し本体の側板の前端を後方側へ押すように構成されている。すなわち、適宜ネジを回して傾き角度を調整できる。
【先行技術文献】
【特許文献】
【0003】
特開2010-153502号公報
【発明の概要】
【発明が解決しようとする課題】
【0004】
しかしながら、特許文献1に記載の前板調整具は、可動部が引出し本体の側板の前端を後方側へ押す際に、変形することになるため、弾性変形可能な材質で形成する必要がある。また、ねじ頭が大きく露出するため、美観に優れない。
【0005】
本発明は、上記の課題に鑑みなされたものであり、引出し本体に対する前板の傾きを容易且つ確実に調整可能な前板調整ジョイント及びこれを備えた引出しを提供することを目的とする。
【課題を解決するための手段】
【0006】
本発明は、以下の通りである。
1.前板と、底板、側板及び前記前板の背面と対向する前面板を有する引出し本体と、の間に備えられ、前記前板の傾きを調整可能な前板調整ジョイントであって、
前記前板調整ジョイントは、前記前板の背面に固定される可動板と、前記引出し本体の前記前面板に固定される固定板と、を有し、前記可動板の一端側が前記固定板の一端側に回動可能に連結され、前記回動により前記固定板の他端側と前記可動板との間隔を変えて係止されることにより、前記引出し本体に対する前記前板の仰角方向の傾きを調整することを特徴とする前板調整ジョイント。
2.前記可動板の前記一端側に軸受部を有し、前記軸受部が前記固定板の前記一端側に設けられる固定軸に回動可能に連結されている前記1.に記載の前板調整ジョイント。
3.前記可動板の前記他端側に回動可能に設けられる前板調整用ボルトが、前記固定板の前記他端側に形成されている前板調整用ネジ孔に螺合することによって、前記固定板の前記他端側と前記可動板との間隔を調整可能とする前記2.に記載の前板調整ジョイント。
4.前記可動板の前記他端側は、前記他端側が解放され且つ前記可動板の長尺方向に長径方向が位置する長孔を備え、
前記前板調整用ボルトは、前記長孔に回動可能に挿着されている前記3.に記載の前板調整ジョイント。
5.前板と、引出し本体とを備え、前記1.乃至4.のうちのいずれか1項に記載の前板調整ジョイントにより前記前板及び前記引出し本体が連結されていることを特徴とする引出し。
【発明の効果】
【0007】
本発明の前板調整ジョイントによれば、前板の背面に固定される可動板と、引出し本体の前面板に固定される固定板とを有し、可動板の一端側が固定板の一端側に回動可能に連結され、回動により固定板の他端側と可動板との間隔を変えて係止されることにより、記引出し本体に対する前板の仰角方向の傾きを調整とするため、引出し本体に対する前板の仰角方向の傾きを容易且つ確実に調整可能である。また、回動により固定板の他端側と可動板との間隔を変えることができることにより、固定板及び可動板を変形させる必要がないため、樹脂等の変形により大きく劣化する材質であっても本前板調整ジョイントを作製することができる。
可動板の前記一端側に軸受部を有し、前記軸受部が前記固定板の前記一端側に設けられる固定軸に回動可能に連結されている場合には、固定軸が支点となって可動板を回動させることができるため、前板の傾きを更に確実に調整可能である。
前記可動板の前記他端側に回動可能に設けられる前板調整用ボルトが、前記固定板の前記他端側に形成されている前板調整用ネジ孔に螺合することによって、前記固定板の前記他端側と前記可動板との間隔を調整可能とする場合には、更に螺合を用いた簡易な構造で前板の傾きを容易且つ確実に調整可能である。また、前板調整用ボルトの頭部が可動板部分に配置されることによって固定板から突出することがなく、突起等が少ない優れた美観とすることができる。
前記前板調整用ボルトは、可動板の長孔に回動可能に挿着されている場合には、可動板の回動に伴う前板調整用ボルトの向きのずれを長孔の位置ずれによって解消でき、且つ前板から前板調整ジョイントを取り外すことなく、前板調整用ボルトの交換を容易に行うことができる。
本発明の前板調整ジョイントにより前板と引出し本体を連結した引出しによれば、引出し本体に対する前板の傾きを含む位置調整を容易且つ確実に調整することができる。
【図面の簡単な説明】
【0008】
本発明について、本発明による典型的な実施形態の非限定的な例を挙げ、言及された複数の図面を参照しつつ以下の詳細な記述にて更に説明するが、同様の参照符号は図面のいくつかの図を通して同様の部品を示す。
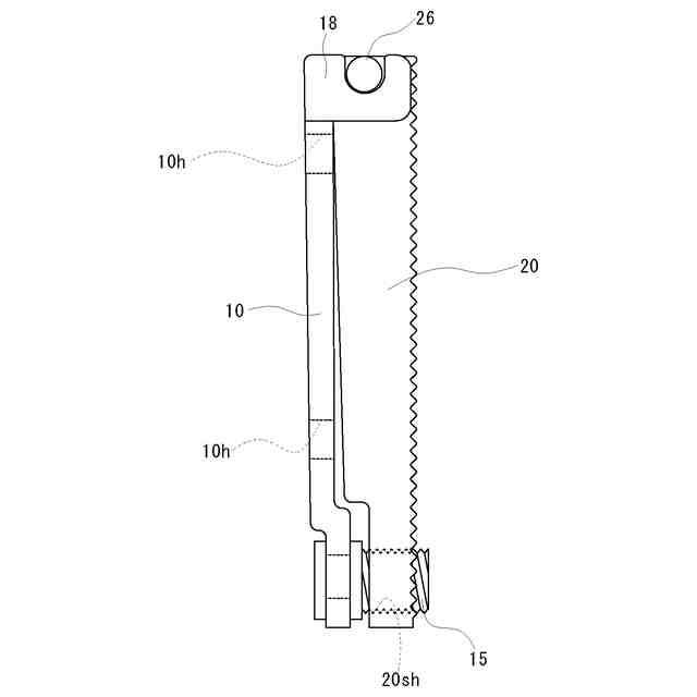
実施形態に係る前板調整ジョイントの模式的な斜視図である。
実施形態に係る前板調整ジョイントの模式的な構成斜視図である。
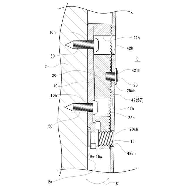
実施形態に係る前板調整ジョイントにおいて、前板調整用ボルトを前板調整用ネジ孔に螺合した状態の模式的な側面図である。
実施形態に係る前板調整ジョイントを前板と引出し本体に連結した構成を示す模式的な断面図である。
図4の状態から前板調整用ボルトを回動させて前板の仰角方向の傾きを大きくした状態を示す模式的な断面図である。
実施形態に係る前板調整ジョイントを前板と引出し本体に連結した構成を示す模式的な平面図である。
実施形態に係る前板調整ジョイントを前板と引出し本体に連結した構成において、前板調整ジョイントを引出し本体側から見た模式的な背面図である。
実施形態に係り、前板調整ジョイントを取り付けた引出し本体と前板を示す模式的な斜視図である。
【発明を実施するための形態】
【0009】
ここで示される事項は例示的なもの及び本発明の実施形態を例示的に説明するためのものであり、本発明の原理と概念的な特徴とを最も有効に且つ難なく理解できる説明であると思われるものを提供する目的で述べたものである。この点で、本発明の根本的な理解のために必要である程度以上に本発明の構造的な詳細を示すことを意図してはおらず、図面と合わせた説明によって本発明の幾つかの形態が実際にどのように具現化されるかを当業者に明らかにするものである。
【0010】
以下、図を参照しながら、本発明の前板調整ジョイント及び引出しを詳しく説明する。
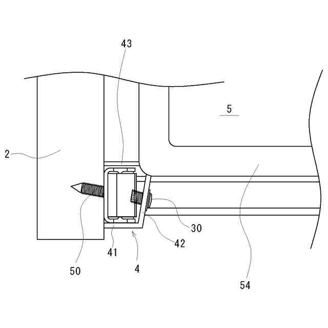
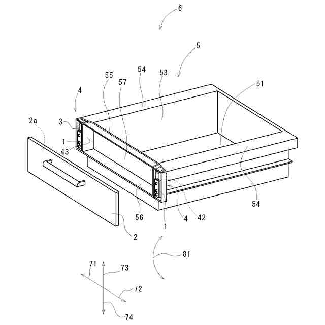
本引出し6は、図8に例示するように、前板2と、引出し本体5と、前板2と引出し本体5の間に設けられる前板調整ジョイント1とを備える。
前板調整ジョイント1は、図1~図4に示すように、前板2の背面2aに固定される可動板10と、引出し本体5の前面板57に固定される固定板20とを有し、可動板10の一端側が固定板20の一端側に回動可能に連結されている。そして、固定板20の他端側が可動板10との間隔を調整可能に係止されることにより、引出し本体5に対する前板2の仰角方向(図4及び図8に示す方向81を参照。)の傾きを調整可能に構成されている。
(【0011】以降は省略されています)
この特許をJ-PlatPat(特許庁公式サイト)で参照する
関連特許
南部化成株式会社
プリズムアレイの製造方法
1か月前
南部化成株式会社
前板調整ジョイント及びこれを備えた引出し
8日前
個人
椅子
1か月前
個人
家具
3か月前
個人
自助箸
5か月前
個人
掃除機
7か月前
個人
枕
4か月前
個人
枕
7か月前
個人
掃除道具
7か月前
個人
掃除用具
2か月前
個人
屋外用箒
6か月前
個人
体洗い具
9か月前
個人
ソファー
22日前
個人
耳拭き棒
9か月前
個人
ハンガー
5か月前
個人
省煙消臭器
7か月前
個人
組立式棚板
6か月前
個人
掃除シート
8か月前
個人
エコ掃除機
10か月前
個人
物品
1か月前
個人
片手代替具
10か月前
個人
開閉トング
5か月前
個人
中身のない枕
6か月前
個人
ゴミ袋保持枠
5か月前
個人
シャワー装置
4か月前
個人
転倒防止装置
3か月前
個人
紙コップ 蓋
1か月前
個人
靴ベラ
1か月前
個人
洗面台
9か月前
個人
経典表示装置
3か月前
個人
折り畳み椅子
12か月前
個人
受け皿
4か月前
個人
首支持具
2か月前
個人
コーナーシール
8か月前
個人
矯正用枕
2か月前
個人
簡易防災トイレ
12日前
続きを見る
他の特許を見る