TOP
|
特許
|
意匠
|
商標
特許ウォッチ
Twitter
他の特許を見る
公開番号
2025149143
公報種別
公開特許公報(A)
公開日
2025-10-08
出願番号
2024049604
出願日
2024-03-26
発明の名称
聴音装置
出願人
日鉄テックスエンジ株式会社
代理人
個人
主分類
G01H
17/00 20060101AFI20251001BHJP(測定;試験)
要約
【課題】聴音装置で計測した振動信号を情報端末装置でデジタル信号として保存するとともに、この振動信号を計測時にリアルタイムに聴けるようにする。
【解決手段】対象物に接触させて固体伝播音響を振動信号として計測する聴音装置100であって、振動信号を検出する振動検出部101と、前記振動検出部101で検出した振動信号をデジタル信号に変換するAD変換部102と、前記AD変換部102で変換したデジタル信号を出力するデジタル信号出力系統104と、前記AD変換部102で変換する前のアナログ信号を出力するアナログ信号出力系統105とを備える。
【選択図】図1
特許請求の範囲
【請求項1】
対象物に接触させて固体伝播音響を振動信号として計測する聴音装置であって、
振動信号を検出する振動検出部と、
前記振動検出部で検出した振動信号をデジタル信号に変換するAD変換部と、
前記AD変換部で変換したデジタル信号を出力するデジタル信号出力系統と、
前記AD変換部で変換する前のアナログ信号を出力するアナログ信号出力系統とを備えることを特徴とする聴音装置。
続きを表示(約 430 文字)
【請求項2】
前記振動検出部で検出した振動信号を増幅する増幅部を備え、
前記AD変換部は、前記増幅部で増幅した振動信号をデジタル信号に変換し、
前記アナログ信号出力系統は、前記増幅部で増幅した振動信号を出力することを特徴とする請求項1に記載の聴音装置。
【請求項3】
前記振動検出部で検出した振動信号に、所定の周波数帯を抽出するフィルタ処理を施すフィルタを備え、
前記AD変換部は、前記フィルタでフィルタ処理した振動信号をデジタル信号に変換することを特徴とする請求項1又は2に記載の聴音装置。
【請求項4】
デジタル信号を入力するデジタル信号入力系統と、
前記デジタル信号入力系統で入力したデジタル信号をアナログ信号に変換するDA変換部とを備え、
前記アナログ信号出力系統は、前記DA変換部で変換したアナログ信号を出力可能であることを特徴とする請求項1又は2に記載の聴音装置。
発明の詳細な説明
【技術分野】
【0001】
本発明は、対象物に接触させて固体伝播音響を振動信号として計測する聴音装置に関する。
続きを表示(約 1,600 文字)
【背景技術】
【0002】
回転機械等の機械の異常検査として、機械の動作音を確認する手法がある。この異常検査に、機械に接触させて固体伝播音響を振動信号として計測する聴音装置が利用されることがある(例えば特許文献1、2を参照)。
【先行技術文献】
【特許文献】
【0003】
特開2000-186957号公報
実用新案登録第3054185号公報
【発明の概要】
【発明が解決しようとする課題】
【0004】
近年では、ADコンバータを内蔵し、計測した振動信号をデジタル信号に変換して出力する聴音装置が提供されている。この聴音装置を、デジタル端子を備える汎用のスマートフォンやタブレット端末等の情報端末装置に接続して録音する(聴音装置で計測した振動信号をデジタル信号として保存する)といった使い方が可能である。情報端末装置で保存したデジタル信号を後から再生、確認したり、他の情報端末装置に送信することにより複数人(例えば現場の作業員と熟練者や管理者)で共有したりすることが可能になる。
【0005】
しかしながら、情報端末装置では、音響デバイスを一つしか認識できない仕様になっていることがある。これは、ハウリング(例えばスピーカ~マイク間を音響信号が循環、増幅する現象)の対策として有効だからである。そのため、情報端末装置で二つ以上の音響デバイスを認識できず、聴音装置で計測した振動信号を情報端末装置でデジタル信号として保存するときには、この振動信号を計測時にリアルタイムに聴くことができず、情報端末装置で保存したデジタル信号を後から再生、確認する必要があった。
【0006】
本発明は上記のような点に鑑みてなされたものであり、聴音装置で計測した振動信号を情報端末装置でデジタル信号として保存するとともに、この振動信号を計測時にリアルタイムに聴けるようにすることを目的とする。
【課題を解決するための手段】
【0007】
本発明の聴音装置は、対象物に接触させて固体伝播音響を振動信号として計測する聴音装置であって、振動信号を検出する振動検出部と、前記振動検出部で検出した振動信号をデジタル信号に変換するAD変換部と、前記AD変換部で変換したデジタル信号を出力するデジタル信号出力系統と、前記AD変換部で変換する前のアナログ信号を出力するアナログ信号出力系統とを備えることを特徴とする。
【発明の効果】
【0008】
本発明によれば、聴音装置で計測した振動信号を情報端末装置でデジタル信号として保存するとともに、この振動信号を計測時にリアルタイムに聴けるようになる。
【図面の簡単な説明】
【0009】
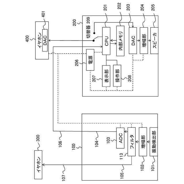
第1の実施形態に係る聴音装置及び情報端末装置の機能構成を示す図である。
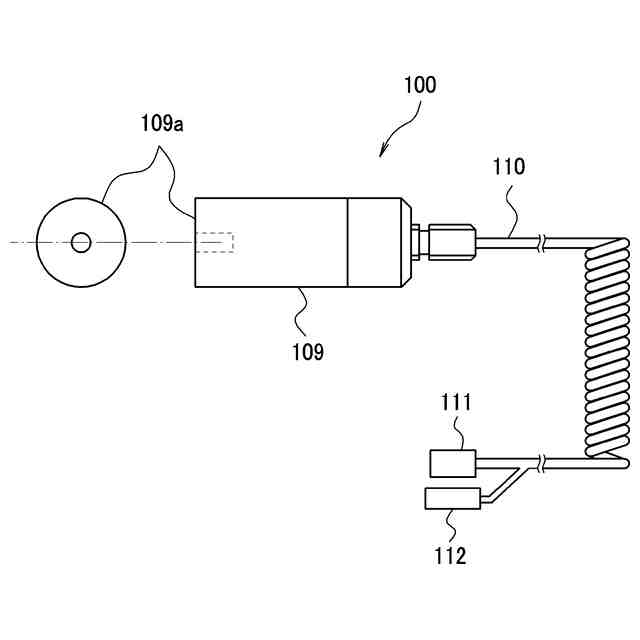
第1の実施形態に係る聴音装置の外観構成の例を示す図である。
第2の実施形態に係る聴音装置及び情報端末装置の機能構成を示す図である。
第3の実施形態に係る聴音装置及び情報端末装置の機能構成を示す図である。
第3の実施形態に係る聴音装置及び情報端末装置の変形例の機能構成を示す図である。
【発明を実施するための形態】
【0010】
以下、添付図面を参照して、本発明の好適な実施形態について説明する。
[第1の実施形態]
図1に、第1の実施形態に係る聴音装置100及び情報端末装置200の機能構成を示す。図1では、信号経路を実線で表し、電源供給経路を点線で表す。また、図2に、第1の実施形態に係る聴音装置100の外観構成の例を示す。なお、聴音装置100は、聴音器、聴音センサ、聴診装置、聴診器、聴診センサ、振動計、振動センサ等とも呼ばれる。
(【0011】以降は省略されています)
この特許をJ-PlatPat(特許庁公式サイト)で参照する
関連特許
個人
メジャー文具
11日前
個人
高精度同時多点測定装置
3日前
個人
アクセサリー型テスター
4日前
日本精機株式会社
位置検出装置
17日前
ユニパルス株式会社
ロードセル
10日前
日本精機株式会社
位置検出装置
17日前
日本精機株式会社
位置検出装置
17日前
大和製衡株式会社
組合せ秤
22日前
大和製衡株式会社
組合せ秤
22日前
アズビル株式会社
圧力センサ
16日前
株式会社ヨコオ
ソケット
10日前
エイブリック株式会社
磁気センサ回路
16日前
株式会社ユーシン
操作検出装置
19日前
ダイキン工業株式会社
監視装置
8日前
株式会社チノー
放射光測温装置
10日前
トヨタ自動車株式会社
検査装置
19日前
株式会社東芝
センサ
22日前
株式会社東芝
センサ
22日前
株式会社ヨコオ
ソケット
9日前
トヨタ自動車株式会社
監視装置
9日前
ローム株式会社
半導体装置
2日前
長崎県
形状計測方法
4日前
TDK株式会社
ガスセンサ
15日前
ローム株式会社
半導体装置
2日前
TDK株式会社
磁気センサ
9日前
株式会社東芝
重量測定装置
15日前
TDK株式会社
ガスセンサ
16日前
東レエンジニアリング株式会社
計量装置
19日前
TDK株式会社
ガスセンサ
10日前
三菱マテリアル株式会社
温度センサ
11日前
三恵技研工業株式会社
融雪レドーム
9日前
日本特殊陶業株式会社
センサ
8日前
多摩川精機株式会社
冗長エンコーダ
9日前
中国電力株式会社
電柱管理システム
8日前
日本特殊陶業株式会社
センサ
8日前
ダイハツ工業株式会社
移動支援装置
9日前
続きを見る
他の特許を見る