TOP
|
特許
|
意匠
|
商標
特許ウォッチ
Twitter
他の特許を見る
公開番号
2025150930
公報種別
公開特許公報(A)
公開日
2025-10-09
出願番号
2024052094
出願日
2024-03-27
発明の名称
冗長エンコーダ
出願人
多摩川精機株式会社
代理人
個人
主分類
G01D
5/244 20060101AFI20251002BHJP(測定;試験)
要約
【課題】一回転内の回転角度の検出、多回転量の検出、いずれをも冗長性を有して検出することのできるエンコーダを提供すること。
【解決手段】冗長エンコーダ100は、N極2ならびにS極3を各々2極以上有する磁界発生部5を備えていて、1/2回転以下の分解能で回転量を検出する第一回転検出部10、および第一回転検出部10よりも高い分解能で回転量を検出する第二回転検出部20を備えている構成とする。磁界発生部5には永久磁石を用いる。また第一回転検出部10は、大バルクハウゼン効果を有する磁気発電素子と、ホール効果または磁気抵抗効果を有する磁気検出素子とを備えて構成される。
【選択図】図1
特許請求の範囲
【請求項1】
N極ならびにS極を各々2極以上有する磁界発生部を備えていて1/2回転以下の分解能で回転量を検出する第一回転検出部と、および
該第一回転検出部よりも高い分解能で回転角度を検出する第二回転検出部とを備えており、
これにより、1回転内の回転角度および多回転量のいずれにおいても冗長性を有することを特徴とする、冗長エンコーダ。
続きを表示(約 1,200 文字)
【請求項2】
前記第一回転検出部は、大バルクハウゼン効果を有する磁気発電素子と、ホール効果または磁気抵抗効果を有する磁気検出素子とを備えていることを特徴とする、請求項1に記載の冗長エンコーダ。
【請求項3】
前記第一回転検出部からの出力信号を処理する第一信号処理回路、および前記第二回転検出部からの出力信号を処理する第二信号処理回路を備えていることを特徴とする、請求項2に記載の冗長エンコーダ。
【請求項4】
前記第二回転検出部および前記第二信号処理回路には外部電源が備えられていることを特徴とする、請求項3に記載の冗長エンコーダ。
【請求項5】
前記第二回転検出部が、光学式、磁気式、電磁誘導式、静電容量式、またはその他の方式の回転検出器であることを特徴とする、請求項1、2、3、4のいずれかに記載の冗長エンコーダ。
【請求項6】
前記第二回転検出部の分解能が1/4096回転以下であることを特徴とする、請求項1、2、3、4のいずれかに記載の冗長エンコーダ。
【請求項7】
前記第一回転検出部により得られる回転量T1から1/2回転以下の分解能の一回転内の回転角度T1sが検出され、
該回転量T1が積算されることにより多回転量T1mが検出され、
前記第二回転検出部により得られる回転角度T2から該第一回転検出部によるものよりも高分解能の一回転内の回転角度T2sが検出され、
該回転角度T2が積算されることにより多回転量T2mが検出される
ことを特徴とする、請求項1、2、3、4のいずれかに記載の冗長エンコーダ。
【請求項8】
前記回転角度T1sと前記回転角度T2sの比較により、
1回転内の回転角度を1/2回転以下の分解能で一致する冗長性をもって検出し、
前記多回転量T1mと前記多回転量T2mの比較により、
多回転量を1回転の分解能まで一致する冗長性をもって検出する
ことを特徴とする、請求項7に記載の冗長エンコーダ。
【請求項9】
前記第二回転検出部および前記第二信号処理回路には外部電源が備えられており、
前記第二回転検出部の分解能が1/4096回転以下であり、
前記回転角度T1sと前記回転角度T2sの比較により、
1回転内の回転角度を回転角度T2の分解能である1/4096回転以下で検出するとともに回転量T1の分解能である1/2回転以下まで冗長性をもって検出し、
前記多回転量T1mと前記多回転量T2mの比較により、
多回転量を1回転の分解能まで一致する冗長性をもって検出する
ことを特徴とする、請求項7に記載の冗長エンコーダ。
【請求項10】
前記回転角度T1sと前記回転角度T2sとを比較する比較手段を備えていることを特徴とする、請求項8、9のいずれかに記載の冗長エンコーダ。
(【請求項11】以降は省略されています)
発明の詳細な説明
【技術分野】
【0001】
本発明は冗長エンコーダに係り、特に、一回転内の回転角度および多回転量の検出における信頼性を高める技術に関するものである。
続きを表示(約 2,200 文字)
【背景技術】
【0002】
図7は、後掲特許文献1に開示されている1つの回転角度検出部を有する従来のエンコーダの構成および作用の要点を示す説明図である。図示するように本エンコーダ700は、単一の回転検出部720から構成されているため、これにより一回転内の回転角度が検出され、その積算量から多回転量が検出される。なお、回転検出部720からの出力信号は信号処理回路728に送られて、一回転内の回転角度が得られる。分解能は、たとえば1/4096回転以下である。また、回転検出部720および信号処理回路728は、外部電源729から電力供給を受ける。
【0003】
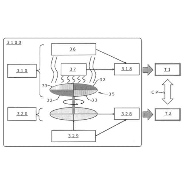
図8は、後掲特許文献2に開示されている2つの回転検出部を有する従来のエンコーダの構成および作用の要点を示す説明図である。図示するように本エンコーダ800は、一回転内の回転角度を検出する第二回転検出部820、多回転量を検出する第一回転検出部810、計二つの回転検出部を有して構成されているため、第二回転検出部820により一回転内の回転角度が検出され、一方、第一回転検出部810により多回転量が検出される。第二回転検出部820からの出力信号は第二信号処理回路828に送られて、一回転内の回転角度が得られる。分解能は、たとえば1/4096回転以下である。また、第二回転検出部820は外部電源829からの電力供給を受ける。
【0004】
第一回転検出部810は、磁気発電素子86、ホール効果または磁気抵抗効果を有する磁気検出素子87、およびN極とS極を有する磁界発生部85から構成されている。磁界発生部85は第二回転検出部820と同軸に設けられており、発生する磁界によって磁気発電素子86が発電するとともに、回転による磁界変化は磁気検出素子87により検出される。磁気検出素子87からの出力信号は第一信号処理回路818に送られて、多回転量が検出される。分解能は、1/1回転以下である。なお、第一回転検出部810には外部電源は無い。磁気発電素子86からの出力電圧が第一信号処理回路818に供給される。
【0005】
本エンコーダ800においては、外部電源829による電力供給がなされている状態で、1回転内の回転角度は第二回転検出部820における分解能で検出される。たとえば1/4096回転以下である。一方、多回転量については、第一回転検出部810による検出がなされることに加え、第二回転検出部820により検出される一回転内の回転角度の積算量からも得られる。つまり、多回転量は冗長性を有して検出される。
【先行技術文献】
【特許文献】
【0006】
実全平02-97619号公報「多回転絶対値エンコーダ」
特開2014-137233号公報「モータ」
【発明の概要】
【発明が解決しようとする課題】
【0007】
回転検出部が単一であるエンコーダ700は、一回転内の回転角度および多回転量を、冗長性を有して検出できない。また、回転検出部が二つであるエンコーダ800は、多回転量は冗長性を有して検出できるが、一回転内の回転角度は冗長性を有して検出できない。したがって、検出の信頼性を高める上で、いずれの従来技術にも限界があった。
【0008】
そこで本発明が解決しようとする課題は、かかる従来技術の問題点をなくし、一回転内の回転角度の検出、多回転量の検出、いずれをも冗長性を有して検出することのできるエンコーダを提供することである。
【課題を解決するための手段】
【0009】
本願発明者は上記課題について検討した。そして、上記二つの回転検出部からなる従来のエンコーダにおける第一回転検出部が、1極ずつのN極とS極によってのみ構成されていることが冗長性不備の理由となっていることに基づき、N極とS曲をそれぞれ2極以上有する磁界発生部とすることによって解決できることを見出し、これに基づいて本発明を完成するに至った。すなわち、上記課題を解決するための手段として本願で特許請求される発明、もしくは少なくとも開示される発明は、以下の通りである。
【0010】
〔1〕 N極ならびにS極を各々2極以上有する磁界発生部を備えていて1/2回転以下の分解能で回転量を検出する第一回転検出部と、および該第一回転検出部よりも高い分解能で回転角度を検出する第二回転検出部とを備えており、これにより、1回転内の回転角度および多回転量のいずれにおいても冗長性を有することを特徴とする、冗長エンコーダ。
〔2〕 前記第一回転検出部は、大バルクハウゼン効果を有する磁気発電素子と、ホール効果または磁気抵抗効果を有する磁気検出素子とを備えていることを特徴とする、〔1〕に記載の冗長エンコーダ。
〔3〕 前記第一回転検出部からの出力信号を処理する第一信号処理回路、および前記第二回転検出部からの出力信号を処理する第二信号処理回路を備えていることを特徴とする、〔2〕に記載の冗長エンコーダ。
〔4〕 前記第二回転検出部および前記第二信号処理回路には外部電源が備えられていることを特徴とする、〔3〕に記載の冗長エンコーダ。
(【0011】以降は省略されています)
この特許をJ-PlatPat(特許庁公式サイト)で参照する
関連特許
多摩川精機株式会社
冗長エンコーダ
今日
多摩川精機株式会社
リニアアクチュエータ
10日前
多摩川精機株式会社
ステータ構造及び回転電機
14日前
多摩川精機株式会社
接続端子およびモータステータ
6日前
多摩川精機株式会社
結線部材、ステータ構造、及び結線部材接続方法
今日
多摩川精機株式会社
電磁誘導式角度温度検出システム及び温度検出方法
2日前
多摩川精機株式会社
回転電機コア、電磁鋼板、回転電機ステータ、および回転電機
14日前
多摩川精機株式会社
C型クランプ構造付きエンコーダ、エンコーダフレーム、エンコーダ取付け構造、およびエンコーダ搭載モータ
22日前
個人
メジャー文具
2日前
日本精機株式会社
位置検出装置
8日前
日本精機株式会社
位置検出装置
8日前
ユニパルス株式会社
ロードセル
1日前
日本精機株式会社
位置検出装置
8日前
大和製衡株式会社
組合せ秤
13日前
大和製衡株式会社
組合せ秤
13日前
アズビル株式会社
圧力センサ
7日前
株式会社ヨコオ
ソケット
今日
トヨタ自動車株式会社
監視装置
今日
株式会社ヨコオ
ソケット
1日前
エイブリック株式会社
磁気センサ回路
7日前
株式会社ユーシン
操作検出装置
10日前
株式会社東芝
センサ
13日前
トヨタ自動車株式会社
表示装置
22日前
株式会社東芝
センサ
13日前
トヨタ自動車株式会社
検査装置
10日前
株式会社チノー
放射光測温装置
1日前
TDK株式会社
磁気センサ
今日
TDK株式会社
ガスセンサ
1日前
東レエンジニアリング株式会社
計量装置
10日前
株式会社ナリス化粧品
角層細胞採取用具
20日前
TDK株式会社
ガスセンサ
7日前
TDK株式会社
ガスセンサ
6日前
株式会社東芝
重量測定装置
6日前
個人
粘塑性を用いた有限要素法の定式化
22日前
ダイハツ工業株式会社
移動支援装置
今日
TDK株式会社
磁気計測装置
21日前
続きを見る
他の特許を見る