TOP
|
特許
|
意匠
|
商標
特許ウォッチ
Twitter
他の特許を見る
公開番号
2025148802
公報種別
公開特許公報(A)
公開日
2025-10-08
出願番号
2024049109
出願日
2024-03-26
発明の名称
ロードセル
出願人
ユニパルス株式会社
代理人
主分類
G01L
1/22 20060101AFI20251001BHJP(測定;試験)
要約
【課題】検出精度の向上を図った小型のロードセルを提供することを課題としている。
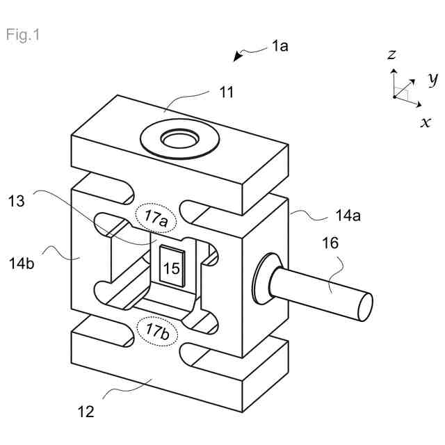
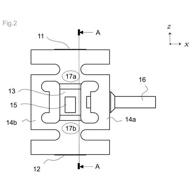
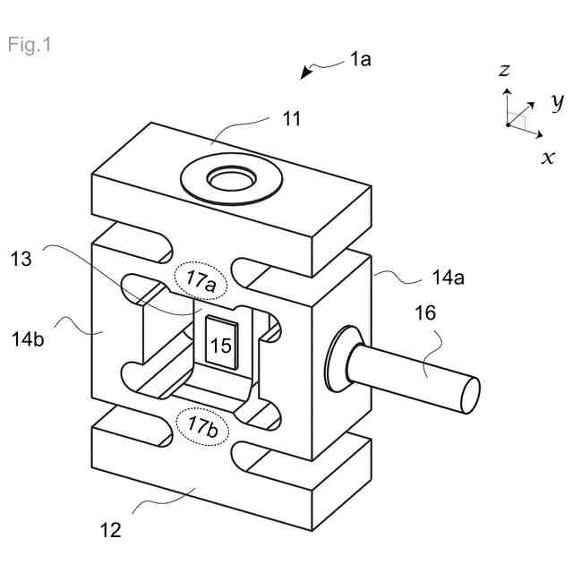
【解決手段】第1構造部11と、第2構造部12と、起歪部13と、連結部14a、14bと、感歪抵抗体15と、を有して単軸荷重を検出するロードセル1aであって、第1構造部11と第2構造部12と、は単軸荷重を起歪部13へ導入し、起歪部13は、第1構造部11と第2構造部12との中間に設けられ、荷重の印加によって弾性変形する薄肉部を有し、感歪抵抗体15は、薄肉部に添着されて単軸荷重による歪み量を検出し、連結部14a、14bは、単軸荷重の方向に交差する方向に薄肉部が変形するのを抑制し、起歪部13と離間して第1構造部11と第2構造部12とを連結する。
【選択図】図1
特許請求の範囲
【請求項1】
第1構造部と、第2構造部と、起歪部と、連結部と、感歪抵抗体と、を有して単軸荷重を検出するロードセルであって、
前記第1構造部と前記第2構造部と、は前記単軸荷重を前記起歪部へ導入し、
前記起歪部は、前記第1構造部と前記第2構造部との中間に設けられ、荷重の印加によって弾性変形する薄肉部を有し、
前記感歪抵抗体は、前記薄肉部に添着されて前記単軸荷重による歪み量を検出し、
前記連結部は、前記単軸荷重の方向に交差する方向に前記薄肉部が変形するのを抑制し、前記起歪部と離間して前記第1構造部と前記第2構造部とを連結するロードセル。
続きを表示(約 180 文字)
【請求項2】
前記連結部は、前記第1構造部と前記起歪部との結合部の近傍と、前記第2構造部と前記起歪部との結合部の近傍と、からそれぞれ分岐して、正面視で矩形若しくは円弧形のフレーム構造を有する請求項1に記載のロードセル。
【請求項3】
前記感歪抵抗体に接続されている配線ケーブルは、前記連結部に挿通及び固定されている請求項1に記載のロードセル。
発明の詳細な説明
【技術分野】
【0001】
本発明は、圧縮及び引張の荷重を測定するロードセルに関するものである。
続きを表示(約 1,300 文字)
【背景技術】
【0002】
引張及び圧縮の荷重を検出するロードセルが公知である。
【先行技術文献】
【特許文献】
【0003】
特開2001-264190号公報
特開2017-53727号公報
【発明の概要】
【発明が解決しようとする課題】
【0004】
特許文献1に代表されるS字型ロードセルが公知である。そしてこの検出部周囲の枠形状部は力の伝達が主目的であって、力を伝達し薄肉となっている起歪部を撓ませて力を検出する。このためこの枠形状部は検出する力の大きさに対応した十分な剛性と強度が必要となるが、起歪部の梁の曲げひずみでは大きなひずみが発生することから、大きな荷重の検出に対応することと小型化の両立は難しい。そこで剪断歪みの検出で小型化を図ったロードセル(特許文献2)があるが、起歪部周囲の厚肉の枠部が起歪部に影響を及ぼすことや、感歪抵抗体を貼る向きの誤差により、検出精度において改善の余地があった。
【0005】
このような問題に鑑みて、本発明は検出精度の向上を図った小型のロードセルを提供することを目的としている。
【課題を解決するための手段】
【0006】
本発明のロードセルは、上記の目的を達成するために、
第1構造部と、第2構造部と、起歪部と、連結部と、感歪抵抗体と、を有して単軸荷重を検出するロードセルであって、
第1構造部と第2構造部と、は単軸荷重を起歪部へ導入し、
起歪部は、第1構造部と第2構造部との中間に設けられ、荷重の印加によって弾性変形する薄肉部を有し、
感歪抵抗体は、薄肉部に添着されて単軸荷重による歪み量を検出し、
連結部は、単軸荷重の方向に交差する方向に薄肉部が変形するのを抑制し、起歪部と離間して第1構造部と第2構造部とを連結して構成されている。
【0007】
また、連結部は、第1構造部と起歪部との結合部の近傍と、第2構造部と起歪部との結合部の近傍と、からそれぞれ分岐して、正面視で矩形若しくは円弧形のフレーム構造で構成されている。
【0008】
また、感歪抵抗体に接続されている配線ケーブルは、連結部に挿通及び固定されて構成されている。
【発明の効果】
【0009】
本発明のロードセルによれば、 検出精度の向上を図った小型のロードセルを提供することができる。
【図面の簡単な説明】
【0010】
本発明の第1の実施形態に係るロードセルの外観斜視図である。
本発明の第1の実施形態に係るロードセルの正面図である。
本発明の第1、第2、第3の実施形態に係るロードセルの断面図である。
本発明の第2の実施形態に係るロードセルの外観斜視図である。
本発明の第2の実施形態に係るロードセルの正面図である。
本発明の第3の実施形態に係るロードセルの外観斜視図である。
本発明の第3の実施形態に係るロードセルの正面図である。
【発明を実施するための形態】
(【0011】以降は省略されています)
この特許をJ-PlatPat(特許庁公式サイト)で参照する
関連特許
ユニパルス株式会社
ロードセル
1日前
個人
メジャー文具
2日前
個人
計量スプーン
1か月前
ユニパルス株式会社
ロードセル
1日前
日本精機株式会社
位置検出装置
8日前
日本精機株式会社
位置検出装置
8日前
日本精機株式会社
位置検出装置
8日前
大和製衡株式会社
組合せ秤
13日前
大和製衡株式会社
組合せ秤
13日前
アズビル株式会社
圧力センサ
7日前
株式会社チノー
放射光測温装置
1日前
ダイハツ工業株式会社
測定用具
1か月前
トヨタ自動車株式会社
監視装置
今日
エイブリック株式会社
磁気センサ回路
7日前
トヨタ自動車株式会社
表示装置
22日前
株式会社ヨコオ
ソケット
1日前
アンリツ株式会社
分光器
1か月前
アンリツ株式会社
分光器
1か月前
トヨタ自動車株式会社
検査装置
10日前
株式会社ユーシン
操作検出装置
10日前
株式会社ヨコオ
ソケット
今日
株式会社東芝
センサ
13日前
株式会社東芝
センサ
13日前
TDK株式会社
磁気センサ
今日
株式会社ナリス化粧品
角層細胞採取用具
20日前
TDK株式会社
ガスセンサ
7日前
株式会社東芝
重量測定装置
6日前
TDK株式会社
ガスセンサ
6日前
TDK株式会社
ガスセンサ
1日前
個人
粘塑性を用いた有限要素法の定式化
22日前
東レエンジニアリング株式会社
計量装置
10日前
株式会社ヨコオ
コンタクタ
1か月前
TDK株式会社
磁気センサ
1か月前
株式会社関電工
検相器用治具
28日前
成田空港給油施設株式会社
保持治具
21日前
多摩川精機株式会社
冗長エンコーダ
今日
続きを見る
他の特許を見る