TOP
|
特許
|
意匠
|
商標
特許ウォッチ
Twitter
他の特許を見る
10個以上の画像は省略されています。
公開番号
2025149714
公報種別
公開特許公報(A)
公開日
2025-10-08
出願番号
2024050522
出願日
2024-03-26
発明の名称
ソケット
出願人
株式会社ヨコオ
代理人
個人
,
個人
主分類
G01R
1/073 20060101AFI20251001BHJP(測定;試験)
要約
【課題】プローブの短尺化が可能なソケットを提供する。
【解決手段】
第1面と、前記第1面の反対側の第2面と、前記第1面と前記第2面との間を貫通する第1貫通孔と、を有するハウジングと、
前記第1面に設けられ、前記第1貫通孔と連通する第2貫通孔を有する第1弾性シートと、
前記第1貫通孔および前記第2貫通孔に支持されたプローブと、を備え、
前記第1弾性シートは、前記第1貫通孔および前記第2貫通孔の延出方向から見て前記第1貫通孔の内縁部よりも内側に延在し、前記プローブに対して前記第1貫通孔からの抜けを抑制する抑制力を作用させる、
ソケット。
【選択図】図1
特許請求の範囲
【請求項1】
第1面と、前記第1面の反対側の第2面と、前記第1面と前記第2面との間を貫通する第1貫通孔と、を有するハウジングと、
前記第1面に設けられ、前記第1貫通孔と連通する第2貫通孔を有する第1弾性シートと、
前記第1貫通孔および前記第2貫通孔に支持されたプローブと、を備え、
前記第1弾性シートは、前記第1貫通孔および前記第2貫通孔の面垂直方向から見て前記第1貫通孔の内縁部よりも内側に延在し、前記プローブに対して前記第1貫通孔からの抜けを抑制する抑制力を作用させる、
ソケット。
続きを表示(約 780 文字)
【請求項2】
前記プローブは、前記第1貫通孔内に位置する部分に、前記第2貫通孔の周囲に引っかかり前記第1弾性シートから前記抑制力を受けることが可能な引っ掛かり部を有する、請求項1に記載のソケット。
【請求項3】
前記第1弾性シートは、前記第2貫通孔に連なるスリット部を有し、
前記スリット部は、前記第2貫通孔を広げながら前記プローブを前記第1貫通孔および前記第2貫通孔に対して挿抜することを可能とする、
請求項1または2に記載のソケット。
【請求項4】
前記第2面に設けられ、前記第1貫通孔と連通する第3貫通孔を有する第2弾性シートを備え、
前記第2弾性シートは、前記第1貫通孔および前記第3貫通孔の延出方向から見て前記第1貫通孔の内縁部よりも内側に延在し、前記プローブに対して前記第1貫通孔からの抜けを抑制する抑制力を作用させる、
請求項3に記載のソケット。
【請求項5】
前記第1面は、検査対象物側に臨む面である、請求項3に記載のソケット。
【請求項6】
前記プローブは、前記第2貫通孔から前記第1貫通孔とは反対側に突出した部分に、前記第1貫通孔内に位置する部分のうち外径が最大の部分よりも大きい外径の大径部を有する、請求項3に記載のソケット。
【請求項7】
前記プローブは、板ばねであり、
前記第2面は、検査用基板側に臨む面であり、
前記第1弾性シートは、前記第2貫通孔の周囲の部分により、前記引っ掛かり部を前記検査用基板側に向けて押圧し、前記プローブの先端部が検査対象物に接していない検査前状態において、前記プローブの基端部に対して前記検査用基板に対する接触力を付与する、
請求項2に記載のソケット。
発明の詳細な説明
【技術分野】
【0001】
本発明は、ソケットに関する。
続きを表示(約 1,500 文字)
【背景技術】
【0002】
ハウジングの貫通孔にプローブを支持した構造のソケットが、半導体デバイス等の検査に用いられる。
【先行技術文献】
【特許文献】
【0003】
特開2008-39496号公報
【発明の概要】
【発明が解決しようとする課題】
【0004】
本発明の目的の一例は、プローブの短尺化が可能なソケットを提供することにある。本発明の他の目的は、本明細書の記載から明らかになるであろう。
【課題を解決するための手段】
【0005】
本発明の一態様は、
第1面と、前記第1面の反対側の第2面と、前記第1面と前記第2面との間を貫通する第1貫通孔と、を有するハウジングと、
前記第1面に設けられ、前記第1貫通孔と連通する第2貫通孔を有する第1弾性シートと、
前記第1貫通孔および前記第2貫通孔に支持されたプローブと、を備え、
前記第1弾性シートは、前記第1貫通孔および前記第2貫通孔の延出方向から見て前記第1貫通孔の内縁部よりも内側に延在し、前記プローブに対して前記第1貫通孔からの抜けを抑制する抑制力を作用させる、
ソケットである。
【0006】
本発明の上記態様によれば、プローブの短尺化が可能なソケットを提供できる。
【図面の簡単な説明】
【0007】
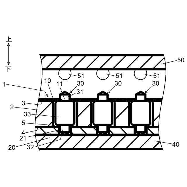
実施形態1に係るソケット1を検査用基板40および検査対象物50と共に示す断面図である。
比較例に係るソケット801を検査用基板40と共に示す断面図である。
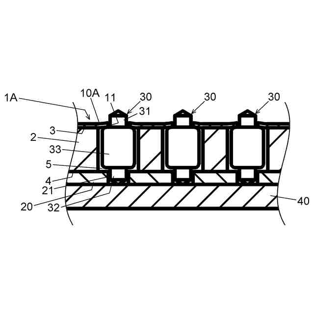
実施形態2における第1弾性シート10Aの平面図である。
実施形態2に係るソケット1Aを検査用基板40と共に示す断面図である。
(A)は、ソケット1Aにおいてプローブ30を挿抜する過程を示す断面図である。(B)は、図2に示す比較例に係るソケットにおいてプローブ830を挿抜する過程を示す断面図である。
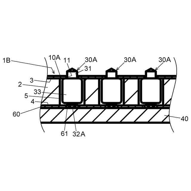
実施形態3に係るソケット1Bを検査用基板40と共に示す断面図である。
実施形態4に係るソケット1Cを検査用基板40と共に示す断面図である。
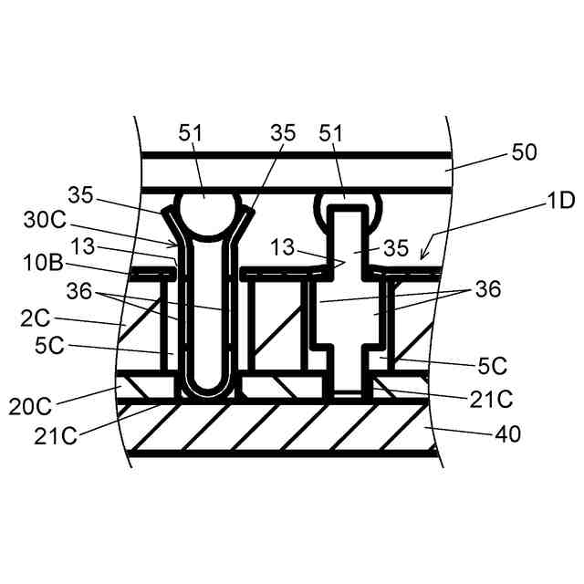
実施形態5に係るソケット1Dの平面図である。
ソケット1Dを検査用基板40および検査対象物50と共に示す断面図である。
【発明を実施するための形態】
【0008】
(実施形態1)
図1は、実施形態1に係るソケット1を検査用基板40および検査対象物50と共に示す断面図である。
【0009】
ソケット1は、半導体デバイス等の被測定デバイス50と図示しない検査装置側の検査用基板40との間の電気的接続に用いられる。ソケット1は、ハウジング2、第1弾性シート10、蓋部材20、およびプローブ30を備える。
【0010】
ハウジング2は、例えば非弾性で剛性を有する絶縁性硬質樹脂からなる。ハウジング2は、第1面3と、第1面3の反対側の第2面4と、第1面3と第2面4との間を貫通する第1貫通孔5と、を有する。第1面3は、検査対象物50側に臨む面である。第2面4は、検査用基板40側に臨む面である。第1面3と第2面4は互いに平行である。以下、第1面3及び第2面4と垂直な方向を「面垂直方向」と表記する。説明の便宜上、面垂直方向と平行な方向を図1に示すように上下方向と定義する。第1貫通孔5は、面垂直方向と平行に延びる。第1貫通孔5は、例えば切削加工で形成された丸穴である。
(【0011】以降は省略されています)
この特許をJ-PlatPat(特許庁公式サイト)で参照する
関連特許
株式会社ヨコオ
ソケット
1日前
株式会社ヨコオ
ソケット
2日前
株式会社ヨコオ
プローブカードの位置決め装置
2日前
個人
メジャー文具
3日前
個人
計量スプーン
1か月前
日本精機株式会社
位置検出装置
9日前
日本精機株式会社
位置検出装置
9日前
日本精機株式会社
位置検出装置
9日前
ユニパルス株式会社
ロードセル
2日前
大和製衡株式会社
組合せ秤
14日前
大和製衡株式会社
組合せ秤
14日前
アズビル株式会社
圧力センサ
8日前
アンリツ株式会社
分光器
1か月前
株式会社ユーシン
操作検出装置
11日前
トヨタ自動車株式会社
検査装置
11日前
トヨタ自動車株式会社
表示装置
23日前
株式会社東芝
センサ
14日前
エイブリック株式会社
磁気センサ回路
8日前
トヨタ自動車株式会社
監視装置
1日前
株式会社東芝
センサ
14日前
ダイハツ工業株式会社
測定用具
1か月前
株式会社チノー
放射光測温装置
2日前
株式会社ヨコオ
ソケット
1日前
株式会社ヨコオ
ソケット
2日前
TDK株式会社
磁気センサ
1か月前
個人
粘塑性を用いた有限要素法の定式化
23日前
株式会社東芝
重量測定装置
7日前
TDK株式会社
ガスセンサ
7日前
TDK株式会社
ガスセンサ
2日前
東レエンジニアリング株式会社
計量装置
11日前
株式会社ヨコオ
コンタクタ
1か月前
TDK株式会社
磁気センサ
1日前
TDK株式会社
ガスセンサ
8日前
株式会社ナリス化粧品
角層細胞採取用具
21日前
成田空港給油施設株式会社
保持治具
22日前
富士電機株式会社
半導体パッケージ
1か月前
続きを見る
他の特許を見る