TOP
|
特許
|
意匠
|
商標
特許ウォッチ
Twitter
他の特許を見る
10個以上の画像は省略されています。
公開番号
2025156313
公報種別
公開特許公報(A)
公開日
2025-10-14
出願番号
2025078999
出願日
2025-05-09
発明の名称
端末
出願人
株式会社NTTドコモ
代理人
弁理士法人ITOH
主分類
H04W
52/02 20090101AFI20251006BHJP(電気通信技術)
要約
【課題】端末は、低電力用信号のモニタリング機会のリソース構成に基づき、適切に低電力用信号のモニタリングを実行する。
【解決手段】端末は、低電力用信号のモニタリング機会において、前記低電力用信号のモニタリングを実行する受信部と、前記モニタリングを制御する制御部と、を備え、前記モニタリング機会は、前記低電力用信号のための使用可能リソース及び使用不可リソースを含み、前記制御部は、前記使用不可リソースの長さに基づき、前記使用可能リソースが前記低電力用信号の送信に使用されるかどうかを決定する。
【選択図】図6
特許請求の範囲
【請求項1】
低電力用信号のモニタリング機会において、前記低電力用信号のモニタリングを実行する受信部と、
前記モニタリングを制御する制御部と、を備え、
前記モニタリング機会は、前記低電力用信号のための使用可能リソース及び使用不可リソースを含み、
前記制御部は、前記使用不可リソースの長さに基づき、前記使用可能リソースが前記低電力用信号の送信に使用されるかどうかを決定する、端末。
続きを表示(約 500 文字)
【請求項2】
前記使用不可リソースの長さは、連続する使用不可リソースの長さである、請求項1に記載の端末。
【請求項3】
前記制御部は、前記連続する使用不可リソースの長さが所定の閾値より大きい場合、前記モニタリング機会における前記連続する使用不可リソースの前の前記使用可能リソースが前記低電力用信号の送信に使用されないと決定する、請求項2に記載の端末。
【請求項4】
前記制御部は、前記低電力用信号の送信に使用されないと決定された前記使用可能リソースの長さに基づき、前記モニタリング機会を変更する、請求項3に記載の端末。
【請求項5】
前記制御部は、前記連続する使用不可リソースの長さが所定の閾値より大きく、かつ前記連続する使用不可リソースが前記モニタリング機会の最初から始まる場合、前記使用可能リソースが前記低電力用信号の送信に使用されると決定する、請求項2に記載の端末。
【請求項6】
前記制御部は、前記連続する使用不可リソースの長さが所定の閾値より大きい場合、前記モニタリング機会が無効であると判断する、請求項2に記載の端末。
発明の詳細な説明
【技術分野】
【0001】
本発明は、無線通信システムにおける端末に関する。
続きを表示(約 2,000 文字)
【背景技術】
【0002】
3GPP(登録商標)(3rd Generation Partnership Project)では、端末の電力消費を低減するため、LP-WUS(Low Power Wake-Up Signal)に関する技術が検討されている。
【0003】
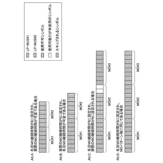
LP-WUSのモニタリング機会(Monitoring Occasion:MO)に関する構成として、使用可能シンボル及び使用不可シンボルを含む「名目MO継続時間(Nominal MO duration)」及び「実際のLP-WUS継続時間(Actual LP-WUS duration)」を含む構成が議論されている。
【先行技術文献】
【非特許文献】
【0004】
3GPP TS 38.300 V18.5.0(2025-03)
3GPP TS 38.401 V18.5.0(2025-03)
【発明の概要】
【発明が解決しようとする課題】
【0005】
しかしながら、従来、MO継続時間における構成によっては、使用不可リソースの前後の使用可能リソースがLP-WUS送信に使用できるかどうかを端末が適切に判断できず、無駄なモニタリングやLP-WUSの検出失敗につながるおそれがあった。
【課題を解決するための手段】
【0006】
本実施形態における端末は、低電力用信号のモニタリング機会において、前記低電力用信号のモニタリングを実行する受信部と、前記モニタリングを制御する制御部と、を備え、前記モニタリング機会は、前記低電力用信号のための使用可能リソース及び使用不可リソースを含み、前記制御部は、前記使用不可リソースの長さに基づき、前記使用可能リソースが前記低電力用信号の送信に使用されるかどうかを決定する。
【発明の効果】
【0007】
本実施形態によれば、端末は、低電力用信号のモニタリング機会のリソース構成に基づき、適切に低電力用信号のモニタリングを実行できる。
【図面の簡単な説明】
【0008】
本実施形態における無線通信システムの一例を示す図である。
名目MO継続時間及び実際のLP-WUS継続時間の構成例を示す図である。
名目MO継続時間及び実際のLP-WUS継続時間の構成例のそれぞれに対する名目MO継続時間及び実際のLP-WUS継続時間の適用方法を示す図である。
MOにおけるUL設定とLP-WUS用の未使用シンボルとの関係を示す図である。
名目MO継続時間におけるTDD UL設定とLP-WUSのための使用不可シンボルとの関係を示す図である。
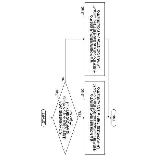
本実施形態の実施例1における端末により実行される動作手順の一例を示すフローチャートである。
実施例1における名目MO継続時間、使用可能シンボル、使用不可シンボル及び閾値Xの関係の一例を示す図である。
実施例1における名目MO継続時間、使用可能シンボル、使用不可シンボル及び閾値Xの関係の一例を示す図である。
本実施形態の実施例2における端末により実行される動作手順の一例を示すフローチャートである。
実施例2における名目MO継続時間、使用可能シンボル、使用不可シンボル及び閾値Xの関係の一例を示す図である。
本実施形態の実施例3における端末により実行される動作手順の一例を示すフローチャートである。
実施例3における名目MO継続時間、使用可能シンボル、使用不可シンボル及び閾値Xの関係の一例を示す図である。
本実施形態の実施例4における端末により実行される動作手順の一例を示すフローチャートである。
実施例4における名目MO継続時間、使用可能シンボル、使用不可シンボル及び閾値Yの関係の一例を示す図である。
本実施形態における基地局の機能構成の一例を示す図である。
本実施形態における端末の機能構成の一例を示す図である。
本実施形態における基地局又は端末のハードウェア構成の一例を示す図である。
【発明を実施するための形態】
【0009】
以下、図面を参照して本実施形態を説明する。なお、以下で説明する実施の形態は一例であり、本発明が適用される実施の形態は、以下の実施の形態に限られない。
【0010】
本実施形態の無線通信システムの動作にあたっては、適宜、既存技術が使用されてよい。当該既存技術は、例えば既存のNR(New Radio)又はLTEであるが、既存のNR又はLTEに限られない。
(【0011】以降は省略されています)
この特許をJ-PlatPat(特許庁公式サイト)で参照する
関連特許
株式会社NTTドコモ
端末
今日
株式会社NTTドコモ
端末
今日
株式会社NTTドコモ
端末
1日前
株式会社NTTドコモ
端末
1日前
株式会社NTTドコモ
端末
1日前
株式会社NTTドコモ
端末
今日
株式会社NTTドコモ
端末
今日
株式会社NTTドコモ
端末
今日
株式会社NTTドコモ
基地局
今日
株式会社NTTドコモ
デバイス
今日
株式会社NTTドコモ
デバイス
今日
株式会社NTTドコモ
デバイス
1日前
株式会社NTTドコモ
デバイス
1日前
株式会社NTTドコモ
デバイス
今日
株式会社NTTドコモ
端末及び基地局
今日
株式会社NTTドコモ
基地局及び端末
今日
株式会社NTTドコモ
端末及び基地局
今日
株式会社NTTドコモ
基地局及び端末
今日
株式会社NTTドコモ
端末及び基地局
今日
株式会社NTTドコモ
端末及び通信方法
今日
株式会社NTTドコモ
端末及び通信方法
今日
株式会社NTTドコモ
端末及び通信方法
今日
株式会社NTTドコモ
端末及び通信方法
今日
株式会社NTTドコモ
端末及び通信方法
今日
株式会社NTTドコモ
端末及び通信方法
今日
株式会社NTTドコモ
端末及び通信方法
1日前
株式会社NTTドコモ
端末及び通信方法
今日
株式会社NTTドコモ
端末及び通信方法
今日
株式会社NTTドコモ
端末及び通信方法
今日
株式会社NTTドコモ
端末及び通信方法
今日
株式会社NTTドコモ
端末及び通信方法
今日
株式会社NTTドコモ
端末及び通信方法
今日
株式会社NTTドコモ
端末及び通信方法
今日
株式会社NTTドコモ
端末及び通信方法
今日
株式会社NTTドコモ
端末及び通信方法
今日
株式会社NTTドコモ
端末及び通信方法
今日
続きを見る
他の特許を見る