TOP
|
特許
|
意匠
|
商標
特許ウォッチ
Twitter
他の特許を見る
公開番号
2025155904
公報種別
公開特許公報(A)
公開日
2025-10-14
出願番号
2025023334
出願日
2025-02-17
発明の名称
端末
出願人
株式会社NTTドコモ
代理人
個人
,
個人
主分類
H04W
24/10 20090101AFI20251006BHJP(電気通信技術)
要約
【課題】LTMにおけるイベントベースのMeasurement reportが導入された場合でも、他の端末(UE)への干渉を緩和できる端末を提供する。
【解決手段】端末は、下位レイヤでの測定報告の送信に必要となるセルまたはビームの検出数を指定するトリガ情報に基づいて、測定報告の送信の要否を判定し、測定報告の送信が必要と判定された場合、測定報告をネットワークに送信する。
【選択図】図6
特許請求の範囲
【請求項1】
下位レイヤでの測定報告の送信に必要となるセルまたはビームの検出数を指定するトリガ情報に基づいて、前記測定報告の送信の要否を判定する制御部と、
前記制御部によって前記測定報告の送信が必要と判定された場合、前記測定報告をネットワークに送信する送信部と
を備える端末。
続きを表示(約 380 文字)
【請求項2】
前記制御部は、前記下位レイヤによるモビリティ制御に関するイベントを満たすか否かに基づいて前記検出数を判定する請求項1に記載の端末。
【請求項3】
前記制御部は、前記測定報告の送信を禁止する禁止タイマが作動している場合、前記測定報告の送信を停止する請求項1に記載の端末。
【請求項4】
前記制御部は、前記ネットワークから前記禁止タイマの設定を指示された場合、前記禁止タイマを起動する請求項3に記載の端末。
【請求項5】
前記制御部は、前記検出数が規定値を超えた場合、前記禁止タイマを起動する請求項3に記載の端末。
【請求項6】
前記制御部は、前記ネットワークからの前記下位レイヤにおけるシグナリングに基づいて、前記禁止タイマを停止または再起動する請求項3に記載の端末。
発明の詳細な説明
【技術分野】
【0001】
本開示は、LTM(L1/L2 mobility)をサポートする端末に関する。
続きを表示(約 2,000 文字)
【背景技術】
【0002】
3rd Generation Partnership Project(3GPP:登録商標)は、5th generation mobile communication system(5G、New Radio(NR)またはNext Generation(NG)とも呼ばれる)を仕様化し、さらに、Beyond 5G、5G Evolution或いは6Gと呼ばれる次世代の仕様化も進めている。
【0003】
3GPP Release 18では、測定報告(Measurement report)のトリガに関して、端末(User Equipment, UE)が小型の無人航空機(UAV:Uncrewed Aerial VehicleまたはUnmanned Aerial Vehicle)に搭載される(以下、地上に位置する地上UEと区別するため、適宜UAV UEと呼ぶ)ことを考慮した動作が規定されている(非特許文献1)。
【0004】
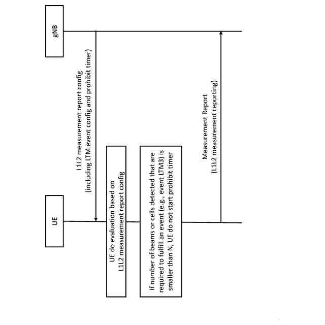
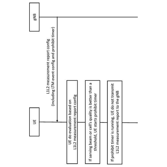
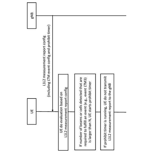
例えば、UAV UEは、上空では見通しが良好となるため、地上UEと比較してより多くの近隣セルに関するMeasurement reportを送信する可能性があり、当該Measurement reportの送信が地上UEに対する干渉となり得る。そこで、Measurement reportの頻繁な送信を防止するため、Measurement reportのトリガに必要となる近隣セルの数を指定するnumberOfTriggeringCellsが規定されている。
【0005】
また、Measurement reportのトリガに関して、UEの高度に基づいたイベントも規定されている。具体的には、Event H1及び Event H2が規定されている。さらに、UAV UEの高度とセル品質とが組み合わせられたイベントとして、Event A3H1, Event A4H1, Event A5H1なども規定されている。
【0006】
セル品質に関しては、レイヤ1/レイヤ2モビリティ(L1/L2 mobility)、具体的には、Lower layer Triggered Mobility(LTM)に関するイベント、具体的には、LTM2, LTM3, LTM4, LTM5についても合意されている(非特許文献2)。
【0007】
さらに、3GPP Release 19では、LTMにおけるイベントベースのMeasurement report(event-triggered L1 LTM measurement reporting、event triggered L1/L2 measurement reportingなどと呼ばれてもよい)についても同意されている(非特許文献3)。
【先行技術文献】
【非特許文献】
【0008】
3GPP TS 38.331 V18.4.0, 3rd Generation Partnership Project; Technical Specification Group Radio Access Network; NR; Radio Resource Control (RRC) protocol specification (Release 18)、3GPP、2024年12月
"Report of 3GPP TSG RAN WG2 meeting #126", R2-2406202, 3GPP TSG-RAN WG2 meeting #127, 3GPP, 2024年5月
"Report of 3GPP TSG RAN WG2 meeting #128", 3GPP TSG-RAN WG2 meeting #129, 3GPP, 2024年11月
【発明の概要】
【発明が解決しようとする課題】
【0009】
LTMにおけるイベントベースのMeasurement reportでは、これまでの上位レイヤでのMeasurement report(L3 measurement reporting)のように、フィルタリング(L3 filtering)による測定結果の平均化が適用されないため、特にUAV UEの場合、Measurement reportがさらに頻繁に送信され、地上UEに対してより大きな干渉を与える虞がある。
【0010】
そこで、以下の開示は、このような状況に鑑みてなされたものであり、LTMにおけるイベントベースのMeasurement reportが導入された場合でも、他の端末(UE)への干渉を緩和できる端末の提供を目的とする。
【課題を解決するための手段】
(【0011】以降は省略されています)
この特許をJ-PlatPat(特許庁公式サイト)で参照する
関連特許
株式会社NTTドコモ
端末
3日前
株式会社NTTドコモ
端末
2日前
株式会社NTTドコモ
端末
3日前
株式会社NTTドコモ
端末
2日前
株式会社NTTドコモ
端末
2日前
株式会社NTTドコモ
端末
3日前
株式会社NTTドコモ
端末
2日前
株式会社NTTドコモ
端末
3日前
株式会社NTTドコモ
端末
2日前
株式会社NTTドコモ
基地局
2日前
株式会社NTTドコモ
デバイス
3日前
株式会社NTTドコモ
デバイス
2日前
株式会社NTTドコモ
デバイス
3日前
株式会社NTTドコモ
デバイス
3日前
株式会社NTTドコモ
デバイス
2日前
株式会社NTTドコモ
デバイス
2日前
株式会社NTTドコモ
デバイス
3日前
株式会社NTTドコモ
リニアライザ
10日前
株式会社NTTドコモ
情報処理装置
9日前
株式会社NTTドコモ
端末及び基地局
2日前
株式会社NTTドコモ
装置および方法
15日前
株式会社NTTドコモ
基地局及び端末
2日前
株式会社NTTドコモ
端末及び基地局
2日前
株式会社NTTドコモ
基地局及び端末
2日前
株式会社NTTドコモ
端末及び基地局
2日前
株式会社NTTドコモ
端末及び通信方法
3日前
株式会社NTTドコモ
端末及び通信方法
3日前
株式会社NTTドコモ
端末及び通信方法
3日前
株式会社NTTドコモ
端末及び通信方法
3日前
株式会社NTTドコモ
端末及び通信方法
3日前
株式会社NTTドコモ
端末及び通信方法
3日前
株式会社NTTドコモ
端末及び通信方法
3日前
株式会社NTTドコモ
端末及び通信方法
3日前
株式会社NTTドコモ
端末及び通信方法
3日前
株式会社NTTドコモ
端末及び通信方法
3日前
株式会社NTTドコモ
端末及び通信方法
3日前
続きを見る
他の特許を見る