TOP
|
特許
|
意匠
|
商標
特許ウォッチ
Twitter
他の特許を見る
公開番号
2025162170
公報種別
公開特許公報(A)
公開日
2025-10-27
出願番号
2024065298
出願日
2024-04-15
発明の名称
RFタグシート
出願人
個人
代理人
主分類
G06K
19/077 20060101AFI20251020BHJP(計算;計数)
要約
【課題】RFタグに電波を放射するアンテナの向きとRFタグのアンテナの向きとがどのような関係になっても情報を送信する。
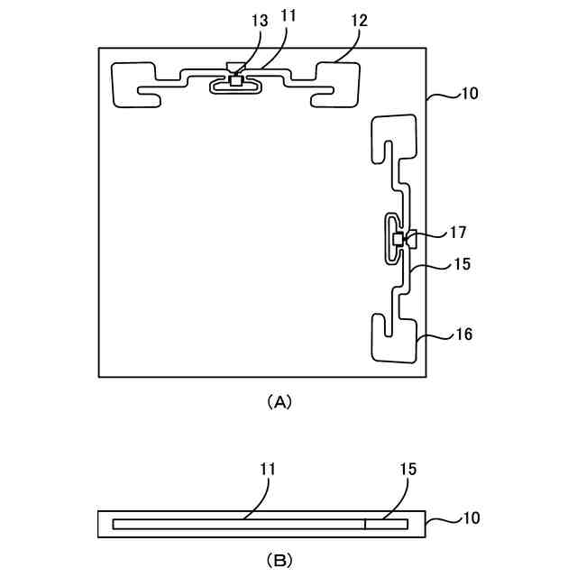
【解決手段】RFタグシート10は、アンテナ12と、ICチップ11と、アンテナ16と、ICチップ17とを備える。アンテナ12の長手方向とアンテナ16の長手方向とは直交している。アンテナ12は、電波を受信すると応答電波を送信する。ICチップ11は、アンテナ12が受信した電波によって生じる電力によって動作する。アンテナ16も、電波を受信すると応答電波を送信する。ICチップ17は、アンテナ16が受信した電波によって生じる電力によって動作する。
【選択図】図1
特許請求の範囲
【請求項1】
電波を受信すると応答電波を送信する第1のアンテナと、
長手方向が前記第1のアンテナの長手方向と直交しており、電波を受信すると応答電波を送信する第2のアンテナと、
前記第1のアンテナおよび/または前記第2のアンテナが受信した電波によって生じる電力によって動作するICチップと、
を備えるRFタグシート。
続きを表示(約 260 文字)
【請求項2】
前記第1のアンテナと前記第2のアンテナとが、重ならないようにL字状に配置されている請求項1に記載のRFタグシート。
【請求項3】
前記ICチップが、前記第1のアンテナが電波を受信すると動作する第1のICチップと、前記第2のアンテナが電波を受信すると動作する第2のICチップから成り、
前記第1のアンテナと前記第1のICチップとを含む第1のRFタグと、前記第2のアンテナと前記第2のICチップとを含む第2のRFタグとを備える、
請求項1または2に記載のRFタグシート。
発明の詳細な説明
【技術分野】
【0001】
本発明は、パッシブ型のRF(Radio Frequency)タグを含むRFタグシートに関する。
続きを表示(約 1,700 文字)
【背景技術】
【0002】
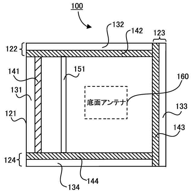
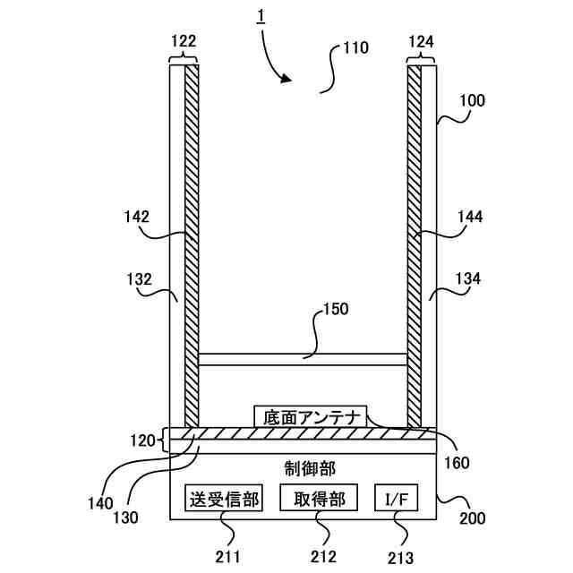
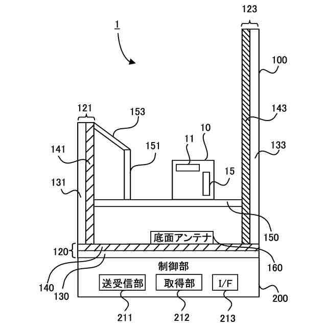
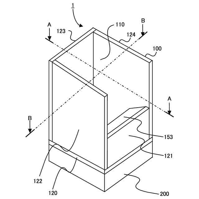
特許文献1には、収容部の上部に開口を有し、開口が開いた状態で収容部の内部に置かれたパッシブ型のRFタグから情報を読み取るRFタグ読取装置が記載されている。収容部の側部は、正面部と左側面部と背面部と右側面部とで構成されている。左側面部と背面部と右側面部は、それぞれ電波吸収層を含んでおり、正面部よりも高い。収容部の内部は、収容制限板によって正面部寄りの減衰空間と背面部寄りの収容空間とに分けられている。収容空間にはRFタグが取り付けられた物品を収容することができる。減衰空間には、物品を収容することはできない。底面部の上面には底面アンテナが設置されている。底面アンテナは、RFタグに電波を放射するアンテナである。底面アンテナは、収容空間に向けて強度が高い電波を放射し、かつその電波よりも強度が低い電波を減衰空間に向けて放射する。底面アンテナから放射される電波を受信すると、RFタグは電力を生じる。
【0003】
アパレルの棚卸しや物流の入出荷検品、製造業の固定資産管理等に使用されるRFタグは、一般に周波数860~960MHzのUHF(Ultra High Frequency)帯の電波を用いる。このような比較的低い周波数では、底面アンテナから放射された電波は開口の周縁で回折して読取装置の周囲に回り込む。しかし、特許文献1に記載のRFタグ読取装置では、左側面部の上端と背面部の上端と右側面部の上端は高いため、底面アンテナから放射された電波はこれらの上端に到達したときには減衰している。正面部の上端は低いが、底面アンテから放射された電波は減衰空間を伝搬して正面部に到達したときには減衰している。このため、特許文献1に記載のRFタグ読取装置は、収容空間に置かれたRFタグの情報のみを読み取ることができる。
【0004】
このRFタグ読取装置は、正面部の上端が低いため、物品や買物カゴを正面側から出し入れすると、それらを収容部に容易に出し入れすることができる。
【先行技術文献】
【特許文献】
【0005】
特許7429399号公報
【発明の概要】
【発明が解決しようとする課題】
【0006】
底面アンテナが直線偏波された電波を放射する場合、RFタグのアンテナの長手方向が電波の偏波の方向に対して垂直に近いとき、特許文献1に記載のRFタグ読取装置はRFタグから情報を読み取ることができない。
【0007】
これに対し、底面アンテナが円偏波された電波を放射するか、または直線偏波を用いる場合には水平偏波と垂直偏波を高速に切り替えながら電波を放射する場合、RFタグのアンテナの長手方向が底面アンテナの面に対して垂直に近いときを除き、特許文献1に記載のRFタグ読取装置は収容空間の中のRFタグから情報を読み取ることができる。しかし、この場合でも、RFタグのアンテナの長手方向が底面アンテナの面に対して垂直に近いとき、このRFタグ読取装置は収容空間の中のRFタグから情報を読み取ることができない
【0008】
本発明の目的は、RFタグに電波を放射するアンテナの向きとRFタグのアンテナの向きとがどのような関係になっても情報を送信することができるRFタグシートを提供することである。
【課題を解決するための手段】
【0009】
上記目的を達成するために、本発明のRFタグシートは、
電波を受信すると応答電波を送信する第1のアンテナと、
長手方向が前記第1のアンテナの長手方向と直交しており、電波を受信すると応答電波を送信する第2のアンテナと、
前記第1のアンテナおよび/または前記第2のアンテナが受信した電波によって生じる電力によって動作するICチップと、
を備える。
【0010】
好ましくは、本発明のRFタグシートは、
前記第1のアンテナと前記第2のアンテナとが、重ならないようにL字状に配置されてい。
(【0011】以降は省略されています)
この特許をJ-PlatPat(特許庁公式サイト)で参照する
関連特許
個人
詐欺保険
18日前
個人
縁伊達ポイン
18日前
個人
RFタグシート
5日前
個人
QRコードの彩色
22日前
個人
ペルソナ認証方式
2日前
個人
自動調理装置
4日前
個人
農作物用途分配システム
17日前
個人
インターネットの利用構造
1日前
個人
タッチパネル操作指代替具
11日前
個人
スケジュール調整プログラム
10日前
個人
携帯端末障害問合せシステム
10日前
個人
エリアガイドナビAIシステム
2日前
キヤノン株式会社
印刷システム
10日前
エッグス株式会社
情報処理装置
11日前
トヨタ自動車株式会社
通知装置
8日前
太陽誘電株式会社
表示装置
8日前
トヨタ自動車株式会社
車両
9日前
TOTO株式会社
衛生評価システム
23日前
株式会社オカムラ
電力供給システム
22日前
株式会社PIPS
2次元可視コード
15日前
TOTO株式会社
姿勢評価システム
23日前
株式会社栗本鐵工所
触覚提示システム
23日前
株式会社栗本鐵工所
触覚提示システム
23日前
株式会社栗本鐵工所
触覚提示システム
23日前
日本電気株式会社
異常検知装置
9日前
三菱電機株式会社
点検管理装置
2日前
中国電力株式会社
空き家判定システム
22日前
株式会社三富
取引管理システム
4日前
株式会社栗本鐵工所
触覚提示システム
23日前
トヨタ自動車株式会社
演算処理システム
8日前
クリューグル株式会社
情報処理システム
5日前
サンケン電気株式会社
半導体装置
3日前
太平紙業株式会社
色紙プリントシステム
2日前
株式会社セガ
プログラム及び情報処理装置
22日前
株式会社YABY
プログラム
18日前
株式会社セガ
プログラム及び情報処理装置
22日前
続きを見る
他の特許を見る