TOP
|
特許
|
意匠
|
商標
特許ウォッチ
Twitter
他の特許を見る
10個以上の画像は省略されています。
公開番号
2025152320
公報種別
公開特許公報(A)
公開日
2025-10-09
出願番号
2024054155
出願日
2024-03-28
発明の名称
衛生評価システム
出願人
TOTO株式会社
代理人
個人
主分類
G06Q
50/10 20120101AFI20251002BHJP(計算;計数)
要約
【課題】利用者の衛生習慣に対してより正確に評価を行う。
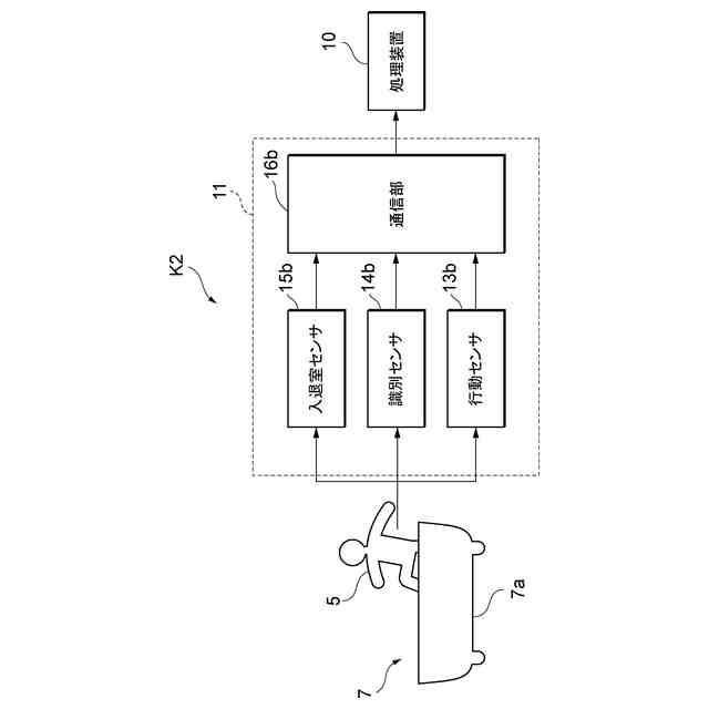
【解決手段】トイレ6、洗面8、浴室7、及びキッチン9の少なくとも何れか一つの水回り部を有する水回り空間であるトイレ空間K1、浴室空間K2、洗面空間K3、キッチン空間K4における利用者5を評価する衛生評価システム2であって、水回り部を有する空間に設けられ、水回り部を利用する利用者5を検知する姿勢センサと、姿勢センサによる検知結果に基づいて、利用者5の衛生習慣に対する評価を行う評価部を有する処理装置10と、を備える。
【選択図】図1
特許請求の範囲
【請求項1】
トイレ、洗面、浴室、及びキッチンの少なくとも何れか一つの水回り部を有する空間における利用者を評価する衛生評価システムであって、
前記水回り部を有する前記空間に設けられ、前記水回り部を利用する前記利用者を検知する検知装置と、
前記検知装置による検知結果に基づいて、前記利用者の衛生習慣に対する評価を行う評価部を有する処理装置と、
を備える衛生評価システム。
続きを表示(約 1,200 文字)
【請求項2】
前記水回り部を有する前記空間に設けられ、前記水回り部を利用する複数の前記利用者のそれぞれを識別する識別装置、
を更に備え、
前記評価部は、識別された前記利用者を個別に評価する、
請求項1に記載の衛生評価システム。
【請求項3】
前記処理装置は、
前記評価部による前記利用者の衛生習慣に対する評価結果により、前記利用者の美容に関する状態及び肌に関する状態の少なくとも何れか一方を推定する推定部、
を更に備える、
請求項1又は2に記載の衛生評価システム。
【請求項4】
前記処理装置は、
前記評価部による前記利用者の衛生習慣に対する評価結果により、前記利用者の健康状態を推定する推定部、
を更に備える、
請求項1又は2に記載の衛生評価システム。
【請求項5】
前記処理装置は、
前記検知装置による検知結果を時刻情報と紐づけて記録する記録部、
を更に備え、
前記評価部は、前記検知装置による検知結果及び前記時刻情報に基づいて、前記利用者の衛生習慣の変化に対して評価を行う、
請求項1又は2に記載の衛生評価システム。
【請求項6】
前記検知装置は、異なる種類の前記水回り部を有する複数の前記空間のそれぞれに設けられ、
前記評価部は、複数の前記検知装置のそれぞれの検知結果により、前記利用者の衛生習慣に対して評価を行う、
請求項1又は2に記載の衛生評価システム。
【請求項7】
前記評価部は、前記空間が前記トイレを有する場合、前記トイレの利用時における、手洗いの有無、手洗いのタイミング、手洗いの時間、及び手洗いの動作の少なくとも何れか一つに基づいて前記利用者を評価する、
請求項1又は2に記載の衛生評価システム。
【請求項8】
前記評価部は、前記空間が前記洗面を有する場合、前記洗面の利用時における、手洗いの有無、手洗いのタイミング、手洗いの時間、手洗いの動作、歯磨きの有無、歯磨きのタイミング、歯磨きの時間、及び歯磨きの動作の少なくとも何れか一つに基づいて前記利用者を評価する、
請求項1又は2に記載の衛生評価システム。
【請求項9】
前記評価部は、前記空間が前記浴室を有する場合、前記浴室の利用時における、入浴タイミング、入浴時間、及び入浴回数の少なくとも何れか一つに基づいて前記利用者を評価する、
請求項1又は2に記載の衛生評価システム。
【請求項10】
前記評価部は、前記検知装置による検知結果と、所定の衛生習慣基準とにより、前記利用者を評価する、
請求項1又は2に記載の衛生評価システム。
(【請求項11】以降は省略されています)
発明の詳細な説明
【技術分野】
【0001】
本開示は、衛生評価システムに関する。
続きを表示(約 1,200 文字)
【背景技術】
【0002】
人々の健康をサポートするためのシステムが様々考案されている。
【0003】
例えば特許文献1においては、手すりに設置した荷重センサや玄関の開閉センサ等、居住空間に様々なセンサを設け、居住者の歩行速度や握力等を示す情報を提供情報として生成することが開示されている。
【先行技術文献】
【特許文献】
【0004】
特開2021-18760号公報
【発明の概要】
【発明が解決しようとする課題】
【0005】
しかしながら、特許文献1による方法は人の日常動作に対する検知を行っているが、日常生活において行う動作は多岐に及び各動作にばらつきが発生し易い。各動作にばらつきが生じると、検知情報に基づく評価の精度が低下する可能性がある。特に、人々の健康において衛生習慣が重要であるが、人々の健康をサポートするために、衛生習慣に対する評価を正確に行うことが求められる。
【0006】
上記課題に鑑み、本開示は、利用者の衛生習慣に対してより正確に評価を行うことができる衛生評価システムを提供することを目的とする。
【課題を解決するための手段】
【0007】
上記課題を解決するために、本開示の第一態様に係る衛生評価システムは、トイレ、洗面、浴室、及びキッチンの少なくとも何れか一つの水回り部を有する空間における利用者を評価する衛生評価システムであって、前記水回り部を有する前記空間に設けられ、前記水回り部を利用する前記利用者を検知する検知装置と、前記検知装置による検知結果に基づいて、前記利用者の衛生習慣に対する評価を行う評価部を有する処理装置と、を備える。
【0008】
この構成によれば、水回り空間において利用者は同じ行動を行い易い(ばらつきが少ない)傾向にあるため、水回り空間における利用者の衛生習慣を評価することで、高精度に評価を行うことが可能となる。また、利用者の衛生習慣に対して評価を行うことで、衛生習慣は利用者の健康状態等に関連しているため、効果的に利用者の健康のサポートが可能となる。例えば、子供の教育(例えば躾)として衛生評価システムを用いることが可能である。
【0009】
また、本開示の第二態様に係る衛生評価システムでは、前記水回り部を有する前記空間に設けられ、前記水回り部を利用する複数の前記利用者のそれぞれを識別する識別装置、を更に備え、前記評価部は、識別された前記利用者を個別に評価する。
【0010】
この構成によれば、水回り部を利用する各利用者を区別して評価を行うことができる。このため、利用者を個別に評価して管理することができる。
(【0011】以降は省略されています)
この特許をJ-PlatPat(特許庁公式サイト)で参照する
関連特許
TOTO株式会社
浴室
1か月前
TOTO株式会社
浴室
1か月前
TOTO株式会社
洗面器
11日前
TOTO株式会社
洗面器
11日前
TOTO株式会社
構造部材
今日
TOTO株式会社
水栓装置
25日前
TOTO株式会社
吐水装置
5日前
TOTO株式会社
衛生陶器
2か月前
TOTO株式会社
水栓装置
25日前
TOTO株式会社
水栓装置
25日前
TOTO株式会社
水栓装置
25日前
TOTO株式会社
水栓装置
25日前
TOTO株式会社
水栓装置
25日前
TOTO株式会社
吐水装置
5日前
TOTO株式会社
水栓装置
25日前
TOTO株式会社
水栓装置
25日前
TOTO株式会社
構造部材
今日
TOTO株式会社
複合材料
26日前
TOTO株式会社
便器装置
1か月前
TOTO株式会社
便座装置
1か月前
TOTO株式会社
吐水装置
5日前
TOTO株式会社
水栓装置
25日前
TOTO株式会社
構造部材
5日前
TOTO株式会社
構造部材
5日前
TOTO株式会社
衛生陶器
2か月前
TOTO株式会社
排水管継手
2か月前
TOTO株式会社
水洗大便器
1か月前
TOTO株式会社
水洗大便器
4日前
TOTO株式会社
水洗大便器
4日前
TOTO株式会社
水洗大便器
4日前
TOTO株式会社
水洗大便器
4日前
TOTO株式会社
排水管継手
2か月前
TOTO株式会社
水洗大便器
1か月前
TOTO株式会社
水洗大便器
1か月前
TOTO株式会社
トイレ装置
1か月前
TOTO株式会社
トイレ装置
1か月前
続きを見る
他の特許を見る