TOP
|
特許
|
意匠
|
商標
特許ウォッチ
Twitter
他の特許を見る
10個以上の画像は省略されています。
公開番号
2025152343
公報種別
公開特許公報(A)
公開日
2025-10-09
出願番号
2024054190
出願日
2024-03-28
発明の名称
触覚提示システム
出願人
株式会社栗本鐵工所
代理人
個人
主分類
G06F
3/01 20060101AFI20251002BHJP(計算;計数)
要約
【課題】演者から触覚のフィードバックを得ることができる触覚提示システムを提供する。
【解決手段】触覚提示システムは、第1ユーザのアクションに関するアクションパラメータを取得する取得部と、取得部により取得されたアクションパラメータに基づいて、第2ユーザの身体に接触したならば得られるであろう触覚の解像度を制御する制御部と、制御された解像度を有する触覚を第1ユーザに提示する提示部と、を含む。
【選択図】図7
特許請求の範囲
【請求項1】
第1ユーザのアクションに関するアクションパラメータを取得する取得部と、
前記取得部により取得されたアクションパラメータに基づいて、第2ユーザの身体に接触したならば得られるであろう触覚の解像度を制御する制御部と、
前記制御された解像度を有する触覚を前記第1ユーザに提示する提示部と、を含む、触覚提示システム。
続きを表示(約 1,000 文字)
【請求項2】
請求項1に記載の触覚提示システムであって、
前記アクションパラメータは、前記第1ユーザから前記第2ユーザに提供された金額、前記第1ユーザのアクションの回数、前記第1ユーザのアクションの速さ、前記第1ユーザの心拍数、前記第1ユーザの声量、並びに前記第1ユーザ及び前記第2ユーザの視線が合っている時間からなる群から選択される1以上を含む、触覚提示システム。
【請求項3】
請求項1に記載の触覚提示システムであって、
前記制御部は、前記アクションパラメータが大きいほど前記解像度を高くする、触覚提示システム。
【請求項4】
請求項1に記載の触覚提示システムであって、さらに、
前記取得部を活性化するとともに前記制御部及び前記提示部を不活性化する第1モードと、前記取得部を不活性化するとともに前記制御部及び前記提示部を活性化する第2モードとに切り替える切替部を含む、触覚提示システム。
【請求項5】
請求項1に記載の触覚提示システムであって、
前記制御部及び前記提示部は複数の第1ユーザに対応して複数設けられ、
前記触覚提示システムはさらに、
前記取得部を活性化するとともに前記複数の制御部及び前記提示部を不活性化する第1モードと、前記取得部を不活性化するとともに前記複数の制御部及び前記提示部の中から所定値よりも大きいアクションパラメータに係る第1ユーザに対応する制御部及び提示部を活性化する第2モードとに切り替える切替部を含む、触覚提示システム。
【請求項6】
コンピュータにより実行される触覚提示方法であって、
第1ユーザのアクションに関するアクションパラメータを取得するステップと、
前記取得されたアクションパラメータに基づいて、第2ユーザの身体に接触したならば得られるであろう触覚の解像度を制御するステップと、
前記制御された解像度を有する触覚を前記第1ユーザに提示するステップと、を含む、触覚提示方法。
【請求項7】
コンピュータに、
第1ユーザのアクションに関するアクションパラメータを取得するステップと、
前記取得されたアクションパラメータに基づいて、第2ユーザの身体に接触したならば得られるであろう触覚の解像度を制御するステップと、
前記制御された解像度を有する触覚を前記第1ユーザに提示するステップと、を実行させるための触覚提示プログラム。
発明の詳細な説明
【技術分野】
【0001】
本開示は、触覚提示システムに関する。
続きを表示(約 1,600 文字)
【背景技術】
【0002】
近年、インターネットを通じて他人とコミュニケーションをとることが一般的となっている。アーティスト、VTuber、バーチャルアイドルなどの演者と、そのファンもインターネットを通じてコミュニケーションをとるようになってきており、演者の配信に対し、その対価として「投げ銭」を行うというコミュニケーションも増えてきている。「投げ銭」とは、演者に対して、インターネットを通じてお金を送ることだけでなく、スタンプ、バッジ、スパチャなど、何かしらのアイテムを購入し、それをコメントと一緒に送ることができるものも含まれる。
【0003】
特許文献1は、演者に対する投げ銭として、スタンプだけでなく、触覚を提供できるシステムを開示する。
【先行技術文献】
【特許文献】
【0004】
WO2022/118748A1
【発明の概要】
【発明が解決しようとする課題】
【0005】
特許文献1のシステムは、演者から触覚のフィードバックを得ることができない。
【0006】
本開示の課題は、演者から触覚のフィードバックを得ることができる触覚提示システムを提供することである。
【課題を解決するための手段】
【0007】
本開示による触覚提示システムは、第1ユーザのアクションに関するアクションパラメータを取得する取得部と、前記取得部により取得されたアクションパラメータに基づいて、第2ユーザの身体に接触したならば得られるであろう触覚の解像度を制御する制御部と、前記制御された解像度を有する触覚を前記第1ユーザに提示する提示部と、を含む。
【図面の簡単な説明】
【0008】
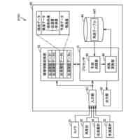
図1は、本開示の実施形態による触覚提示システムの全体構成を示す機能ブロック図である。
図2は、図1中の演者クライアントの構成を示す機能ブロック図である。
図3は、図1中のサーバの構成を示す機能ブロック図である。
図4は、図1中の視聴者クライアントの構成を示す機能ブロック図である。
図5は、図1中の触覚提示装置の構成を示す機能ブロック図である。
図6は、図3に示されるサーバの記憶部に記憶される基準触覚データを示すテーブルである。
図7は、図1~図5に示される触覚提示システムの動作を示すフロー図である。
図8は、図6に示される基準触覚データの補正に必要な重み係数データを示すテーブルである。
図9は、図6に示される基準触覚データの一部を間引いた触覚データを示すテーブルである。
図10は、図6に示される基準触覚データの一部をゼロにした触覚データを示すテーブルである。
図11は、図1~図5に示される触覚提示システムによるチャレンジモード及び視聴モードの切り替え動作を示すフロー図である。
【発明を実施するための形態】
【0009】
<実施形態の概要>
本実施形態による触覚提示システムは、第1ユーザのアクションに関するアクションパラメータを取得する取得部と、取得部により取得されたアクションパラメータに基づいて、第2ユーザの身体に接触したならば得られるであろう触覚の解像度を制御する制御部と、制御された解像度を有する触覚を第1ユーザに提示する提示部と、を含む。
【0010】
アクションパラメータは、第1ユーザから第2ユーザに提供された金額、第1ユーザのアクションの回数、第1ユーザのアクションの速さ、第1ユーザの心拍数、第1ユーザの声量、並びに第1ユーザ及び第2ユーザの視線が合っている時間からなる群から選択される1以上を含んでいてもよい。
(【0011】以降は省略されています)
この特許をJ-PlatPat(特許庁公式サイト)で参照する
関連特許
株式会社栗本鐵工所
触覚提示装置
2日前
株式会社栗本鐵工所
外面防食鉄管
今日
株式会社栗本鐵工所
オリフィス弁
2日前
株式会社栗本鐵工所
磁気粘性流体装置
1か月前
株式会社栗本鐵工所
触覚提示システム
1日前
株式会社栗本鐵工所
摺動部材用銅合金
15日前
株式会社栗本鐵工所
触覚提示システム
3日前
株式会社栗本鐵工所
磁気粘性流体装置
2日前
株式会社栗本鐵工所
触覚提示システム
2日前
株式会社栗本鐵工所
触覚提示システム
1日前
株式会社栗本鐵工所
触覚提示システム
1日前
株式会社栗本鐵工所
触覚提示システム
1日前
株式会社栗本鐵工所
管継手構造及び支柱
7日前
株式会社栗本鐵工所
弁箱構造および管体構造
7日前
株式会社栗本鐵工所
ハウジング管の製造方法
1日前
株式会社栗本鐵工所
操作装置及び操作受付方法
今日
株式会社栗本鐵工所
磁気粘性流体装置の生産方法
今日
株式会社栗本鐵工所
外面防食鉄管およびその製造方法
今日
株式会社栗本鐵工所
接続構造および磁気粘性流体装置
今日
株式会社栗本鐵工所
破砕制御システムおよびプログラム
1日前
株式会社栗本鐵工所
触覚提示可能な入力装置の制御方法
3日前
株式会社栗本鐵工所
溶湯量予測システムおよびプログラム
3日前
株式会社栗本鐵工所
管路更生工法および管路更生工法用管
11日前
株式会社栗本鐵工所
トラフ乾燥方法、及び、トラフ乾燥装置
2日前
個人
樹脂管の寿命試験方法及び寿命試験装置
15日前
株式会社栗本鐵工所
送風量制御システム、および、送風量決定プログラム
8日前
株式会社栗本鐵工所
破砕制御システム、摩耗量予測装置およびプログラム
2日前
株式会社栗本鐵工所
情報処理装置、触覚提示方法及びコンピュータプログラム
今日
株式会社栗本鐵工所
情報処理装置、触覚提示方法及びコンピュータプログラム
1日前
株式会社栗本鐵工所
遠隔検査装置、遠隔検査方法及びコンピュータプログラム
7日前
株式会社栗本鐵工所
情報処理システム、情報処理方法、及び情報処理プログラム
1日前
株式会社栗本鐵工所
情報処理システム、情報処理方法、及び情報処理プログラム
今日
株式会社栗本鐵工所
情報処理システム、情報処理方法、情報処理装置及びコンピュータプログラム
7日前
八千代エンジニヤリング株式会社
水切り装置、その設置方法、およびその設置方法に使用される位置決め治具とフック
3日前
個人
フラワーコートA
2か月前
個人
地球保全システム
9日前
続きを見る
他の特許を見る