TOP
|
特許
|
意匠
|
商標
特許ウォッチ
Twitter
他の特許を見る
10個以上の画像は省略されています。
公開番号
2025164356
公報種別
公開特許公報(A)
公開日
2025-10-30
出願番号
2024068271
出願日
2024-04-19
発明の名称
航路計画生成システム及び発電浮体
出願人
トヨタ自動車株式会社
代理人
個人
,
個人
,
個人
主分類
G01C
21/20 20060101AFI20251023BHJP(測定;試験)
要約
【課題】カイトを利用した風力発電が行われる発電浮体において、海上で発電が効率よく行われるように、航路計画を生成する航路計画生成システムを、提供する。
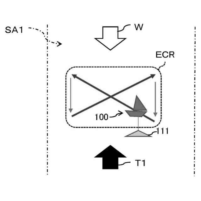
【解決手段】航路計画生成システム10では、海上を帆走しつつカイト111を利用した風力発電を行う発電浮体100に対して、風況に基づいて、所定の帆走角度で発電浮体100を帆走させる航路計画を生成する航路計画生成部13と、風況に基づいた風向きに対向する対向潮流があるか否かを判定する潮流判定部12と、が設けられている。航路計画生成部13は、対向潮流があると判定された場合、対向潮流の海域において発電効率が高まる帆走角度で発電浮体100が進むように、航路計画を生成する。
【選択図】図1
特許請求の範囲
【請求項1】
海上を帆走しつつカイトを利用した風力発電を行う少なくとも1つの発電浮体に対して、
風況に基づいて、所定の帆走角度で前記発電浮体を帆走させる航路計画を生成する航路計画生成部と、
前記風況に基づく風向きに対向する方向の潮流があるか否かを判定する潮流判定部と、
が設けられ、
前記航路計画生成部は、前記潮流があると判定された場合、前記潮流の海域において前記発電浮体が前記風力発電の発電効率が高まる前記帆走角度で進むように前記航路計画を生成する、航路計画生成システム。
続きを表示(約 760 文字)
【請求項2】
前記発電効率が高まる前記帆走角度は、前記カイトが受ける見かけの風が強まる帆走角度である、請求項1に記載の航路計画生成システム。
【請求項3】
外部から情報を取得する情報取得部が更に設けられ、
前記潮流判定部は、前記情報取得部によって取得された前記潮流に関する潮況情報、及び、前記情報取得部によって取得された前記風況に関する風況情報に基づいて、前記潮流があるか否かを判定し、
前記航路計画生成部は、前記風況情報に基づいて、前記航路計画を生成する、
請求項1または2に記載の航路計画生成システム。
【請求項4】
複数の前記発電浮体は各前記発電浮体間で通信しつつフリートを形成し、
前記各発電浮体の帆走状態及び発電状態の少なくとも一方を含む状態情報が、前記複数の発電浮体間で共有され、
前記潮流判定部は、前記各発電浮体の状態情報の変化に基づいて、前記潮流があるか否かを判定し、
前記航路計画生成部は、前記潮流があると判定された場合、前記潮流の海域が含まれるように前記航路計画を生成する、請求項1または2に記載の航路計画生成システム。
【請求項5】
海上を帆走しつつカイトを利用した風力発電を行う発電浮体であって、
風況に基づいて、所定の帆走角度で前記発電浮体を帆走させる航路計画を生成する航路計画生成部と、
前記風況に基づく風向きに対向する方向の潮流があるか否かを判定する潮流判定部と、
が設けられ、
前記航路計画生成部は、前記潮流があると判定された場合、前記潮流の海域において前記発電浮体が前記風力発電の発電効率が高まる前記帆走角度で進むように前記航路計画を生成する、発電浮体。
発明の詳細な説明
【技術分野】
【0001】
本発明は、船舶の航路計画を生成する航路計画生成システム、及び当該航路計画生成システムを備える発電浮体の技術分野に関する。
続きを表示(約 1,700 文字)
【背景技術】
【0002】
この種のシステムとして、風向風速、潮流等に基づいて、船舶の移動航路及び移動先の少なくとも一方を演算する技術が提案されている(特許文献1参照)。
【先行技術文献】
【特許文献】
【0003】
特開2022-164090号公報
【発明の概要】
【発明が解決しようとする課題】
【0004】
しかしながら、上記特許文献1では、移動航路等の演算の際に、風況と潮流との関係は考慮されていない。特に、海上でカイトを利用した風力発電が行われる発電浮体に関しては、海上での発電効率をできるだけ高めるため、風をはじめとする自然環境を利用することが求められている。
【0005】
本発明は、カイトを利用した風力発電が行われる発電浮体において、海上で発電が効率よく行われるように、航路計画を生成する航路計画生成システム等を、提供することを課題とする。
【課題を解決するための手段】
【0006】
本発明に係る航路計画生成システムの一の態様は、上記課題を解決するために、海上を帆走しつつカイトを利用した風力発電を行う少なくとも1つの発電浮体に対して、風況に基づいて、所定の帆走角度で前記発電浮体を帆走させる航路計画を生成する航路計画生成部と、前記風況に基づく風向きに対向する方向の潮流があるか否かを判定する潮流判定部と、が設けられ、前記航路計画生成部は、前記潮流があると判定された場合、前記潮流の海域において前記発電浮体が前記風力発電の発電効率が高まる前記帆走角度で進むように前記航路計画を生成する。
【0007】
本発明に係る発電浮体の一態様は、上記課題を解決するために、海上を帆走しつつカイトを利用した風力発電を行う発電浮体であって、風況に基づいて、所定の帆走角度で前記発電浮体を帆走させる航路計画を生成する航路計画生成部と、前記風況に基づく風向きに対向する方向の潮流があるか否かを判定する潮流判定部と、が設けられ、前記航路計画生成部は、前記潮流があると判定された場合、前記潮流の海域において前記発電浮体が前記風力発電の発電効率が高まる前記帆走角度で進むように前記航路計画を生成する。
【発明の効果】
【0008】
本発明に係る航路計画生成システムの一態様によれば、風向と対向する向きの潮流がある海域で、カイトを利用した風力発電を行うことができる。例えば、カイトによる風力発電は、カイトが受ける風量が多いほど発電量が大きくなる。従って、風向きと対向する潮流のある海域で発電されれば、潮流がない海域で発電される場合よりも、発電効率を高めることができる。更に、本発明に係る発電浮体の一態様によれば、本発明に係る航路計画生成システムを実現することができる。
【0009】
本発明によるこのような作用効果は、以下に説明する発明の実施形態により、より明らかにされる。
【図面の簡単な説明】
【0010】
本発明に係る発電浮体の構成の一例を示すブロック図である。
本発明に係る発電浮体が航行する発電サイクル航路の一例を示すフローチャートである。
対向潮流と発電サイクル航路との関係を示す概略図である。
並行潮流と発電サイクル航路との関係を示す概略図である。
第1実施形態における航路計画生成処理の一例を示すフローチャートである。
風向情報の一例を示す図である。
潮流情報の一例を示す図である。
複数の発電浮体で形成されるフリートの一例を示す概略図である。
一定の帆走角度で帆走する発電浮体に関して、帆走状態の変化を説明する説明図である。
一定のGPS座標方向に帆走する発電浮体に関して、帆走状態の変化を説明する説明図である。
第2実施形態における航路計画生成処理の一例を示すフローチャートである。
【発明を実施するための形態】
(【0011】以降は省略されています)
この特許をJ-PlatPat(特許庁公式サイト)で参照する
関連特許
トヨタ自動車株式会社
電池
今日
トヨタ自動車株式会社
車両
今日
トヨタ自動車株式会社
濾過装置
今日
トヨタ自動車株式会社
燃料電池セル
1日前
トヨタ自動車株式会社
情報処理装置
1日前
トヨタ自動車株式会社
電力システム
今日
トヨタ自動車株式会社
動物用ハーネス
1日前
トヨタ自動車株式会社
可変界磁ロータ
1日前
トヨタ自動車株式会社
電極合材および電池
今日
トヨタ自動車株式会社
車両の温度調整装置
今日
トヨタ自動車株式会社
電池用電極及び電池
1日前
トヨタ自動車株式会社
アクセス管理システム
今日
トヨタ自動車株式会社
モータケースの製造方法
今日
トヨタ自動車株式会社
電池パックの車両搭載構造
今日
トヨタ自動車株式会社
ハイブリッド車両の制御装置
1日前
トヨタ自動車株式会社
全固体電池及びその製造方法
1日前
株式会社デンソー
半導体装置
今日
トヨタ自動車株式会社
ペロブスカイト型太陽電池の製造方法
今日
株式会社デンソー
基準電圧生成回路
今日
株式会社デンソー
三相インバータ装置
今日
トヨタ自動車株式会社
見守りサービスの管理方法及び管理システム
今日
トヨタ自動車株式会社
ペロブスカイト型太陽電池の製造装置及び製造方法
今日
株式会社豊田中央研究所
走行軌跡生成装置、走行軌跡生成方法、及び走行軌跡生成プログラム
1日前
トヨタ自動車株式会社
サイドリンク通信のための測位用参照信号の送信
今日
個人
採尿及び採便具
6日前
日本精機株式会社
検出装置
今日
個人
高精度同時多点測定装置
21日前
株式会社ミツトヨ
測定器
12日前
甲神電機株式会社
電流検出装置
今日
アズビル株式会社
電磁流量計
15日前
愛知電機株式会社
軸部材の外観検査装置
9日前
ローム株式会社
半導体装置
20日前
ローム株式会社
半導体装置
20日前
愛知時計電機株式会社
ガスメータ
12日前
双庸電子株式会社
誤配線検査装置
1日前
大和製衡株式会社
組合せ計量装置
9日前
続きを見る
他の特許を見る