TOP
|
特許
|
意匠
|
商標
特許ウォッチ
Twitter
他の特許を見る
公開番号
2025165697
公報種別
公開特許公報(A)
公開日
2025-11-05
出願番号
2024069932
出願日
2024-04-23
発明の名称
電池
出願人
トヨタ自動車株式会社
代理人
個人
,
個人
,
個人
,
個人
,
個人
,
個人
,
個人
主分類
H01M
10/0585 20100101AFI20251028BHJP(基本的電気素子)
要約
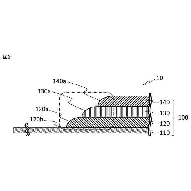
【課題】本開示は、体積効率を向上させることができる電池を提供することを目的とする。
【解決手段】第1の集電体層110、第1の電極活物質層120、電解質層130、及び第2の電極活物質層140がこの順で積層されている電極積層体100を有し、電極積層体100の少なくとも1つの端部において、第1の電極活物質層の端面120a、電解質層の端面130a、及び第2の電極活物質層の端面140aが、面一面100aを形成しており、かつ面一面100aと第1の集電体層110の表面とのなす角度100bが、90°未満である、電池。
【選択図】図1
特許請求の範囲
【請求項1】
第1の集電体層、第1の電極活物質層、電解質層、及び第2の電極活物質層がこの順で積層されている電極積層体を有し、
前記電極積層体の少なくとも1つの端部において、前記第1の電極活物質層の端面、前記電解質層の端面、及び前記第2の電極活物質層の端面が、面一面を形成しており、かつ
前記面一面と前記第1の集電体層の表面とのなす角度が、90°未満である、
電池。
続きを表示(約 360 文字)
【請求項2】
前記面一面と前記第1の集電体層の表面とのなす角度が、20°~70°である、請求項1に記載の電池。
【請求項3】
前記電極積層体の少なくとも1つの端部において、前記第1の集電体層が、前記第1の電極活物質層の先端よりも延出している、請求項1に記載の電池。
【請求項4】
前記第1の集電体層が、負極集電体層である、請求項1に記載の電池。
【請求項5】
下記工程を含む、請求項1~4のいずれか一項に記載の電池の製造方法:
第1の集電体層、第1の電極活物質層、電解質層、及び第2の電極活物質層がこの順で積層されている予備積層体を提供すること、
第2の電極活物質層の表面から、前記予備積層体を斜めに切断し、前記電極積層体を生成すること。
発明の詳細な説明
【技術分野】
【0001】
本開示は、電池に関する。
続きを表示(約 1,600 文字)
【背景技術】
【0002】
電池は、一般的には、正極活物質層、電解質層、及び負極活物質層が積層された電極積層体を有する。この電極積層体において、正極活物質層と負極活物質層とが接すると、短絡するため、正極活物質層と負極活物質層との接触を抑制した次のような全固体電池用積層体や全固体電池が知られている。
【0003】
特許文献1には、正極活物質層、固体電解質層、及び負極活物質層がこの順に積層された全固体電池用積層体であって、前記積層体の端部の少なくとも一部が面取りされた形状を有する、全固体電池用積層体が開示されている。特許文献1の全固体電池用積層体によると、正極活物質層と負極活物質層とが短絡する危険性を低減した全固体電池用積層体を提供できるとされている。
【0004】
特許文献2には、固体電解質層の一方面側に正極活物質層、他方面側に負極活物質層が積層されており、前記固体電解質層が、前記正極活物質層及び前記負極活物質層よりも、積層方向と交差する方向に50μm以上1000μm以下突出している、全固体電池が開示されている。特許文献2の全固体電池によると、充放電時に正極活物質層や負極活物質層が膨張した場合でも、正極活物質層と負極活物質層とが接触し難いとされている。
【先行技術文献】
【特許文献】
【0005】
特開2015-050153号公報
特開2021-106101号公報
【発明の概要】
【発明が解決しようとする課題】
【0006】
短絡を抑制するためには、特許文献1や特許文献2以外にも、電極積層体の端部において、合材スラリー塗工膜が乾燥されるまでにぬれ広がった部分、いわゆるダレ部、を考慮して、各層のダレ部の内側にそれぞれの層を形成することも考えられる。しかしながら、このような電極積層体を有する電池では、電極積層体の各層のダレ部が多段構成となり、電池の体積効率が減少する。
【0007】
そこで本開示は、体積効率を向上させることができる電池を提供することを目的とする。
【課題を解決するための手段】
【0008】
本開示は、以下の手段によって、上記目的を達成するものである。
【0009】
〈態様1〉
第1の集電体層、第1の電極活物質層、電解質層、及び第2の電極活物質層がこの順で積層されている電極積層体を有し、
上記電極積層体の少なくとも1つの端部において、上記第1の電極活物質層の端面、上記電解質層の端面、及び上記第2の電極活物質層の端面が、面一面を形成しており、かつ
上記面一面と上記第1の集電体層の表面とのなす角度が、90°未満である、
電池。
〈態様2〉
上記面一面と上記第1の集電体層の表面とのなす角度が、20°~70°である、態様1に記載の電池。
〈態様3〉
上記電極積層体の少なくとも1つの端部において、上記第1の集電体層が、上記第1の電極活物質層の先端よりも延出している、態様1又は2に記載の電池。
〈態様4〉
上記第1の集電体層が、負極集電体層である、態様1~3のいずれか一項に記載の電池。
〈態様5〉
下記工程を含む、態様1~4のいずれか一項に記載の電池の製造方法:
第1の集電体層、第1の電極活物質層、電解質層、及び第2の電極活物質層がこの順で積層されている予備積層体を提供すること、
第2の電極活物質層の表面から、上記予備積層体を斜めに切断し、上記電極積層体を生成すること。
【発明の効果】
【0010】
本開示の電池によると、体積効率を向上させることができる。
【図面の簡単な説明】
(【0011】以降は省略されています)
この特許をJ-PlatPat(特許庁公式サイト)で参照する
関連特許
トヨタ自動車株式会社
治具
9日前
トヨタ自動車株式会社
方法
15日前
トヨタ自動車株式会社
方法
16日前
トヨタ自動車株式会社
車両
16日前
トヨタ自動車株式会社
車両
1日前
トヨタ自動車株式会社
椅子
24日前
トヨタ自動車株式会社
車両
1日前
トヨタ自動車株式会社
電池
2日前
トヨタ自動車株式会社
車両
15日前
トヨタ自動車株式会社
方法
15日前
トヨタ自動車株式会社
方法
24日前
トヨタ自動車株式会社
方法
1日前
トヨタ自動車株式会社
方法
24日前
トヨタ自動車株式会社
車両
14日前
トヨタ自動車株式会社
電池
14日前
トヨタ自動車株式会社
車両
23日前
トヨタ自動車株式会社
方法
14日前
トヨタ自動車株式会社
車両
8日前
トヨタ自動車株式会社
車両
8日前
トヨタ自動車株式会社
車両
10日前
トヨタ自動車株式会社
車両
21日前
トヨタ自動車株式会社
車体
1日前
トヨタ自動車株式会社
車両
2日前
トヨタ自動車株式会社
車体
17日前
トヨタ自動車株式会社
車両
28日前
トヨタ自動車株式会社
電池
21日前
トヨタ自動車株式会社
飛行体
21日前
トヨタ自動車株式会社
蓄電池
1日前
トヨタ自動車株式会社
サーバ
11日前
トヨタ自動車株式会社
モータ
11日前
トヨタ自動車株式会社
自動車
15日前
トヨタ自動車株式会社
モータ
16日前
トヨタ自動車株式会社
モータ
今日
トヨタ自動車株式会社
電磁弁
24日前
トヨタ自動車株式会社
モータ
22日前
トヨタ自動車株式会社
電動機
14日前
続きを見る
他の特許を見る