TOP
|
特許
|
意匠
|
商標
特許ウォッチ
Twitter
他の特許を見る
10個以上の画像は省略されています。
公開番号
2025164458
公報種別
公開特許公報(A)
公開日
2025-10-30
出願番号
2024068453
出願日
2024-04-19
発明の名称
加飾シート、加飾部材及び表示システム
出願人
大日本印刷株式会社
代理人
個人
,
個人
,
個人
主分類
B32B
27/00 20060101AFI20251023BHJP(積層体)
要約
【課題】表示システムにおいて表示される画像の画質を改善する。
【解決手段】
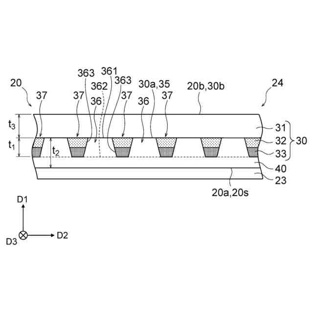
加飾シート20は、基材層31及び意匠層32を含む加飾層30と、加飾層30に第1方向D1に重ねられた接合層40と、を含む。意匠層32は、基材層31及び接合層40の間に位置する。加飾シート20の全光線透過率は、5.0%以上70%以下である。接合層40の黄色度の初期値は、2.00以下である。接合層40の黄変度は、3.50以下である。
【選択図】図2
特許請求の範囲
【請求項1】
基材層及び意匠層を含む加飾層と、
前記加飾層に第1方向に重ねられた接合層と、を備える加飾シートであって、
前記意匠層は、前記基材層及び前記接合層の間に位置し、
全光線透過率は、5.0%以上70%以下であり、
前記接合層の黄色度の初期値が2.00以下であり、且つ前記接合層の黄変度が3.50以下である、加飾シート。
続きを表示(約 990 文字)
【請求項2】
基材層及び意匠層を含む加飾層と、
前記加飾層に第1方向に重ねられた接合層と、を備える加飾シートであって、
前記意匠層は、前記基材層及び前記接合層の間に位置し、
全光線透過率は、5.0%以上70%以下であり、
黄色度の初期値が10.0以下であり、且つ黄変度が3.50以下である、加飾シート。
【請求項3】
前記加飾層は、凹凸面を有し、
前記接合層は、前記凹凸面に接合し、
前記接合層の最大厚さは、前記第1方向における前記凹凸面の高低差の2.0倍以上である、請求項1又は2に記載の加飾シート。
【請求項4】
前記加飾層は、前記凹凸面を形成する複数の印刷層を含む、請求項3に記載の加飾シート。
【請求項5】
前記凹凸面は、前記接合層に向けて開口した複数の凹部を含み、
前記複数の凹部の各々は、当該凹部の底部に向けて先細りした形状を有している、請求項3に記載の加飾シート。
【請求項6】
基材層及び意匠層を含む加飾層と、
前記加飾層に第1方向に重ねられた接合層と、を備える加飾シートであって、
前記意匠層は、前記基材層及び前記接合層の間に位置し、
前記加飾層は、凹凸面を有し、
前記接合層は、前記凹凸面に接合し、
全光線透過率は、5.0%以上70%以下であり、
前記接合層の最大厚さは、前記第1方向における前記凹凸面の高低差の2.0倍以上である、加飾シート。
【請求項7】
前記加飾層は、前記凹凸面を形成する複数の印刷層を含む、請求項6に記載の加飾シート。
【請求項8】
前記凹凸面は、前記接合層に向けて開口した複数の凹部を含み、
前記複数の凹部の各々は、当該凹部の底部に向けて先細りした形状を有している、請求項6に記載の加飾シート。
【請求項9】
25℃における前記接合層の貯蔵弾性率は、1.0MPa以下である、請求項1,2,6いずれか一項に記載の加飾シート。
【請求項10】
80℃における前記接合層の貯蔵弾性率は、1.0MPa以下である、請求項1,2,6のいずれか一項に記載の加飾シート。
(【請求項11】以降は省略されています)
発明の詳細な説明
【技術分野】
【0001】
本開示は、加飾シート、加飾部材及び表示システムに関する。
続きを表示(約 1,500 文字)
【背景技術】
【0002】
例えば特許文献1に開示されているように、加飾シートを含む表示システムが知られている。表示システムは、加飾シートと、加飾シートに重ねられた表示装置と、を含む。表示システムは、表示装置から放出されて加飾シートを透過した光によって、画像を表示する。
【先行技術文献】
【特許文献】
【0003】
特開2009-295365号公報
【発明の概要】
【発明が解決しようとする課題】
【0004】
加飾シートは、接合層から表示装置に貼り付けられる。表示システムにおいて、接合層を透過した光によって表示される画像の画質が劣化する問題が生じる可能性があることが分かった。本開示は、表示システムにおいて表示される画像の画質を改善できる加飾シートの提供を目的とする。
【課題を解決するための手段】
【0005】
本開示の一実施の形態による第1の加飾シートは、
基材層及び意匠層を含む加飾層と、
前記加飾層に第1方向に重ねられた接合層と、を備える加飾シートであって、
前記意匠層は、前記基材層及び前記接合層の間に位置し、
全光線透過率は、5.0%以上70%以下であり、
前記接合層の黄色度の初期値が2.00以下であり、且つ前記接合層の黄変度が3.50以下である。
【0006】
本開示の一実施の形態による第2の加飾シートは、
基材層及び意匠層を含む加飾層と、
前記加飾層に第1方向に重ねられた接合層と、を備える加飾シートであって、
前記意匠層は、前記基材層及び前記接合層の間に位置し、
全光線透過率は、5.0%以上70%以下であり、
黄色度の初期値が10.0以下であり、且つ黄変度が3.50以下である。
【0007】
本開示の一実施の形態による第3の加飾シートは、
基材層及び意匠層を含む加飾層と、
前記加飾層に第1方向に重ねられた接合層と、を備える加飾シートであって、
前記意匠層は、前記基材層及び前記接合層の間に位置し、
前記加飾層は、凹凸面を有し、
前記接合層は、前記凹凸面に接合し、
全光線透過率は、5.0%以上70%以下であり、
前記第1方向における前記接合層の最大長さは、前記第1方向における前記凹凸面の高低差の2.0倍以上である。
【発明の効果】
【0008】
本開示によれば、表示システムにおいて表示される画像の画質を改善できる。
【図面の簡単な説明】
【0009】
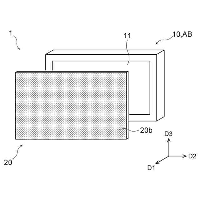
図1は、一実施の形態による表示システムの分解斜視図である。
図2は、図1の表示システムの断面図である。
図3は、非表示状態の表示装置を含む図1の表示システムの平面図である。
図4は、表示状態の表示装置を含む図1の表示システムの平面図である。
図5は、図1の表示システムに含まれる加飾シートの拡大平面図である。
図6は、図5の加飾シートの断面図である。
図7は、図6に示された加飾シートの製造方法を説明するための図である。
図8は、加飾シートの一変形例の断面図である。
図9は、表示システムの一変形例の断面図である。
【発明を実施するための形態】
【0010】
本開示の一実施の形態は、次の[1]~[18]に関する。
(【0011】以降は省略されています)
この特許をJ-PlatPat(特許庁公式サイト)で参照する
関連特許
大日本印刷株式会社
加飾シート、加飾部材及び表示システム
5日前
大日本印刷株式会社
合掌ガセット袋および合掌ガセット袋用シート製造方法
5日前
大日本印刷株式会社
仮想空間監視装置、プログラム及び仮想空間監視システム
6日前
大日本印刷株式会社
内容物充填システム及び殺菌方法
5日前
大日本印刷株式会社
蓄電デバイス用外装材、その製造方法、及び蓄電デバイス
7日前
大日本印刷株式会社
画像表示システム、サーバ、表示デバイス、画像表示方法、及びプログラム
5日前
東レ株式会社
積層体
9か月前
東レ株式会社
積層体
5か月前
個人
箔転写シート
5か月前
ユニチカ株式会社
積層体
8か月前
東レ株式会社
積層構造体
9か月前
ユニチカ株式会社
積層体
2か月前
東レ株式会社
積層フィルム
2か月前
東レ株式会社
積層フィルム
8か月前
個人
鋼材の塗膜構造
3か月前
東レ株式会社
積層フィルム
7か月前
東レ株式会社
積層フィルム
4か月前
東レ株式会社
強化繊維基材
5か月前
東レ株式会社
強化繊維基材
5か月前
東ソー株式会社
多層フィルム
7か月前
東レ株式会社
無配向フィルム
21日前
東洋紡株式会社
積層包装材料
2か月前
積水樹脂株式会社
磁性シート
7か月前
エスケー化研株式会社
積層体
8か月前
東ソー株式会社
多層フィルム
5か月前
東レ株式会社
加飾用フィルム
1か月前
東レ株式会社
光透過性表皮材
27日前
ユニチカ株式会社
透明シート
2か月前
日本バイリーン株式会社
表皮材
3か月前
アイカ工業株式会社
光学積層体
6か月前
日本発條株式会社
積層体
1か月前
大倉工業株式会社
多層フィルム
8か月前
東ソー株式会社
蓋材用フィルム
11か月前
東レ株式会社
多層積層フィルム
1か月前
三菱製紙株式会社
不織布積層体
7か月前
artience株式会社
積層体
4か月前
続きを見る
他の特許を見る