TOP
|
特許
|
意匠
|
商標
特許ウォッチ
Twitter
他の特許を見る
公開番号
2025148951
公報種別
公開特許公報(A)
公開日
2025-10-08
出願番号
2024049344
出願日
2024-03-26
発明の名称
光透過性表皮材
出願人
東レ株式会社
代理人
主分類
B32B
5/18 20060101AFI20251001BHJP(積層体)
要約
【課題】高い光透過性と設けられた意匠を高い解像度で表示するだけでなく、環境適合性にも優れる光透過性表皮材を提供することにある。
【解決手段】ポリエステルエラストマーからなる表皮層と、表皮層の裏面側に、光透過性を有しかつ独立気泡を備える多孔質の熱可塑性ポリマーからなるクッション層とを積層してなる光透過性表皮材である。
【選択図】図1
特許請求の範囲
【請求項1】
ポリエステルエラストマーからなる表皮層と、表皮層の裏面側に、光透過性を有しかつ独立気泡を備える多孔質の熱可塑性ポリマーからなるクッション層とを積層してなる、光透過性表皮材。
続きを表示(約 57 文字)
【請求項2】
表皮層が遮光性素材を含有してなることを特徴とする、請求項1に記載の光透過性表皮材。
発明の詳細な説明
【技術分野】
【0001】
本発明は、光透過性表皮材に関する。
続きを表示(約 1,600 文字)
【背景技術】
【0002】
近年、自動車や鉄道、将来実用化が見込まれるUAM(アーバン・エア・モビリティ)等のモビリティの内装品や家電製品等の合成樹脂を用いた製品では、商品を差別化したり、視認性を向上させたりと、ユーザーの嗜好の多様化や使い勝手の良さに対応すべく、製品の表面を加飾する技術の向上が図られている。
【0003】
当該加飾技術については、例えば、樹脂成形品に印刷やメッキ等を施し、金属感、木質感、レザー感を有するように加飾した製品が開発されているほか、バックライティングにより、透過意匠部分の意匠面を光により演出する技術も知られている。
【0004】
例えば、光透過性を有する人工皮革シート(特許文献1)や、印刷工数を省略した車内装用の表皮材に関する技術(特許文献2)が提案されている。しかしながら、これら技術において、製品と成した場合、その表皮は意匠に比して、必ずしも触感やクッション性は背面にある樹脂成型品の硬さのために良好ではなくむしろ損なわれることが多く、特にバックライティングにより表皮材の表面に透過意匠を示す場合には、設けるクッション材が光透過性が乏しいために解像度の良い意匠が示されなかったり、光透過性を優先したためにクッション性が劣っていたり、あるいは製品自体が製造時の二酸化炭素(CO
2
)発生量が多いないしはリサイクルが困難な樹脂で製造されるものが多く、光透過性表皮材として性能と意匠、および環境適合性を全て満足するものは実現していなかった。
【先行技術文献】
【特許文献】
【0005】
特開2014-173203号公報
特開2019-1186号公報
【発明の概要】
【発明が解決しようとする課題】
【0006】
本発明の課題は、上記従来技術の問題点を解消し、高い光透過性と設けられた意匠を高い解像度で表示するだけでなく、環境適合性にも優れる光透過性表皮材を提供することにある。
【課題を解決するための手段】
【0007】
本発明は、優れた光透過性とクッション性を有する光透過性表皮材を得るために鋭意検討を重ね、その中で特定の材料からなる構成となすことにより上記従来技術の欠点を解消でき、かつ従来技術では達成しえなかった更なるメリットをも付与し得ることを見出し、本発明に到達したものである。
【0008】
すなわち本発明は、上記の課題を達成するため、以下の構成を採用する。
(1)ポリエステルエラストマーからなる表皮層と、表皮層の裏面側に、光透過性を有し、かつ、独立気泡からなる多孔質の熱可塑性ポリマーからなるクッション層とを積層してなる光透過性表皮材である。
(2)表皮層が遮光性素材を含有してなることを特徴とする(1)に記載の光透過性表皮材であることが好ましい。
【発明の効果】
【0009】
表皮層の裏面側に光透過性を有しかつ独立気泡からなる多孔質の熱可塑性ポリマーからなるクッション層を設けることで、ポリエステルエラストマーからなる表皮層の有する光透過性と、表皮層とクッション層との間に設ける意匠層と相俟って、バックライティングを行う場合に意匠を高い輝度でかつ高い視認性を示すほか、表皮層の上から意匠を指で押した場合でも、底つき感の無い優れたクッション性を有し、かつ製品が廃材となってもメカニカルやケミカルなどの手段でリサイクルが可能な環境適合性にも優れる光透過性表皮材を提供することにある。
【図面の簡単な説明】
【0010】
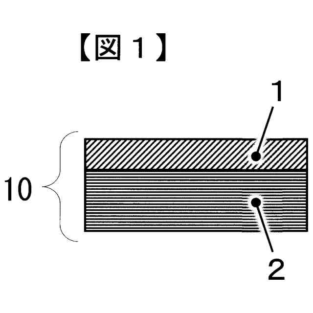
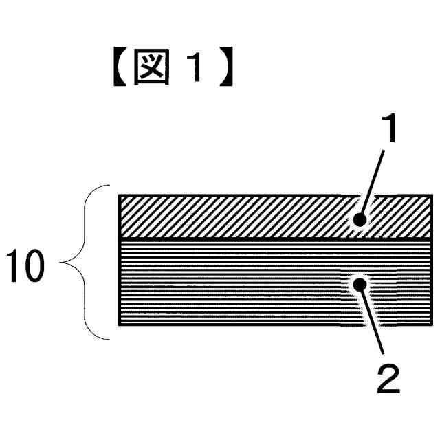
図1は、本発明の第1の実施形態に係る光透過性表皮材の構成を示す概念図である。
図2は、本発明の第2の実施形態に係る光透過性表皮材の構成を示す概念図である。
【発明を実施するための形態】
(【0011】以降は省略されています)
この特許をJ-PlatPat(特許庁公式サイト)で参照する
関連特許
東レ株式会社
防護服
2日前
東レ株式会社
浄水器
20日前
東レ株式会社
積層フィルム
1日前
東レ株式会社
加飾用フィルム
6日前
東レ株式会社
黒色樹脂組成物
6日前
東レ株式会社
光透過性表皮材
1日前
東レ株式会社
多孔質炭素シート
29日前
東レ株式会社
多層積層フィルム
22日前
東レ株式会社
不織布の製造装置
今日
東レ株式会社
太陽電池モジュール
1日前
東レ株式会社
サンドイッチ構造体
1か月前
東レ株式会社
遮熱性アクリル繊維
7日前
東レ株式会社
溶融紡糸口金パック
7日前
東レ株式会社
繊維断面の検査方法
7日前
東レ株式会社
中空糸膜モジュール
6日前
東レ株式会社
テーパ付き円筒部材
1日前
東レ株式会社
ポリエステルフィルム
14日前
東レ株式会社
ガス拡散層の製造方法
29日前
東レ株式会社
複合成形体の製造方法
20日前
東レ株式会社
プラスチック光ファイバ
1か月前
東レ株式会社
ポリプロピレンフィルム
6日前
東レ株式会社
織物およびシート表皮材
29日前
東レ株式会社
織物および織物プリプレグ
1か月前
東レ株式会社
ゴム補強用合成繊維コード
14日前
東レ株式会社
ゴム補強用合成繊維コード
14日前
東レ株式会社
糸送り装置および糸送り方法
2日前
東レ株式会社
着色樹脂組成物および着色膜
6日前
東レ株式会社
多孔繊維および液体処理カラム
29日前
東レ株式会社
先端に凸面を有する光ファイバ
20日前
東レ株式会社
ポリエステル組成物の製造方法
13日前
東レ株式会社
多孔繊維、繊維束及び吸着カラム
29日前
東レ株式会社
扁平多様断面繊維を含有した中綿
10日前
東レ株式会社
ポリエステルフィルムの解重合方法
29日前
東レ株式会社
多孔中実繊維、繊維束及び吸着カラム
29日前
TMTマシナリー株式会社
糸巻取装置
1日前
TMTマシナリー株式会社
糸巻取装置
1日前
続きを見る
他の特許を見る