TOP
|
特許
|
意匠
|
商標
意匠ウォッチ
Twitter
他の意匠を見る
発行日
2024-10-15
公報種別
意匠公報(S)
登録番号
1782251
登録日
2024-10-04
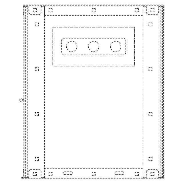
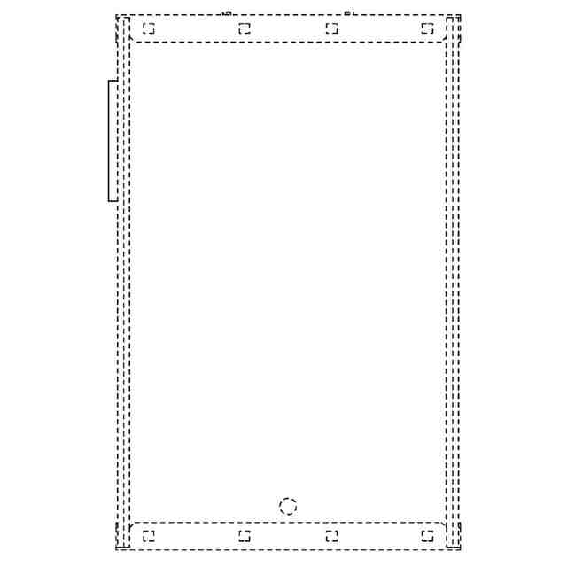
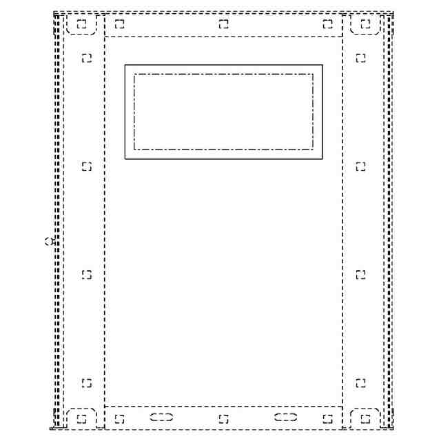
意匠に係る物品
組立ブース
意匠分類
L3
-2010(組立て家屋、屋外装備品等)
出願番号
2024010590
出願日
2024-05-27
意匠権者
川上産業株式会社
代理人
個人
,
個人
意匠に係る物品の説明
本物品は、側壁に複数の通気口等に使用する孔を設け、その孔の外側に化粧用カバーを設けたものである。
意匠の説明
実線で表された部分が、意匠登録を受けようとする部分である。「斜視図」「A-A端面図」「B-B端面図」及び「化粧用カバーを外した状態の右側面図」を含めて意匠登録を受けようとする部分を特定している。一点鎖線は、意匠登録を受けようとする部分とその他の部分との境界のみを示す線である。「意匠登録を受けようとする部分を示す参考図」において青色の着色を施した部分が意匠登録を受けようとする部分である。
この意匠をJ-PlatPat(特許庁公式サイト)で参照する
関連意匠
川上産業株式会社
組立ベッド
11か月前
川上産業株式会社
組立ベッド
9か月前
川上産業株式会社
一組の家具セット
11か月前
川上産業株式会社
一組の家具セット
3か月前
川上産業株式会社
組立ベッド用部材
11か月前
川上産業株式会社
組立ベッド用部材
11か月前
川上産業株式会社
組立ベッド用部材
11か月前
川上産業株式会社
防音ブース付ベッド
3か月前
川上産業株式会社
防音ブース付ベッド
3か月前
川上産業株式会社
かばん
7か月前
川上産業株式会社
組立ブース
12か月前
川上産業株式会社
組立ブース
12か月前
川上産業株式会社
組立ブース
1か月前
川上産業株式会社
組立ブース
2か月前
川上産業株式会社
組立ブース
2か月前
川上産業株式会社
組立ブース
2か月前
川上産業株式会社
組立ブース
2か月前
川上産業株式会社
組立ブース
1か月前
川上産業株式会社
組立ブース
12か月前
川上産業株式会社
包装用容器用コーナー部材
1か月前
株式会社LIXIL
門
21日前
株式会社LIXIL
門
21日前
株式会社LIXIL
門
21日前
株式会社LIXIL
門
21日前
株式会社大林組
柵
1か月前
個人
住宅
9か月前
積水ハウス株式会社
住宅
3か月前
旭化成ホームズ株式会社
住宅
1か月前
YKK AP株式会社
門塀
1か月前
YKK AP株式会社
門塀
1か月前
石友ホーム株式会社
住宅
9か月前
積水ハウス株式会社
住宅
3か月前
個人
住宅
9か月前
積水ハウス株式会社
住宅
3か月前
個人
住宅
9か月前
YKK AP株式会社
門塀
1か月前
続きを見る
他の意匠を見る