TOP
|
特許
|
意匠
|
商標
意匠ウォッチ
Twitter
他の意匠を見る
発行日
2025-07-16
公報種別
意匠公報(S)
登録番号
1803822
登録日
2025-07-08
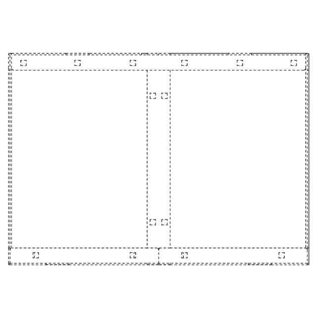
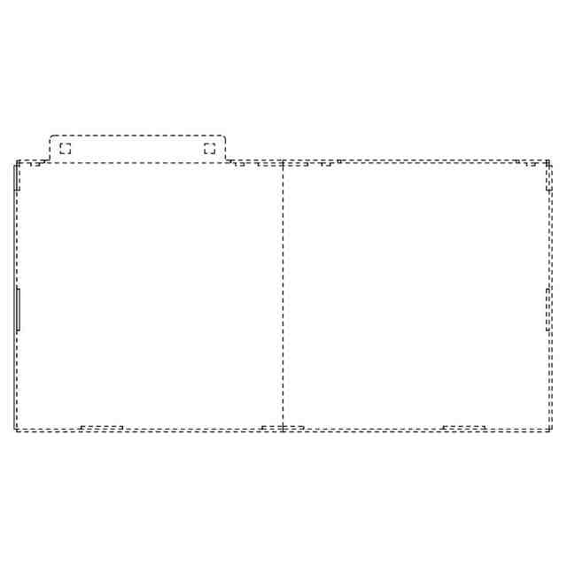
意匠に係る物品
組立ブース
意匠分類
L3
-2010(組立て家屋、屋外装備品等)
出願番号
2024026175
出願日
2024-12-18
意匠権者
川上産業株式会社
代理人
個人
,
個人
意匠に係る物品の説明
本物品は、主に壁に接して設置されるゲーミング用の組立ブースである。内部にて使用するゲーミング用パソコン等の機器により大量の熱が発生するため新鮮な空気の流入と排熱等が必要であり、良好な空気循環を促進するため側壁パネルに吸排気用孔部を複数設けた点を特徴とする。当該吸排気用孔部には適宜ファン等を設置して使用することが可能である。
意匠の説明
実線で表された部分が、意匠登録を受けようとする部分である。「斜視図1」「斜視図2」「A-A端面図」「B-B端面図」及び「C-C端面図」を含めて意匠登録を受けようとする部分を特定している。一点鎖線は、部分意匠として意匠登録を受けようとする部分とその他の部分との境界のみを示す線である。「意匠登録を受けようとする部分を示す参考図1」及び「意匠登録を受けようとする部分を示す参考図2」において青色の着色を施した部分が、意匠登録を受けようとする部分である。
この意匠をJ-PlatPat(特許庁公式サイト)で参照する
関連意匠
川上産業株式会社
組立ベッド
11か月前
川上産業株式会社
組立ベッド
9か月前
川上産業株式会社
一組の家具セット
11か月前
川上産業株式会社
一組の家具セット
3か月前
川上産業株式会社
組立ベッド用部材
11か月前
川上産業株式会社
組立ベッド用部材
11か月前
川上産業株式会社
組立ベッド用部材
11か月前
川上産業株式会社
防音ブース付ベッド
3か月前
川上産業株式会社
防音ブース付ベッド
3か月前
川上産業株式会社
かばん
7か月前
川上産業株式会社
組立ブース
11か月前
川上産業株式会社
組立ブース
11か月前
川上産業株式会社
組立ブース
1か月前
川上産業株式会社
組立ブース
2か月前
川上産業株式会社
組立ブース
2か月前
川上産業株式会社
組立ブース
2か月前
川上産業株式会社
組立ブース
2か月前
川上産業株式会社
組立ブース
1か月前
川上産業株式会社
組立ブース
11か月前
川上産業株式会社
包装用容器用コーナー部材
1か月前
株式会社LIXIL
門
17日前
株式会社大林組
柵
1か月前
株式会社LIXIL
門
17日前
株式会社LIXIL
門
17日前
株式会社LIXIL
門
17日前
YKK AP株式会社
門扉
3か月前
株式会社丸豊建硝
手摺
4か月前
トヨタホーム株式会社
住宅
6か月前
住友林業株式会社
住宅
4か月前
株式会社LIXIL
門扉
6か月前
住友林業株式会社
住宅
4か月前
旭化成ホームズ株式会社
住宅
10か月前
三協立山株式会社
門扉
6か月前
株式会社大林組
病院
3か月前
石友ホーム株式会社
住宅
9か月前
トクラス株式会社
浴室
8か月前
続きを見る
他の意匠を見る