TOP
|
特許
|
意匠
|
商標
意匠ウォッチ
Twitter
他の意匠を見る
24個以上の画像は省略されています。
発行日
2025-06-16
公報種別
意匠公報(S)
登録番号
1801096
登録日
2025-06-06
意匠に係る物品
一組の家具セット
意匠分類
D7
-31(家具)
出願番号
2024026177
出願日
2024-12-18
意匠権者
川上産業株式会社
代理人
個人
,
個人
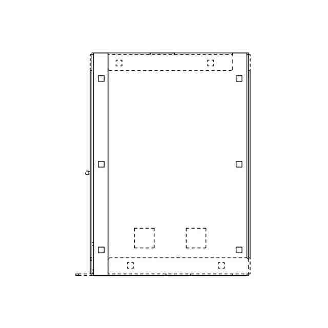
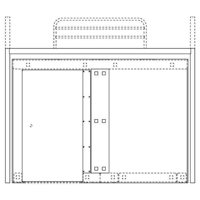
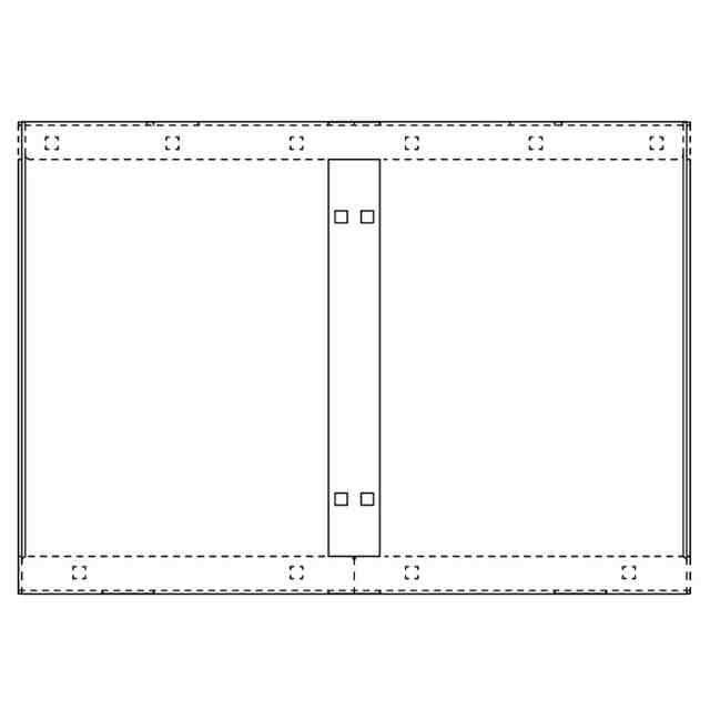
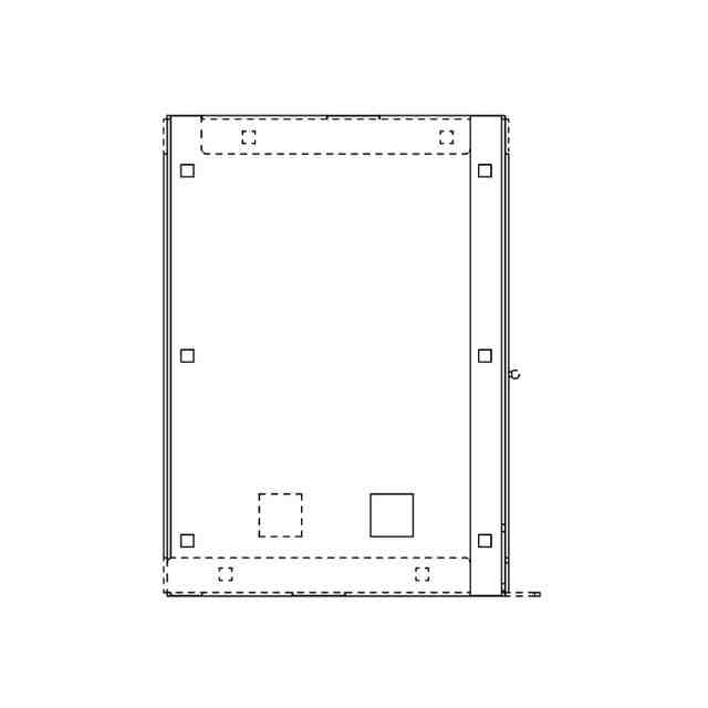
意匠に係る物品の説明
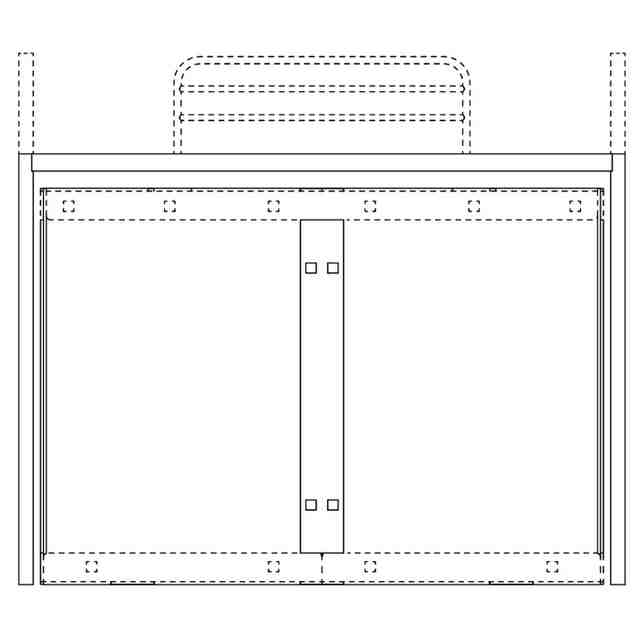
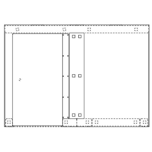
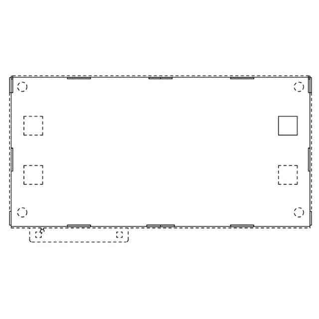
本物品は、ベッドフレーム及び組立ブースから構成され、ベッドフレームの寝台部の下方内側に組立ブースが収まることで組物全体として一つのまとまった形状及び意匠的印象を使用者に与える一組の家具セットである。組立ブースは内部にて使用するゲーミング用パソコン等の機器により大量の熱が発生するため新鮮な空気の流入と排熱等が必要であり、良好な空気循環を促進するため側壁パネルに吸排気用孔部を複数設けた点を特徴とする。当該吸排気用孔部には適宜ファン等を設置して使用することが可能である。
意匠の説明
実線で表された部分が、意匠登録を受けようとする部分である。「斜視図1」「斜視図2」「ベッドフレームのみの正面図」「ベッドフレームのみの平面図」「ベッドフレームのみの右側面図」「ベッドフレームのみの左側面図」「ベッドフレームのみの背面図」「ベッドフレームのみの底面図」「ベッドフレームのみの斜視図1」「ベッドフレームのみの斜視図2」「組立ブースのみの正面図」「組立ブースのみの平面図」「組立ブースのみの右側面図」「組立ブースのみの左側面図」「組立ブースのみの背面図」「組立ブースのみの底面図」「組立ブースのみの斜視図1」及び「組立ブースのみの斜視図2」を含めて意匠登録を受けようとする部分を特定している。一点鎖線は、意匠登録を受けようとする部分とその他の部分との境界のみを示す線である。「意匠登録を受けようとする部分を示す参考図1」「意匠登録を受けようとする部分を示す参考図2」「意匠登録を受けようとする部分を示す参考図3」「意匠登録を受けようとする部分を示す参考図4」「意匠登録を受けようとする部分を示す参考図5」「意匠登録を受けようとする部分を示す参考図6」において青色の着色を施した部分が、意匠登録を受けようとする部分である。
この意匠をJ-PlatPat(特許庁公式サイト)で参照する
関連意匠
川上産業株式会社
組立ベッド
11か月前
川上産業株式会社
組立ベッド
9か月前
川上産業株式会社
一組の家具セット
11か月前
川上産業株式会社
一組の家具セット
3か月前
川上産業株式会社
組立ベッド用部材
11か月前
川上産業株式会社
組立ベッド用部材
11か月前
川上産業株式会社
組立ベッド用部材
11か月前
川上産業株式会社
防音ブース付ベッド
3か月前
川上産業株式会社
防音ブース付ベッド
3か月前
川上産業株式会社
かばん
7か月前
川上産業株式会社
組立ブース
11か月前
川上産業株式会社
組立ブース
11か月前
川上産業株式会社
組立ブース
1か月前
川上産業株式会社
組立ブース
2か月前
川上産業株式会社
組立ブース
2か月前
川上産業株式会社
組立ブース
2か月前
川上産業株式会社
組立ブース
2か月前
川上産業株式会社
組立ブース
1か月前
川上産業株式会社
組立ブース
11か月前
川上産業株式会社
包装用容器用コーナー部材
1か月前
株式会社イトーキ
机
10か月前
アイリスチトセ株式会社
机
4か月前
アイリスチトセ株式会社
机
10か月前
株式会社オカムラ
机
8か月前
アップル インコーポレイテッド
台
11か月前
株式会社オカムラ
机
8か月前
株式会社オカムラ
机
8か月前
株式会社オカムラ
机
8か月前
アイリスチトセ株式会社
机
10か月前
株式会社イトーキ
机
1か月前
有限会社イーナ
机
7か月前
株式会社カインズ
机
2か月前
株式会社カインズ
机
2か月前
株式会社イトーキ
机
10か月前
ミラーノル インコーポレイテッド
机
11か月前
アイリスチトセ株式会社
机
4か月前
続きを見る
他の意匠を見る