TOP
|
特許
|
意匠
|
商標
意匠ウォッチ
Twitter
他の意匠を見る
発行日
2025-09-01
公報種別
意匠公報(S)
登録番号
1807517
登録日
2025-08-22
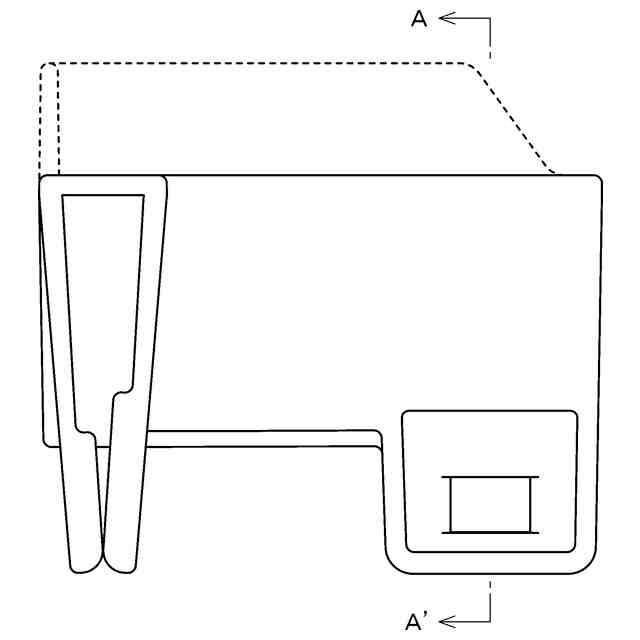
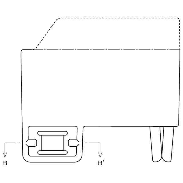
意匠に係る物品
包装用容器用コーナー部材
意匠分類
F4
-920(包装紙、包装用容器等)
出願番号
2025004410
出願日
2025-03-06
意匠権者
川上産業株式会社
代理人
弁理士法人平和国際特許事務所
意匠に係る物品の説明
本物品は、有底箱状の容器のコーナーの上縁に装着される包装用容器用コーナー部材である。[使用状態を示す参考斜視図]にあらわされているように、容器のコーナーの上縁にフレームを介して上方から係合した後、容器に設けられた孔及びコーナー部材(本物品)に設けられた孔と嵌合する嵌合部材が、容器の内側から差し込まれることによって、容器とコーナー部材とを固定することができる。
意匠の説明
実線で表した部分が、意匠登録を受けようとする部分である。一点鎖線は意匠登録を受けようとする部分とその他の部分との境界のみを示す線である。
この意匠をJ-PlatPat(特許庁公式サイト)で参照する
関連意匠
川上産業株式会社
組立ベッド
11か月前
川上産業株式会社
組立ベッド
9か月前
川上産業株式会社
一組の家具セット
11か月前
川上産業株式会社
一組の家具セット
3か月前
川上産業株式会社
組立ベッド用部材
11か月前
川上産業株式会社
組立ベッド用部材
11か月前
川上産業株式会社
組立ベッド用部材
11か月前
川上産業株式会社
防音ブース付ベッド
3か月前
川上産業株式会社
防音ブース付ベッド
3か月前
川上産業株式会社
かばん
7か月前
川上産業株式会社
組立ブース
11か月前
川上産業株式会社
組立ブース
11か月前
川上産業株式会社
組立ブース
1か月前
川上産業株式会社
組立ブース
2か月前
川上産業株式会社
組立ブース
2か月前
川上産業株式会社
組立ブース
2か月前
川上産業株式会社
組立ブース
2か月前
川上産業株式会社
組立ブース
1か月前
川上産業株式会社
組立ブース
11か月前
川上産業株式会社
包装用容器用コーナー部材
1か月前
インターコンチネンタル グレート ブランズ エルエルシー
容器
10か月前
ストール マシーナリ カンパニー,エルエルシー
缶蓋
6日前
インターコンチネンタル グレート ブランズ エルエルシー
容器
10か月前
インターコンチネンタル グレート ブランズ エルエルシー
容器
10か月前
インターコンチネンタル グレート ブランズ エルエルシー
容器
10か月前
インターコンチネンタル グレート ブランズ エルエルシー
容器
10か月前
ゼロックス コーポレイション
容器
1か月前
インターコンチネンタル グレート ブランズ エルエルシー
容器
10か月前
株式会社ニシキ
容器
3か月前
温州かん隆実業有限公司
紙袋
11か月前
エス.コールマン エンタープライズ インコーポレーテッド(エスシーイーアイ)
容器
4か月前
フジモリ産業株式会社
容器
4か月前
ルベニス カンパニー
ボトル
2か月前
ZACROS株式会社
パウチ
9か月前
イーライ リリー アンド カンパニー
ラベル
3か月前
株式会社イシダ
ラベル
11か月前
続きを見る
他の意匠を見る