TOP
|
特許
|
意匠
|
商標
意匠ウォッチ
Twitter
他の意匠を見る
発行日
2025-06-16
公報種別
意匠公報(S)
登録番号
1801092
登録日
2025-06-06
意匠に係る物品
防音ブース付ベッド
意匠分類
D7
-300(家具)
出願番号
2024025914
出願日
2024-12-16
意匠権者
川上産業株式会社
代理人
個人
,
個人
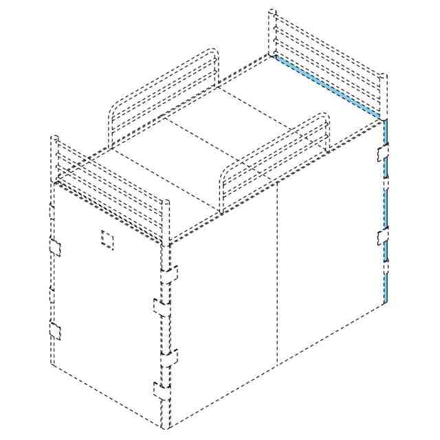
意匠に係る物品の説明
本物品は、「各部の名称を示す参考図」に示すようにベッドユニット支柱部にジョイント部材を有するパネルを固定することでベッドユニット下方に防音ブースを設けた防音ブース付ベッドである。前面パネル、ドアパネル及び背面パネルには当該ジョイント部材の他、上方にマグネットシートが配され、ベッドユニットフレーム部に吸着させて固定するものである。
意匠の説明
実線で表された部分が、意匠登録を受けようとする部分である。「斜視図1」「斜視図2」及び「A-A断面図」を含めて意匠登録を受けようとする部分を特定している。「意匠登録を受けようとする部分を示す参考図1」及び「意匠登録を受けようとする部分を示す参考図2」において青色の着色を施した部分が、意匠登録を受けようとする部分である。
この意匠をJ-PlatPat(特許庁公式サイト)で参照する
関連意匠
川上産業株式会社
組立ベッド
11か月前
川上産業株式会社
組立ベッド
9か月前
川上産業株式会社
一組の家具セット
11か月前
川上産業株式会社
一組の家具セット
3か月前
川上産業株式会社
組立ベッド用部材
11か月前
川上産業株式会社
組立ベッド用部材
11か月前
川上産業株式会社
組立ベッド用部材
11か月前
川上産業株式会社
防音ブース付ベッド
3か月前
川上産業株式会社
防音ブース付ベッド
3か月前
川上産業株式会社
かばん
7か月前
川上産業株式会社
組立ブース
11か月前
川上産業株式会社
組立ブース
11か月前
川上産業株式会社
組立ブース
1か月前
川上産業株式会社
組立ブース
2か月前
川上産業株式会社
組立ブース
2か月前
川上産業株式会社
組立ブース
2か月前
川上産業株式会社
組立ブース
2か月前
川上産業株式会社
組立ブース
1か月前
川上産業株式会社
組立ブース
11か月前
川上産業株式会社
包装用容器用コーナー部材
1か月前
株式会社イトーキ
机
10か月前
アイリスチトセ株式会社
机
4か月前
アイリスチトセ株式会社
机
10か月前
株式会社オカムラ
机
8か月前
アップル インコーポレイテッド
台
11か月前
株式会社オカムラ
机
8か月前
株式会社オカムラ
机
8か月前
株式会社オカムラ
机
8か月前
アイリスチトセ株式会社
机
10か月前
株式会社イトーキ
机
1か月前
有限会社イーナ
机
7か月前
株式会社カインズ
机
2か月前
株式会社カインズ
机
2か月前
株式会社イトーキ
机
10か月前
ミラーノル インコーポレイテッド
机
11か月前
アイリスチトセ株式会社
机
4か月前
続きを見る
他の意匠を見る