TOP
|
特許
|
意匠
|
商標
特許ウォッチ
Twitter
他の特許を見る
10個以上の画像は省略されています。
公開番号
2025006848
公報種別
公開特許公報(A)
公開日
2025-01-17
出願番号
2023107869
出願日
2023-06-30
発明の名称
ステープラ
出願人
マックス株式会社
代理人
弁理士法人光陽国際特許事務所
主分類
B27F
7/19 20060101AFI20250109BHJP(木材または類似の材料の加工または保存;釘打ち機またはステープル打ち機一般)
要約
【課題】ドライバの傾きを抑制して、一対の針足に掛かる力が均等になるステープラを提供する。
【解決手段】ステープラ1Aは、針クラウン10aと第1の針足10b及び第2の針足10cとからなる針10を用紙に打ち込むドライバ2Aと、針10の打込み方向に移動するドライバシャフト3Aと、ドライバ2Aをドライバシャフト3Aに対し、針10が打込み位置にセットされた状態における針クラウン10a軸方向に沿って回動可能に支持するドライバ取付け部4Aを備える。
【選択図】図2A
特許請求の範囲
【請求項1】
クラウン部と一対の脚部とからなる針を用紙に打ち込むドライバと、
前記用紙に打ち込まれて前記用紙を貫通した前記脚部を折り曲げるクリンチャと、
前記ドライバを前記針の打込み方向に移動可能に支持する支持部と
を備えるステープラであって、
前記支持部は、
前記ドライバを、前記針が打込み位置にセットされた状態における前記クラウン部の軸方向に沿って回動可能に支持する
ステープラ。
続きを表示(約 410 文字)
【請求項2】
前記ドライバによって前記針を前記用紙に打ち込む際に、前記ドライバを前記打込み方向にガイドするガイド部を備えた
請求項1に記載のステープラ。
【請求項3】
前記支持部は、前記軸方向における前記ドライバの中心位置を回動可能に支持する
請求項1又は2に記載のステープラ。
【請求項4】
前記支持部は、
前記ドライバを回動可能に支持するドライバ取付け部と、
前記軸方向に沿って延伸し、前記ドライバ取付け部を前記打込み方向に移動させるドライバシャフトとを有する
請求項3に記載のステープラ。
【請求項5】
前記支持部は、
前記軸方向に延伸し、前記軸方向における一部で前記ドライバを回動可能に支持するとともに、前記ドライバを前記打込み方向に移動させるドライバシャフトを有する
請求項3に記載のステープラ。
発明の詳細な説明
【技術分野】
【0001】
本発明は、針で用紙を綴じるステープラに関する。
続きを表示(約 1,500 文字)
【背景技術】
【0002】
ステープル(針)を打ち出すドライバが駆動軸に支持されるステープラが提案されている(例えば、特許文献1参照)。このようなステープラでは、ドライバの左右の両側が駆動軸に支持される。
【0003】
また、ドライバの上下位置を調整可能とするためのTボルトを介して、ドライバの中央を押圧する技術が提案されている(例えば、特許文献2参照)。
【先行技術文献】
【特許文献】
【0004】
特許第4513443号公報
特許第3346194号公報
【発明の概要】
【発明が解決しようとする課題】
【0005】
従来のステープラでは、駆動軸(ピン)が撓むなどにより傾くと、それに追従してドライバが傾く。ドライバが傾くと、ドライバがステープルを押圧する動作で、一方の針足に掛かる力と他方の針足に掛かる力に差が生じる。これにより、一対の針足に掛かる力が不均等であることに起因して、ステープルの座屈が発生する可能性があった。
【0006】
そこで、ドライバの傾きを抑制して、一対の針足に掛かる力が均等になるステープラを提供する。
【課題を解決するための手段】
【0007】
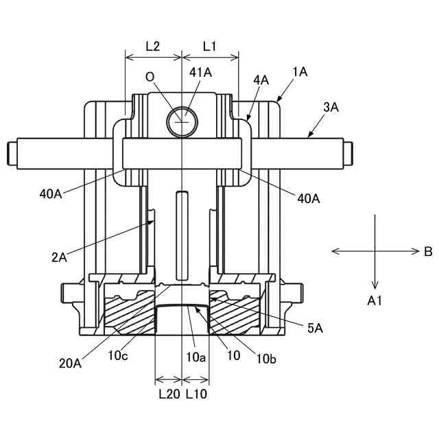
上述した課題を解決するため、本発明は、クラウン部と一対の脚部とからなる針を用紙に打ち込むドライバと、用紙に打ち込まれて用紙を貫通した前記脚部を折り曲げるクリンチャと、ドライバを針の打込み方向に移動可能に支持する支持部とを備えるステープラであって、支持部は、ドライバを、針が打込み位置にセットされた状態におけるクラウン部の軸方向に沿って回動可能に支持するステープラである。
【0008】
本発明では、ドライバと支持部は、針が打込み位置にセットされた状態におけるクラウン部の軸方向に沿って相対的に回動する。これにより、ドライバは、針が打込み位置にセットされた状態におけるクラウン部の軸方向に対して傾くことが抑制される。
【発明の効果】
【0009】
本発明では、ドライバで針を打ち出す動作で、針の第1の針足と第2の針足に略均等に力が掛かる。これにより、第1の針足と第2の針足に掛かる力が不均等であることに起因する針の座屈の発生を抑制することができる。
【図面の簡単な説明】
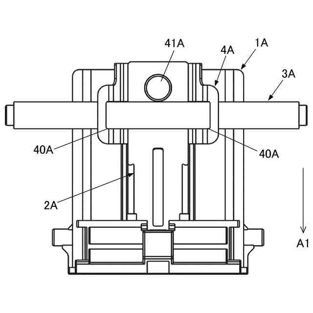
【0010】
本実施の形態の綴じ装置の一例を示す斜視図である。
本実施の形態の綴じ装置の一例を示す正面断面図である。
本実施の形態のステープラの一例を示す正面断面図である。
本実施の形態のステープラの一例を示す側面図である。
本実施の形態のステープラの一例を示す正面図である。
本実施の形態のステープラの動作の一例を示す正面断面図である。
本実施の形態のステープラの動作の一例を示す正面断面図である。
本実施の形態のステープラの動作の一例を示す正面断面図である。
本実施の形態のステープラの変形例を示す斜視図である。
本実施の形態のステープラの変形例を示すドライバの斜視図である。
本実施の形態のステープラの他の変形例を示す斜視図である。
本実施の形態のステープラの他の変形例を示すドライバの斜視図である。
本実施の形態のステープラの他の変形例を示す斜視図である。
本実施の形態のステープラの他の変形例を示すドライバの斜視図である。
【発明を実施するための形態】
(【0011】以降は省略されています)
この特許をJ-PlatPat(特許庁公式サイト)で参照する
関連特許
マックス株式会社
結束機
8日前
個人
薪割り台
10か月前
個人
わら縄針金造形木
11か月前
個人
鋸
20日前
個人
木材精密加工用ジグ
6か月前
丸大株式会社
竹粉製造装置
7か月前
株式会社日本設計
耐火木材
12か月前
個人
貼付装置及び貼付方法
5か月前
個人
電動ボードカッターのブレード
1か月前
株式会社 川上製作所
木材の連結構造
7日前
個人
跳ね上げ式ガイドクランプ
4か月前
株式会社岡田金属工業所
ブレード
5か月前
コニシ株式会社
集成材の製造方法
1か月前
株式会社ノダ
木削薄片板および床材
8か月前
株式会社ノダ
木削薄片板および床材
12か月前
NKE株式会社
トリマー治具
4か月前
宮川工機株式会社
プレカット加工装置
10か月前
舛元木工株式会社
フレーム材の端部処理方法
11か月前
工機ホールディングス株式会社
作業機
8か月前
大建工業株式会社
焼杉風化粧板とその製造方法
6か月前
旭興進株式会社
人工木材及びその製造方法
11か月前
三和合板株式会社
化粧板の製造装置
10か月前
トヨタ自動車株式会社
木粉の熱圧縮成形方法
8か月前
清水建設株式会社
ビス打ち装置
6か月前
清水建設株式会社
自動ビス打ち機
6か月前
マックス株式会社
リフィル
10か月前
株式会社大林組
木質板材の加工方法
7か月前
トヨタエンジニアリング有限会社
竹割機
3か月前
トヨタエンジニアリング有限会社
竹割機
4か月前
有限会社太悦鉄工
ヤニ取り装置および木材切断用鋸盤
2か月前
マックス株式会社
ステープラ
10か月前
マックス株式会社
ステープラ
8か月前
株式会社マキタ
携帯用切断機
3か月前
マックス株式会社
ステープラ
8か月前
株式会社マキタ
ソーチェーン
14日前
トヨタT&S建設株式会社
桂剥き装置
5か月前
続きを見る
他の特許を見る