TOP
|
特許
|
意匠
|
商標
特許ウォッチ
Twitter
他の特許を見る
10個以上の画像は省略されています。
公開番号
2025089806
公報種別
公開特許公報(A)
公開日
2025-06-16
出願番号
2023204687
出願日
2023-12-04
発明の名称
竹割機
出願人
トヨタエンジニアリング有限会社
代理人
KEY弁理士法人
主分類
B27J
1/00 20060101AFI20250609BHJP(木材または類似の材料の加工または保存;釘打ち機またはステープル打ち機一般)
要約
【課題】分割した竹を刃物の近傍に残存させることなく、竹をスムーズに移動させて、竹の後端まで確実に分割できる竹割機を提供する。
【解決手段】竹割機は、竹が挿通されるように間隔を空けて上下に配置された2つの送り出しローラと、2つの前記送り出しローラの間に挿通された竹が送り出されるように、前記送り出しローラを駆動する送り出しローラ駆動部と、前記送り出しローラから送り出された前記竹を複数に分割する刃物と、前記刃物で分割された分割竹が挿通されるように間隔を空けて上下に配置された2つの引込ローラと、前記分割竹を前記刃物から引き込むように、前記引込ローラを駆動する引込ローラ駆動部と、を備える。
【選択図】図1
特許請求の範囲
【請求項1】
竹が挿通されるように間隔を空けて上下に配置された2つの送り出しローラと、
2つの前記送り出しローラの間に挿通された竹が送り出されるように、前記送り出しローラを駆動する送り出しローラ駆動部と、
前記送り出しローラから送り出された前記竹を複数に分割する刃物と、
前記刃物で分割された分割竹が挿通されるように間隔を空けて上下に配置された2つの引込ローラと、
前記分割竹を前記刃物から引き込むように、前記引込ローラを駆動する引込ローラ駆動部と、を備える、
ことを特徴とする竹割機。
続きを表示(約 500 文字)
【請求項2】
2つの前記送り出しローラの回転軸線を含む仮想的な面と、前記刃物との距離が140mm以上170mm以下であり、
前記刃物と、2つの前記引込ローラの回転軸線を含む仮想的な面との距離が140mm以上170mm以下である、ことを特徴とする請求項1に記載の竹割機。
【請求項3】
2つの前記送り出しローラの少なくとも一方が他方に接近するように弾性部材によって付勢されており、2つの前記送り出しローラの間に挿通される竹の直径に応じて2つの前記送り出しローラの間隔が調整される、ことを特徴とする請求項1または2に記載の竹割機。
【請求項4】
2つの前記引込ローラの少なくとも一方が他方に接近するように弾性部材によって付勢されており、2つの前記引込ローラの間に挿通される前記分割竹の量に応じて2つの前記引込ローラの間隔が調整される、ことを特徴とする請求項1または2に記載の竹割機。
【請求項5】
2つの前記送り出しローラの間に挿通する前記竹をスライド自在に支持する支持アームを備える、
ことを特徴とする請求項1または2に記載の竹割機。
発明の詳細な説明
【技術分野】
【0001】
本発明は、竹を分割する竹割機に関する。
続きを表示(約 1,700 文字)
【背景技術】
【0002】
伐採竹の利用方法として、竹を燃料化して熱利用することがこれまで行われている。竹を燃料化する方法の一つとして、竹を縦方向に切断して複数に分割し、その後、チッパー等でより細かく竹を裁断してチップにする方法が用いられている。竹を分割して減容すると、竹を乾燥し易くできる。竹を乾燥させると竹の燃焼熱量が増加することから、竹を分割することにより、竹を燃料として使用する際の効率を高めることができる。
【0003】
人力で竹を分割するための道具として、複数の刃を放射状に設けた竹割具等が用いられている。大量の竹を分割するために、竹割機、竹割装置等が用いられている。例えば、特許文献1には、チェーンに突設した爪によって竹を押して、鉈刃に竹を押し付けて、2分割する竹の2分割装置が開示されている。また、特許文献2には、油圧または空圧シリンダを用いて竹を押して移動させ、刃物で竹を縦方向に分割する竹割機が開示されている。さらに、特許文献3には、竹を鉛直方向に投入し、下方に配置した分割刃に竹を上から押し下げて分割させる竹割装置が開示されている。竹割機等によって竹を分割した後、竹を裁断してチップにすることで、竹を燃料として使用できる。
【先行技術文献】
【特許文献】
【0004】
特開昭52-38699号公報
特開2000-198102号公報
特開2004-262098号公報
【発明の概要】
【発明が解決しようとする課題】
【0005】
竹を燃料として使用するために、チッパー等でチップ化する前に、大量の竹を連続してスムーズに分割する装置が必要である。従来の竹割機、例えば、特許文献1~3に開示されているものは、何れも竹を刃に押し付けて分割する竹割機である。竹を刃に押し付ける手段だけを用いた従来の竹割機は、分割した竹が刃の近傍に残存したり、竹の後端部まで分割できない場合があった。このような状態になると、作業員が竹を刃から取り除く手間が生じ、連続してスムーズに大量の竹を分割することができない。また、細長い竹は、従来の竹割機で刃物に押し当てて割ろうとすると曲がりやすく、節の部分を分割することが難しかった。小径(80mm以下)の竹の場合、従来の竹割機で押し割りすると曲損する場合があり、節近傍で割れずに折損することもあった。
【0006】
本発明は、分割した分割竹を刃物の近傍に残存させることなく、竹をスムーズに移動させて、竹の後端まで確実に分割できる竹割機を提供することを目的とする。
【課題を解決するための手段】
【0007】
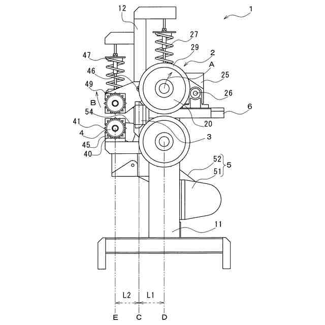
本発明の第1の態様に係る竹割機は、竹が挿通されるように間隔を空けて上下に配置された2つの送り出しローラと、2つの前記送り出しローラの間に挿通された竹が送り出されるように、前記送り出しローラを駆動する送り出しローラ駆動部と、前記送り出しローラから送り出された前記竹を複数に分割する刃物と、前記刃物で分割された分割竹が挿通されるように間隔を空けて上下に配置された2つの引込ローラと、前記分割竹を前記刃物から引き込むように、前記引込ローラを駆動する引込ローラ駆動部と、を備える。
【0008】
係る構成を備える竹割機によれば、送り出しローラおよび引込ローラを用いることによって、竹を刃物に押し付けるだけでなく、分割竹を引込ローラで引き込み、さらに、2つの送り出しローラによって竹を圧縮して亀裂を生じさせることによって、竹を後端まで確実に連続してスムーズに分割することができる。
【0009】
本発明の第2の態様に係る竹割機において、2つの前記送り出しローラの回転軸線を含む仮想的な面と、前記刃物との距離が140mm以上170mm以下であり、前記刃物と、2つの前記引込ローラの回転軸線を含む仮想的な面との距離が140mm以上170mm以下である。
【0010】
係る構成を備える竹割機によれば、分割する竹の長さが一定の長さ以上であれば、分割竹を刃物から確実に取り除いて次の場所へと移動させることができる。
(【0011】以降は省略されています)
この特許をJ-PlatPat(特許庁公式サイト)で参照する
関連特許
個人
薪割り台
10か月前
個人
わら縄針金造形木
12か月前
個人
鋸
24日前
個人
木材精密加工用ジグ
6か月前
株式会社日本設計
耐火木材
12か月前
丸大株式会社
竹粉製造装置
7か月前
個人
貼付装置及び貼付方法
5か月前
個人
電動ボードカッターのブレード
1か月前
株式会社 川上製作所
木材の連結構造
11日前
個人
跳ね上げ式ガイドクランプ
5か月前
コニシ株式会社
集成材の製造方法
1か月前
株式会社岡田金属工業所
ブレード
5か月前
株式会社ノダ
木削薄片板および床材
12か月前
NKE株式会社
トリマー治具
4か月前
株式会社ノダ
木削薄片板および床材
8か月前
宮川工機株式会社
プレカット加工装置
10か月前
工機ホールディングス株式会社
作業機
8か月前
舛元木工株式会社
フレーム材の端部処理方法
11か月前
大建工業株式会社
焼杉風化粧板とその製造方法
6か月前
旭興進株式会社
人工木材及びその製造方法
12か月前
三和合板株式会社
化粧板の製造装置
10か月前
トヨタ自動車株式会社
木粉の熱圧縮成形方法
8か月前
清水建設株式会社
ビス打ち装置
6か月前
マックス株式会社
リフィル
10か月前
清水建設株式会社
自動ビス打ち機
6か月前
株式会社大林組
木質板材の加工方法
7か月前
トヨタエンジニアリング有限会社
竹割機
3か月前
トヨタエンジニアリング有限会社
竹割機
4か月前
有限会社太悦鉄工
ヤニ取り装置および木材切断用鋸盤
2か月前
株式会社マキタ
携帯用切断機
3か月前
マックス株式会社
ステープラ
8か月前
マックス株式会社
ステープラ
8か月前
マックス株式会社
ステープラ
10か月前
株式会社マキタ
ソーチェーン
18日前
トヨタT&S建設株式会社
桂剥き装置
5か月前
大建工業株式会社
人工突板の製造方法
7か月前
続きを見る
他の特許を見る