TOP
|
特許
|
意匠
|
商標
特許ウォッチ
Twitter
他の特許を見る
公開番号
2025051933
公報種別
公開特許公報(A)
公開日
2025-04-07
出願番号
2023160693
出願日
2023-09-25
発明の名称
自動ビス打ち機
出願人
清水建設株式会社
代理人
個人
,
個人
,
個人
主分類
B27F
7/02 20060101AFI20250328BHJP(木材または類似の材料の加工または保存;釘打ち機またはステープル打ち機一般)
要約
【課題】省人化を図ることができる自動ビス打ち機を提供する。
【解決手段】自動ビス打ち機1は、フレーム10と、前記フレーム10に設けられ、床面Fを走行可能な移動装置と、前記フレーム10に設けられ、前記床面Fにビス打ち可能な一対のビス打ち装置40と、を備え、前記一対のビス打ち装置40は、一方のビス打ち装置40が前記床面Fにビス打ちを行うとき、他方のビス打ち装置40は待機位置に待機し、前記他方のビス打ち装置40が前記床面Fにビス打ちを行うとき、前記一方のビス打ち装置40は待機位置に待機する。
【選択図】図4
特許請求の範囲
【請求項1】
フレームと、
前記フレームに設けられ、床面を走行可能な移動装置と、
前記フレームに設けられ、前記床面にビス打ち可能な一対のビス打ち装置と、
を備え、
前記一対のビス打ち装置は、
一方のビス打ち装置が前記床面にビス打ちを行うとき、他方のビス打ち装置は待機位置に待機し、
前記他方のビス打ち装置が前記床面にビス打ちを行うとき、前記一方のビス打ち装置は待機位置に待機する、
自動ビス打ち機。
続きを表示(約 440 文字)
【請求項2】
前記ビス打ち装置は、前記待機位置から下降した位置でビス打ちを行う、
請求項1に記載の自動ビス打ち機。
【請求項3】
前記一対のビス打ち装置は、交互にビス打ちを行う、
請求項1に記載の自動ビス打ち機。
【請求項4】
前記移動装置は、幅方向に延びる回転軸を回転中心として回転可能な駆動輪を有し、
前記駆動輪は、前記回転軸から離れる方向に突出し、前記床面と接触可能なスパイク部を有する、
請求項1に記載の自動ビス打ち機。
【請求項5】
前記駆動輪は、前記スパイク部が前記床面と接触する位置と、前記スパイク部が前記床面と接触しない位置と、を昇降可能である、
請求項4に記載の自動ビス打ち機。
【請求項6】
前記ビス打ち装置によるビス打ち動作と、前記移動装置による移動動作と、を制御可能な制御部を備える、
請求項1から請求項5のいずれか一項に記載の自動ビス打ち機。
発明の詳細な説明
【技術分野】
【0001】
本発明は、自動ビス打ち機に関する。
続きを表示(約 1,200 文字)
【背景技術】
【0002】
従来、木造建築等を構築する際には、合板の木製床パネルなどの木製部材を接続固定するためにビス打ち作業が行われる。例えば、床パネルを固定するビス打ち作業では、中腰やしゃがんだ姿勢の作業者が片手でビスを持ち、もう一方の手でビス打ち用の電動工具(ビス打ち装置)を操作してビスを打ち込む。
【0003】
このような作業者の手作業によるビス打ち作業では、作業者の身体的な負荷が大きく、連続作業では3時間程度が限界である。そのため、ビス打ち作業の効率化が求められている。効率化を目的としたビス打ち装置として、例えば、特許文献1に記載の連続ビス打ち装置がある。
【0004】
特許文献1に記載のある連続ビス打ち装置は、ビス打ち装置を走行移動させるための走行移動手段と、複数のビス打ち機と、を備え、複数のビス打ち機の調整したピッチで連続的にビスを打設する。
【先行技術文献】
【特許文献】
【0005】
特開2020-1278号公報
【発明の概要】
【発明が解決しようとする課題】
【0006】
しかしながら、特許文献1に記載のある連続ビス打ち装置のような従来のビス打ち装置は、ビス打ちの際の反力によりビス打ち装置の車体(フレーム)が浮き上がる虞があり、作業者が車体を支える必要がある。
【0007】
上記事情を踏まえ、本発明は、省人化を図ることができる自動ビス打ち機を提供することを目的とする。
【課題を解決するための手段】
【0008】
上記課題を解決するために、この発明は以下の手段を提案している。
本発明の自動ビス打ち機は、フレームと、前記フレームに設けられ、床面を走行可能な移動装置と、前記フレームに設けられ、前記床面にビス打ち可能な一対のビス打ち装置と、を備え、前記一対のビス打ち装置は、一方のビス打ち装置が前記床面にビス打ちを行うとき、他方のビス打ち装置は待機位置に待機し、前記他方のビス打ち装置が前記床面にビス打ちを行うとき、前記一方のビス打ち装置は待機位置に待機する。
【発明の効果】
【0009】
本発明の自動ビス打ち機によれば、省人化を図ることができる自動ビス打ち機を提供できる。
【図面の簡単な説明】
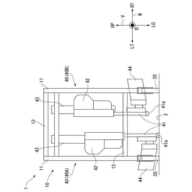
【0010】
本実施形態に係る自動ビス打ち機の構成例を示す側面図である。
駆動輪を床面に接地した同自動ビス打ち機を示す側面図である。
ビス打ち動作を実施する前の同自動ビス打ち機を示す正面図である。
同自動ビス打ち機のビス打ち動作における第一動作を示す正面図である。
同自動ビス打ち機のビス打ち動作における第二動作を示す正面図である。
同自動ビス打ち機のビス打ち動作における第三動作を示す正面図である。
【発明を実施するための形態】
(【0011】以降は省略されています)
この特許をJ-PlatPat(特許庁公式サイト)で参照する
関連特許
個人
薪割り台
10か月前
個人
わら縄針金造形木
11か月前
個人
鋸
20日前
個人
木材精密加工用ジグ
6か月前
丸大株式会社
竹粉製造装置
7か月前
株式会社日本設計
耐火木材
12か月前
個人
貼付装置及び貼付方法
5か月前
個人
電動ボードカッターのブレード
1か月前
株式会社 川上製作所
木材の連結構造
7日前
個人
跳ね上げ式ガイドクランプ
4か月前
株式会社岡田金属工業所
ブレード
5か月前
コニシ株式会社
集成材の製造方法
1か月前
株式会社ノダ
木削薄片板および床材
8か月前
株式会社ノダ
木削薄片板および床材
12か月前
NKE株式会社
トリマー治具
4か月前
宮川工機株式会社
プレカット加工装置
10か月前
舛元木工株式会社
フレーム材の端部処理方法
11か月前
工機ホールディングス株式会社
作業機
8か月前
大建工業株式会社
焼杉風化粧板とその製造方法
6か月前
旭興進株式会社
人工木材及びその製造方法
11か月前
三和合板株式会社
化粧板の製造装置
10か月前
トヨタ自動車株式会社
木粉の熱圧縮成形方法
8か月前
清水建設株式会社
ビス打ち装置
6か月前
清水建設株式会社
自動ビス打ち機
6か月前
マックス株式会社
リフィル
10か月前
株式会社大林組
木質板材の加工方法
7か月前
トヨタエンジニアリング有限会社
竹割機
3か月前
トヨタエンジニアリング有限会社
竹割機
4か月前
有限会社太悦鉄工
ヤニ取り装置および木材切断用鋸盤
2か月前
マックス株式会社
ステープラ
10か月前
マックス株式会社
ステープラ
8か月前
株式会社マキタ
携帯用切断機
3か月前
マックス株式会社
ステープラ
8か月前
株式会社マキタ
ソーチェーン
14日前
トヨタT&S建設株式会社
桂剥き装置
5か月前
大建工業株式会社
人工突板の製造方法
7か月前
続きを見る
他の特許を見る