TOP
|
特許
|
意匠
|
商標
特許ウォッチ
Twitter
他の特許を見る
公開番号
2025014259
公報種別
公開特許公報(A)
公開日
2025-01-30
出願番号
2023116677
出願日
2023-07-18
発明の名称
放射線防護衣
出願人
個人
代理人
弁理士法人第一テクニカル国際特許事務所
主分類
G21F
3/02 20060101AFI20250123BHJP(核物理;核工学)
要約
【課題】使用者の肩に加わる過重負荷を軽減し、使用者の肩と生地との接触面積を少なくし得て、擦れに伴う違和感を軽減することができる。
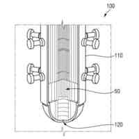
【解決手段】後身頃部10の左右外側縁部10a,10bの下方部位と左右前身頃部20,30の内側縁部20a,30aの下方部位とがそれぞれ接合されるとともに、各下方部位よりも上方の非接合凹縁部10e,20e及び非接合凹縁部10f,30fにより肩口3,4が形成され、後身頃部10の内面側左右に設けられた雌雄一方の固定面ファスナ13と、この固定面ファスナ13とそれぞれ係合することで帯状の腰ベルト40を上下方向に可変に保持する一対の雌雄他方の自由面ファスナ14と、後身頃部10の非接合凹縁部10eから左前身頃部20の非接合凹縁部20e、及び、後身頃部10の非接合凹縁部10fから右前身頃部30の非接合凹縁部30f、の各内面側に跨る環状の中空管体50と、を備える。
【選択図】図1
特許請求の範囲
【請求項1】
着衣時に使用者の人体背面を覆う後身頃部と、着衣時に使用者の人体前面を重ね合わせた状態で覆う左身頃部及び右身頃部と、を備え、
前記後身頃部の左右外側縁部の下方部位と前記左身頃部の内側縁部の下方部位及び前記右身頃部の内側縁部の下方部位とをそれぞれ接合縁部として互いに接合されるとともに、着衣時に前記各下方部位よりも上方部位を非接合凹縁部として使用者の両腕を通す肩口が形成される、放射線防護衣において、
前記後身頃部の内面側左右に設けられて、上下方向に延びる帯状とされた一対の雌雄一方の固定面ファスナと、
帯状に延び且つ前記固定面ファスナとそれぞれ係合することで帯状の腰ベルトを上下方向に可変に保持する一対の雌雄他方の自由面ファスナと、
前記後身頃部の前記非接合凹縁部から前記左身頃部の前記非接合凹縁部、及び、前記後身頃部の前記非接合凹縁部から前記右身頃部の前記非接合凹縁部、の各内面側に跨る環状の中空管体と、を備える、
ことを特徴とする放射線防護衣。
続きを表示(約 500 文字)
【請求項2】
請求項1に記載の放射線防護衣において、
前記中空管体は、可撓性を有する樹脂材料から構成されるとともに、その両端に、前記後身頃部の左側の前記接合縁部及び前記左身頃部の前記接合縁部、並びに、前記後身頃部の右側の前記接合縁部及び前記右身頃部の前記接合縁部、にそれぞれ沿う延長中空管体を一体に備え、
前記延長中空管体は、前記接合縁部のそれぞれに沿って設けられた筒部に収納されている、
ことを特徴とする放射線防護衣。
【請求項3】
請求項1又は請求項2に記載の放射線防護衣において、
前記後身頃部の左上縁部と前記左身頃部の上縁部及び前記後身頃部の右上縁部と前記右身頃部の上縁部とは、接合部材を介して接離可能又は接離不能に接合されている、
ことを特徴とする放射線防護衣。
【請求項4】
請求項1又は請求項2に記載の放射線防護衣において、
前記後身頃部の上縁部と前記左身頃部の上縁部及び前記右身頃部の上縁部とは、左右全幅にわたって互いに接合されていない非接合縁部である、
ことを特徴とする放射線防護衣。
発明の詳細な説明
【技術分野】
【0001】
本発明は、放射線防護衣に係わり、特に、循環器系や脳外系の各種カテーテル検査、治療を行う際の検査担当者、或いは、これらの手術を行う際の医師・看護師・技師等の手術担当者達が着衣する放射線防護衣に関する。
続きを表示(約 1,300 文字)
【背景技術】
【0002】
従来から、循環器系や脳外系の各種カテーテル検査、治療を行う際の検査担当者、或いは、これらの手術を行う際の医師・看護師・技師等の手術担当者達(以下、単に「使用者」と総称する。)が着衣する放射線防護衣が知られている(例えば、特許文献1参照)。
【0003】
この放射線防護衣は、放射線被曝による身体への健康被害を避けるため、高い遮蔽性を有する鉛等を含有した塩化ビニル樹脂等の放射線遮蔽シートを用いて製作されており、その1着当たりの重量は2~4kgと非常に重たい。
【先行技術文献】
【特許文献】
【0004】
特許5758623号公報
【発明の概要】
【発明が解決しようとする課題】
【0005】
ところで、上記従来技術に開示の放射線防護衣は、上下3段の面ファスナ、特に、最下段の面ファスナの係合位置によって使用者の骨盤を含む腰回りにおける安定性を確保することができるようになっている。
【0006】
しかしながら、上記従来技術に開示の放射線防護衣にあっては、上述したような重量(荷重)が肩部にも加わるため、着衣時間が長いことと相まって、作業負担を軽減することはできないかとの要望があった。
【0007】
本発明の目的は、使用者の肩に加わる過重負荷を軽減するとともに、使用者の肩と生地との接触面積を少なくし得て、擦れに伴う違和感を軽減することができる放射線防護衣を提供することにある。
【課題を解決するための手段】
【0008】
上記課題を解決するため、本発明は、着衣時に使用者の人体背面を覆う後身頃部と、着衣時に使用者の人体前面を重ね合わせた状態で覆う左身頃部及び右身頃部と、を備え、前記後身頃部の左右外側縁部の下方部位と前記左身頃部の内側縁部の下方部位及び前記右身頃部の内側縁部の下方部位とをそれぞれ接合縁部として互いに接合されるとともに、着衣時に前記各下方部位よりも上方部位を非接合凹縁部として使用者の両腕を通す肩口が形成される、放射線防護衣において、前記後身頃部の内面側左右に設けられて、上下方向に延びる帯状とされた一対の雌雄一方の固定面ファスナと、帯状に延び且つ前記固定面ファスナとそれぞれ係合することで帯状の腰ベルトを上下方向に可変に保持する一対の雌雄他方の自由面ファスナと、前記後身頃部の前記非接合凹縁部から前記左身頃部の前記非接合凹縁部、及び、前記後身頃部の前記非接合凹縁部から前記右身頃部の前記非接合凹縁部、の各内面側に跨る環状の中空管体と、を備えるものである。
【0009】
腰ベルトを左右前身頃の合わせとは独立して高さ調節可能に配置したため、その高さ調節後に使用者の腰部で重量荷重を安定して支えることができる。また、使用者の肩とは中空管体のみの接触としても、全体荷重を腰ベルトに集中させることができるため、使用者の肩への過重負荷は接触面積が少なくても食い込み等が発生しない。
【0010】
これにより、使用者の肩に生地が接触しないため、肩と生地とが接触して擦れることが抑制される。
【発明の効果】
(【0011】以降は省略されています)
この特許をJ-PlatPat(特許庁公式サイト)で参照する
関連特許
個人
原子力プラント
9日前
個人
超音波振動子の利用
9日前
パテントフレア株式会社
磁力(磁気エネルギー)の特性を利用した放射線制御法
20日前
株式会社日立製作所
蒸発乾固装置および蒸発乾固方法
14日前
個人
重希ガス冷却原子炉、耐震原子力発電所、起動装置付き重希ガス冷却原子炉、重放射性廃棄物投棄体
1日前
日立GEベルノバニュークリアエナジー株式会社
沸騰水型原子炉の燃料集合体及び炉心
7日前
日立GEベルノバニュークリアエナジー株式会社
キャスク及びその運用設備
14日前
東京電力ホールディングス株式会社
吸着塔内吸着材乾燥における乾燥運転復旧方法
20日前
総合企画開発合同会社
軽水素とトリチウムを含む対象物または気体の処理装置および処理方法
15日前
日立GEベルノバニュークリアエナジー株式会社
原子炉建屋の構築方法および屋根構造体
13日前
アイピージー フォトニクス コーポレーション
X線装置
8日前
株式会社東芝
原子力設備解体方法および原子力設備解体システム
6日前
三菱重工業株式会社
放射性廃棄物収納用セパレータ、放射性廃棄物収納容器および放射性廃棄物収納方法
9日前
株式会社東芝
自動交換装置、自動交換システム、および自動交換装置の車輪
20日前
デューテリウム エナジェティクス リミテッド
低エネルギー核反応の制御方法および装置
9日前
コリア ハイドロ アンド ニュークリアー パワー カンパニー リミテッド
小型原子炉装置の運用方法
1日前
国立研究開発法人量子科学技術研究開発機構
放射性核種製造システム、及び、放射性核種製造方法
20日前
コリア ハイドロ アンド ニュークリアー パワー カンパニー リミテッド
放射性廃棄物ガラス繊維の処理方法
8日前
コリア ハイドロ アンド ニュークリアー パワー カンパニー リミテッド
小型原子炉の冷却システムおよび冷却方法
8日前
日本碍子株式会社
放射性廃棄物の処理方法及び保管装置
14日前
中国華能集団有限公司
原子力発電所の冷却水に用いられるヒートパイプ熱交換器装置
7日前
ウェスティングハウス エレクトリック カンパニー エルエルシー
マイクロ原子炉においてコンパクトであってより高い出力密度のコアを可能にする高温ハイドライド減速材
1日前
他の特許を見る