TOP
|
特許
|
意匠
|
商標
特許ウォッチ
Twitter
他の特許を見る
公開番号
2025158060
公報種別
公開特許公報(A)
公開日
2025-10-16
出願番号
2024134783
出願日
2024-08-13
発明の名称
原子力発電所の冷却水に用いられるヒートパイプ熱交換器装置
出願人
中国華能集団有限公司
,
CHINA HUANENG GROUP CO., LTD
,
華能核能技術研究院有限公司
代理人
園田・小林弁理士法人
主分類
G21C
15/257 20060101AFI20251008BHJP(核物理;核工学)
要約
【課題】原子力発電所の冷却水に用いられるヒートパイプ熱交換器装置を提供する。
【解決手段】ヒートパイプ熱交換器装置は処理機器と詰まり防止アセンブリと駆動アセンブリと灰清掃アセンブリとを含む。詰まり防止アセンブリは処理機器に含まれるハウジングの内部に設けられた濾過網と濾過網の外壁に設けられた凹溝とハウジングの内部に設けられた仕切板と仕切板の外壁に貫通開設された灰落下溝とを含む。灰清掃アセンブリはハウジングの内部に設けられた収容室と収容室の内壁に設けられたガイドレールと収容室の内部に可動に設けられた灰収集箱と灰収集箱の外壁に開設されたガイド溝とを含む。モータを起動することにより移動柱を上下に移動させて濾過網を押して濾過網上の不純物を振り落とす。取付板が移動することにより清掃ブラシが清掃作業を完了し、取付板が移動する過程では移動ドアが開いて作業者が塵埃を除去することを容易にする。
【選択図】図1
特許請求の範囲
【請求項1】
原子力発電所の冷却水に用いられるヒートパイプ熱交換器装置であって、
処理機器(K)と、詰まり防止アセンブリ(100)と、駆動アセンブリ(200)と、灰清掃アセンブリ(300)とを含み、
前記処理機器(K)は、ハウジング(K―1)と、それぞれ前記ハウジング(K―1)の外壁に設けられた吸気孔(K―11)、排気口(K―12)、給水口(K―13)及び排水口(K―14)と、前記ハウジング(K―1)の内部に設けられたヒートパイプ(K―15)とを含み、
前記詰まり防止アセンブリ(100)は、前記ハウジング(K―1)の内部に設けられた濾過網(101)と、前記濾過網(101)の外壁に設けられた凹溝(101a)と、前記ハウジング(K―1)の内部に設けられた仕切板(102)と、前記仕切板(102)の外壁に貫通開設された灰落下溝(102a)とを含み、
前記駆動アセンブリ(200)は、モータ(201)と、前記モータ(201)の下方に設けられたセット板(201a)と、前記モータ(201)の出力端に設けられた回転軸(201b)とを含み、
前記灰清掃アセンブリ(300)は、前記ハウジング(K―1)の内部に設けられた収容室(301)と、前記収容室(301)の内壁に設けられたガイドレール(301a)と、前記収容室(301)の内部に可動に設けられた灰収集箱(302)と、前記灰収集箱(302)の外壁に開設されたガイド溝(302a)とを含む、ことを特徴とする原子力発電所の冷却水に用いられるヒートパイプ熱交換器装置。
続きを表示(約 2,000 文字)
【請求項2】
前記ハウジング(K―1)の内壁にバンプ(101b)が設けられ、且つ前記バンプ(101b)は、前記凹溝(101a)と可動に嵌合し、前記仕切板(102)の外壁に可動通路(102b)が開設され、前記仕切板(102)の上方に取付板(103)が可動に設けられ、前記取付板(103)の下方に清掃ブラシ(103a)が設けられている、ことを特徴とする請求項1に記載の原子力発電所の冷却水に用いられるヒートパイプ熱交換器装置。
【請求項3】
前記回転軸(201b)の一端に回転盤(202)が設けられ、前記回転盤(202)の外壁に第1回転柱(202a)が設けられ、前記第1回転柱(202a)の外壁に可動ロッド(202a―1)が設けられ、前記可動ロッド(202a―1)の一端に操作ロッド(202a―12)が設けられ、前記取付板(103)の外部に可動フレーム(203)が設けられている、ことを特徴とする請求項2に記載の原子力発電所の冷却水に用いられるヒートパイプ熱交換器装置。
【請求項4】
前記可動フレーム(203)の内部に嵌合溝(203a)が設けられ、且つ前記嵌合溝(203a)は、前記操作ロッド(202a―12)と可動に嵌合し、前記可動フレーム(203)の外壁に第1スライド溝(203b)が設けられ、前記取付板(103)の上方に位置決め板(203b―1)が設けられ、且つ前記位置決め板(203b―1)は、前記第1スライド溝(203b)と可動に嵌合し、前記位置決め板(203b―1)の上方に接続板(204)が設けられている、ことを特徴とする請求項3に記載の原子力発電所の冷却水に用いられるヒートパイプ熱交換器装置。
【請求項5】
前記接続板(204)の外壁に貫通孔(204a)が設けられ、前記貫通孔(204a)の内部に移動柱(204b)が可動に設けられ、前記移動柱(204b)の下方は、前記可動フレーム(203)に接続され、且つ前記移動柱(204b)の外壁に弾性部材(204b―1)が外嵌され、前記取付板(103)の側壁にプッシュロッド(205)が設けられ、且つ前記プッシュロッド(205)は、前記可動通路(102b)と可動に嵌合する、ことを特徴とする請求項4に記載の原子力発電所の冷却水に用いられるヒートパイプ熱交換器装置。
【請求項6】
前記プッシュロッド(205)の一端に、伝動ラック(303)が設けられ、且つ前記伝動ラック(303)の外壁に伝動ギア(304)が噛合して設けられ、前記伝動ギア(304)の外壁に第2回転柱(304a)が設けられている、ことを特徴とする請求項5に記載の原子力発電所の冷却水に用いられるヒートパイプ熱交換器装置。
【請求項7】
前記第2回転軸(304a)の外壁に第2スライド溝(304a―1)が設けられ、且つ前記第2スライド溝(304a―1)の外壁にスライドロッド(304a―11)が設けられ、且つ前記スライドロッド(304a―11)の外壁に配向溝(304a―12)が設けられている、ことを特徴とする請求項6に記載の原子力発電所の冷却水に用いられるヒートパイプ熱交換器装置。
【請求項8】
前記スライドロッド(304a―11)の一端に押し板(305)が設けられ、前記収容室(301)の内壁に方向ガイド溝(303a)が設けられ、且つ前記方向ガイド溝(303a)は、前記伝動ラック(303)と可動に嵌合し、前記押し板(305)の上方に押し柱(305a)が設けられ、前記ハウジング(K―1)の外壁にそれぞれ第3スライド溝(306b)と第4スライド溝(306a―1)が設けられ、且つ前記第3スライド溝(306b)の内部に移動ドア(306)が可動に設けられている、ことを特徴とする請求項7に記載の原子力発電所の冷却水に用いられるヒートパイプ熱交換器装置。
【請求項9】
前記移動ドア(306)の外壁に取付ブロック(306a)が設けられ、且つ前記取付ブロック(306a)は、前記第4スライド溝(306a―1)と可動に嵌合し、前記押し柱(305a)は、前記取付ブロック(306a)と可動に嵌合する、ことを特徴とする請求項8に記載の原子力発電所の冷却水に用いられるヒートパイプ熱交換器装置。
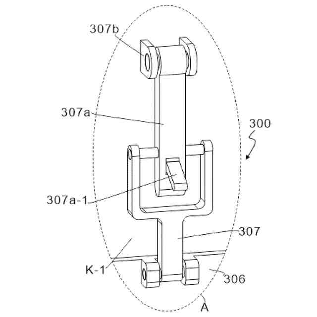
【請求項10】
前記移動ドア(306)の外壁に第1係合ロッド(307)が可動に設けられ、前記ハウジング(K―1)の外壁に係合ブロック(307b)が設けられ、且つ前記係合ブロック(307b)と前記第1係合ロッド(307)との間に第2係合ロッド(307a)が設けられ、前記第2係合ロッド(307a)の外壁にハンドル(307a―1)が設けられている、ことを特徴とする請求項9に記載の原子力発電所の冷却水に用いられるヒートパイプ熱交換器装置。
発明の詳細な説明
【技術分野】
【0001】
本発明は、原子力発電所の技術分野に関し、特に原子力発電所の冷却水に用いられるヒートパイプ熱交換器装置に関する。
続きを表示(約 2,200 文字)
【背景技術】
【0002】
原子力発電所の冷却水システムは、原子力発電所における1つの重要な構成部分であり、原子炉及び他の機器を冷却するために用いられ、冷却水システムは、主に循環水システム及び排出水システムを含み、循環水システムは、原子力発電所の冷却水システムのコア部分であり、それは、循環水によって原子炉が発生した熱を吸収し、そして、熱を運び去る。また、ヒートパイプ熱交換器は、高効率の熱交換機器であり、原子力発電所の冷却水システムによく用いられ、ヒートパイプ熱交換器は、ヒートパイプの動作原理を利用して熱の伝達を行い、体積が小さく、熱伝導効率が高く、信頼性が高いなどの利点を有し、原子力発電所の冷却水システムでおいて、ヒートパイプ熱交換器は、原子炉と循環水との間の熱の伝達に用いることができ、熱伝導効率を向上させ、エネルギー損失を減少させる作用を果たす。
【発明の概要】
【発明が解決しようとする課題】
【0003】
現在、ヒートパイプ熱交換器が使用される過程では、入った煙気又は水源に一部の不純物が存在する可能性があり、通常、濾過網を設けてそれらを濾過するが、濾過網が一定の時間使用された後、網面に不純物が蓄積される可能性があり、そによって、濾過効果が悪くて目詰まりを引き起こす状況が発生し、蓄積された塵埃をタイムリーにハウジング外に除去する必要があり、上記問題に基づき、本発明者らは、原子力発電所の冷却水に用いられるヒートパイプ熱交換器装置を提案する。
【課題を解決するための手段】
【0004】
上記技術的問題に鑑みて、本発明を提案する。
上記技術的問題を解決するために、本発明は、以下の技術的解決手段を提供する。原子力発電所の冷却水に用いられるヒートパイプ熱交換器装置であって、当該ヒートパイプ熱交換器装置は、処理機器と、詰まり防止アセンブリと、駆動アセンブリと、灰清掃アセンブリとを含み、前記処理機器は、ハウジングと、それぞれ前記ハウジングの外壁に設けられた吸気孔、排気口、給水口及び排水口と、前記ハウジングの内部に設けられたヒートパイプとを含み、前記詰まり防止アセンブリは、前記ハウジングの内部に設けられた濾過網と、前記濾過網の外壁に設けられた凹溝と、前記ハウジングの内部に設けられた仕切板と、前記仕切板の外壁に貫通開設された灰落下溝とを含み、前記駆動アセンブリは、モータと、前記モータの下方に設けられたセット板と、前記モータの出力端に設けられた回転軸と含み、前記灰清掃アセンブリは、前記ハウジングの内部に設けられた収容室と、前記収容室の内壁に設けられたガイドレールと、前記収容室の内部に可動に設けられた灰収集箱と、前記灰収集箱の外壁に開設されたガイド溝とを含む。
【0005】
本発明に係る原子力発電所の冷却水に用いられるヒートパイプ熱交換器装置の好適な技術的手段として、前記ハウジングの内壁にバンプが設けられ、且つ前記バンプは、前記凹溝と可動に嵌合し、前記仕切板の外壁に可動通路が開設され、前記仕切板の上方に取付板が可動に設けられ、前記取付板の下方に清掃ブラシが設けられている。
【0006】
本発明に係る原子力発電所の冷却水に用いられるヒートパイプ熱交換器装置の好適な技術的手段として、前記回転軸一端に回転盤が設けられ、前記回転盤の外壁に第1回転柱が設けられ、前記第1回転柱の外壁に可動ロッドが設けられ、前記可動ロッドの一端に操作ロッドが設けられ、前記取付板の外部に可動フレームが設けられている。
【0007】
本発明に係る原子力発電所の冷却水に用いられるヒートパイプ熱交換器装置の好適な技術的手段として、前記可動フレームの内部に嵌合溝が設けられ、且つ前記嵌合溝は、前記操作ロッドと可動に嵌合し、前記可動フレームの外壁に第1スライド溝が設けられ、前記取付板の上方に位置決め板が設けられ、且つ前記位置決め板は、前記第1スライド溝と可動に嵌合し、前記位置決め板の上方に接続板が設けられている。
【0008】
本発明に係る原子力発電所の冷却水に用いられるヒートパイプ熱交換器装置の好適な技術的手段として、前記接続板の外壁に貫通孔が設けられ、前記貫通孔の内部に移動柱が可動に設けられ、前記移動柱の下方は、前記可動フレームに接続され、且つ前記移動柱の外壁に弾性部材が外嵌され、前記取付板の側壁にプッシュロッドが設けられ、且つ前記プッシュロッドは、前記可動通路と可動に嵌合する。
【0009】
本発明に係る原子力発電所の冷却水に用いられるヒートパイプ熱交換器装置の好適な技術的手段として、前記プッシュロッドの一端に伝動ラックが設けられ、且つ前記伝動ラックの外壁に伝動ギアが噛合して設けられ、前記伝動ギアの外壁に第2回転柱が設けられている。
【0010】
本発明に係る原子力発電所の冷却水に用いられるヒートパイプ熱交換器装置の好適な技術的手段として、前記第2回転軸の外壁に第2スライド溝が設けられ、且つ前記第2スライド溝の外壁にスライドロッドが設けられ、且つ前記スライドロッドの外壁に配向溝が設けられている。
(【0011】以降は省略されています)
この特許をJ-PlatPat(特許庁公式サイト)で参照する
関連特許
中国華能集団有限公司
原子力発電所の冷却水に用いられるヒートパイプ熱交換器装置
9日前
個人
原子力プラント
11日前
個人
常温核融合装置
6か月前
個人
常温核融合装置
6か月前
個人
常温核融合装置
6か月前
個人
超音波振動子の利用
11日前
個人
トリチウムの除去装置
6か月前
個人
廃炉方法及び固化材
26日前
個人
元素変換用固体核融合工程
4か月前
個人
安山岩を利用した放射線消去装置
5か月前
個人
安山岩を利用した放射線消去装置
4か月前
個人
金属製軽水炉使用済核燃料増殖原子炉
7か月前
パテントフレア株式会社
核融合反応促進法
6か月前
パテントフレア株式会社
核融合反応促進法
5か月前
個人
はんれい岩を利用した放射線消去装置
4か月前
個人
コンクリート船に乗せた、原子力発電
7か月前
個人
装置、加速器、減速器、核変換システム
6か月前
合同会社日本レプトン
電子発生ペースト
1か月前
株式会社エー・アンド・デイ
X線検査装置
5か月前
株式会社エー・アンド・デイ
X線検査装置
5か月前
中部電力株式会社
立ち入り管理装置
9か月前
個人
ホウ素を用いるミューオン触媒核融合システム
6か月前
個人
核変換システム、加工装置、除去装置、切除装置
5か月前
栗田工業株式会社
放射性廃液の処理方法
26日前
PDRファーマ株式会社
遮蔽容器
5か月前
個人
過剰熱発生方法
7か月前
株式会社シェルタージャパン
放射線遮蔽構造
7か月前
国立大学法人大阪大学
原子力発電装置
5か月前
住友重機械工業株式会社
搬送システム
3か月前
合同会社日本レプトン
電子発生器具及びその製造方法
1か月前
合同会社日本レプトン
電子発生器具及びその製造方法
1か月前
浜松ホトニクス株式会社
電子線照射装置
6か月前
浜松ホトニクス株式会社
電子線照射装置
6か月前
個人
共振励起型固体核融合装置と元素変換用固体核融合工程
4か月前
個人
過剰熱起電力発生方法
4か月前
三菱重工業株式会社
加圧容器
1か月前
続きを見る
他の特許を見る