TOP
|
特許
|
意匠
|
商標
特許ウォッチ
Twitter
他の特許を見る
10個以上の画像は省略されています。
公開番号
2025155428
公報種別
公開特許公報(A)
公開日
2025-10-14
出願番号
2024059256
出願日
2024-04-01
発明の名称
原子力プラント
出願人
個人
代理人
主分類
G21C
13/00 20060101AFI20251006BHJP(核物理;核工学)
要約
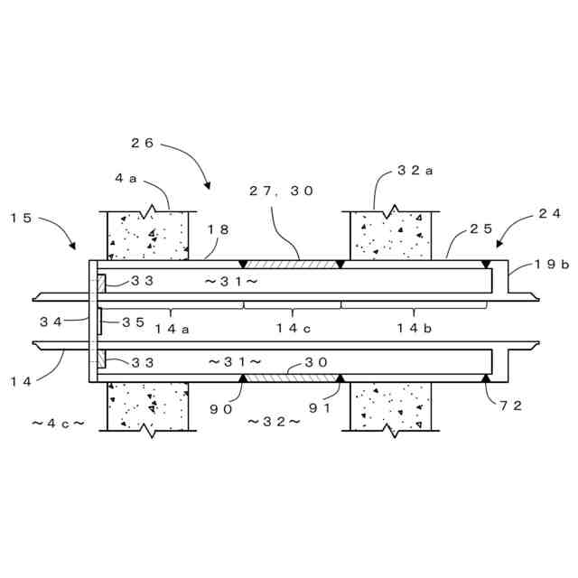
【課題】鉄筋コンクリート製の二重殻原子炉格納容器においてプロセス配管がドライウェル貫通部と外部ウェル貫通部の間で破断しても外部ウェル内の圧力が外部ウェルの設計圧力を超えて上昇することがない原子力プラントを提供する。
【解決手段】実施形態による原子力プラントは、二重殻原子炉格納容器20のドライウェル貫通部15と外部ウェル貫通部24の間を通過するプロセス配管を外部ウェル防護手段27で取り囲み外部ウェル32から隔離することを特徴とする。
【選択図】図1
特許請求の範囲
【請求項1】
炉心と、
前記炉心を収納する原子炉圧力容器と、
前記原子炉圧力容器を収納するドライウェルと、前記ドライウェルとLOCAベント管を介して連結された圧力抑制プールを下部に収納し上部にウェットウェル気相部を有するウェットウェルと、を有する鉄筋コンクリート製の原子炉格納容器と、
前記原子炉格納容器内で前記原子炉圧力容器をRPVスカートとRPVサポートを介して支えてその内部にペデスタルキャビティを形成するペデスタルと、
前記ドライウェルの前記RPVスカートよりも上の空間である上部ドライウェルと、
前記上部ドライウェルの外壁を構成するドライウェル壁と、
前記ウェットウェルの外壁を構成するウェットウェル壁と、
前記ドライウェル壁と前記ウェットウェル壁とからなる原子炉格納容器の外壁と、
前記原子炉格納容器の外部に設けられ前記原子炉格納容器の外壁を介して隣接し前記原子炉格納容器の外壁の周囲を取り囲み前記原子炉格納容器と同等の耐圧性と気密性を有する鉄筋コンクリート製の外部ウェルと、
前記外部ウェルの外壁である外部ウェル壁と、
前記原子炉格納容器の外壁の上端と前記外部ウェル壁の上端を気密に接続する前記外部ウェルのトップスラブと、
前記原子炉格納容器と前記外部ウェルとからなり前記原子炉格納容器の外壁を第1の殻(内殻)とし前記外部ウェルの外壁を第2の殻(外殻)として有する鉄筋コンクリート製の二重殻原子炉格納容器と、
前記原子炉圧力容器に接続され前記ドライウェル壁と前記外部ウェル壁を貫通し前記二重殻原子炉格納容器の外部に至るプロセス配管と、
前記ドライウェル壁を貫通し前記プロセス配管のための通路を前記ドライウェル壁内に形成するドライウェル壁防護スリーブと、
前記ドライウェル壁防護スリーブと前記ドライウェル防護スリーブの内部を通過する前記プロセス配管の部分とからなるドライウェル貫通部と、
前記外部ウェル壁を貫通し前記プロセス配管のための通路を前記外部ウェル壁内に形成する外部ウェル壁防護スリーブと、
前記外部ウェル壁防護スリーブと前記外部ウェル壁防護スリーブの内部を通過する前記プロセス配管の部分とからなる外部ウェル貫通部と、
前記ドライウェル貫通部と前記外部ウェル貫通部の間に設けられ前記ドライウェル貫通部と前記外部ウェル貫通部の間を通過する前記プロセス配管の部分を取り囲み前記外部ウェルから隔離する外部ウェル防護手段と、を有し、
前記プロセス配管が破断した場合に破断流が前記外部ウェル内に流入しないことを特徴とする原子力プラント。
続きを表示(約 950 文字)
【請求項2】
前記外部ウェル防護手段は外部ウェル防護配管であり、該外部ウェル防護配管は前記ドライウェル壁防護スリーブと前記外部ウェル壁防護スリーブに溶接されていることを特徴とする請求項1に記載の原子力プラント。
【請求項3】
前記ドライウェル壁防護スリーブの前記上部ドライウェル側の端に開閉可能な蓋をさらに設けたことを特徴とする請求項1および2に記載の原子力プラント。
【請求項4】
前記ドライウェル壁防護スリーブと前記外部ウェル防護手段と前記外部ウェル防護スリーブは一体化されたプロセス配管貫通部防護スリーブを構成していることを特徴とする請求項1に記載の原子力プラント。
【請求項5】
前記プロセス配管貫通部防護スリーブにベローズをさらに設けたことを特徴とする請求項4に記載の原子力プラント。
【請求項6】
前記プロセス配管貫通部防護スリーブの前記上部ドライウェル側の端に開閉可能な蓋をさらに設けたことを特徴とする請求項4および5に記載の原子力プラント。
【請求項7】
前記ドライウェル壁の外側で前記プロセス配管から外周部に伸び前記ドライウェル壁防護スリーブと溶接されるドライウェル貫通部端板をさらに設け、前記外部ウェル防護手段は前記ドライウェル壁端板と前記外部ウェル壁防護スリーブに溶接されていることを特徴とする請求項1に記載の原子力プラント。
【請求項8】
前記外部ウェル壁防護スリーブの前記外部ウェル側の端に接続し前記プロセス配管に溶接されるドライウェル貫通部端板をさらに設け、前記外部ウェル防護手段は前記ドライウェル壁防護スリーブと前記ドライウェル貫通部端板に溶接されたことを特徴とする請求項1に記載の原子力プラント。
【請求項9】
前記ドライウェル壁防護スリーブの外周にさらにドライウェル壁2次スリーブとベローズを設けたことを特徴とする請求項1、2、3、7、8に記載の原子力プラント。
【請求項10】
前記外部ウェル壁防護スリーブの外周にさらに外部ウェル壁2次スリーブとベローズを設けたことを特徴とする請求項1、2、3、7、8に記載の原子力プラント。
発明の詳細な説明
【技術分野】
【0001】
本発明は、鉄筋コンクリート製の二重殻原子炉格納容器を有する原子力プラントに関するものである。
続きを表示(約 3,300 文字)
【背景技術】
【0002】
従来の原子力プラントの鉄筋コンクリート製原子炉格納容器について図11から図17によりその概要を説明する。
【0003】
(図11:従来の第1の原子力プラントの説明)
図11は、従来の第1の原子力プラントの原子炉格納容器まわりの構成の例を示す立断面図である。図11において、炉心1は原子炉圧力容器(RPV)2の内部に収納されている。原子炉圧力容器2は、原子炉格納容器3内に収納されている。原子炉格納容器3は円筒形状をしている(図12を参照。)。この原子炉格納容器3は新型BWR(ABWR)で採用されているものである。原子炉格納容器3は、鉄筋コンクリート製であり鉄筋コンクリート製原子炉格納容器(RCCV)12とも呼ばれている。RCCV12の内面には鋼製ライナー(図示せず)が張られている。原子炉格納容器3(RCCV12)の底部には鉄筋コンクリート製の基礎スラブ13が設けられている。基礎スラブ13は原子炉格納容器3の一部を構成している。基礎スラブ13の上面には鋼製ライナー(図示せず)が張られている。
【0004】
原子炉格納容器3の内部は、原子炉圧力容器2を収納するドライウェル4と、ウェットウェル5とに区分けされており、ドライウェル4とウェットウェル5は原子炉格納容器3の一部を構成する。ウェットウェル5は内部に圧力抑制プール6を形成している。圧力抑制プール6の上方にはウェットウェル気相部7が形成されている。ドライウェル4の外壁は円筒壁でありドライウェル壁4aと呼ぶ。ウェットウェル5の外壁も円筒壁でありウェットウェル壁5aと呼ぶ。ドライウェル壁4aとウェットウェル壁5aは一体化して原子炉格納容器3の外壁(円筒壁)3aを構成している(図12を参照)。円筒壁3aの内径は約29mである。ただし、円筒壁3aの内径は29mに限定されない。円筒壁3aの厚さは約2mである。ただし、円筒壁3aの厚さは2mに限定されない。ドライウェル4の天井は平板になっておりこの部分をドライウェル4のトップスラブ4bと呼ぶ。
【0005】
原子炉圧力容器2は、RPVスカート62およびRPVサポート63を介して、円筒状のペデスタル61により支持されている。ペデスタル61は、鋼板とコンクリートの複合構造である。ドライウェル4のうち原子炉圧力容器2の下方であって、ペデスタル61の円筒状の壁により囲まれるペデスタル61の内側の空間を、ペデスタルキャビティ61aという。ABWRのRCCV12の場合はペデスタル61の円筒状の壁はウェットウェル5とドライウェル4の境界の壁を形成していて特にこの空間を下部ドライウェル4dと呼んでいる。
【0006】
ABWRのRCCV12の場合はドライウェル4のRPVサポート62よりも上の空間を上部ドライウェル4cと呼んでいる。ウェットウェル5の天井は平板になっていて上部ドライウェル4cとの境界を形成している。この部分は上部ドライウェル4cの床を構成しておりダイアフラム床5bと呼んでいる。
【0007】
原子炉圧力容器2の上方に原子炉格納容器上蓋10が配置されている。原子炉格納容器上蓋10は鋼製で燃料交換時に取り外し可能な構造になっている。
【0008】
ドライウェル4と圧力抑制プール6はLOCAベント管8により連結されている。LOCAは冷却材喪失事故の略称である。LOCAベント管8はたとえば10本など複数個設置されるが図9では2本のみを表示している(図12を参照)。LOCAベント管8は圧力抑制プール6のプール水に水没している部分に水平ベント管8aがありプール水中に開口している。RCCV12の場合は、水平ベント管8aは一つのLOCAベント管8に縦方向に3本設置されている。また、RCCV12の場合は、LOCAベント管8はペデスタル61の円筒状の壁の内部を通って設置されている。そのためRCCV12の場合は、このペデスタル61の円筒状の壁をベント壁とも言う。ベント壁は厚さ約1.7mの鋼板コンクリート製で内側と外側の表面は鋼製である。LOCAベント管8とペデスタル61は原子炉格納容器3の一部を構成する。ドライウェル4内で配管破断が発生してLOCAが起きた場合は破断流から発生した蒸気がLOCAベント管8により圧力抑制プール6内に導かれて凝縮することによって原子炉圧力容器3の圧力を抑制できるようになっている。原子炉格納容器3の設計圧力は約3.16kg/cm2(ゲージ圧力)である。ただし、原子炉格納容器3の設計圧力は3.16kg/cm2(ゲージ圧力)に限定されない。
【0009】
図11に示すように上部ドライウェル4c内には原子炉圧力容器2に接続されたプロセス配管14が設けられている。プロセス配管14の材質は圧力容器用炭素鋼で鍛造品である。プロセス配管14はドライウェル貫通部15を通り原子炉格納容器3の外部に伸びている。プロセス配管14は原子力プラントの通常の運転と停止に使用される。プロセス配管14の代表的な例としては、主蒸気配管と給水配管がある。主蒸気配管と給水配管は原子炉建屋(図示せず)の外部のタービン建屋(図示せず)まで伸びている。また、その他の例としては、残留熱除去系の停止時冷却モードの吸込み配管と炉水浄化系の吸込み配管があるが、これらには限定されない。プロセス配管14は実際には破断することはないが、規制上の要求としてプロセス配管14が破断することを想定しても原子力プラントの安全性が維持できるように設計することが求められている。そのため、プロセス配管14には原則としてドライウェル貫通部15に近接してドライウェル4の内側に内側隔離弁16と外側に外側隔離弁17が設けられている。内側隔離弁16と外側隔離弁17は通常時は開で事故時には自動的に閉鎖する。原子炉圧力容器2内あるいはドライウェル4内で放射性物質の放出を伴う事故が発生した場合は、内側隔離弁16と外側隔離弁17は自動的に閉鎖して原子炉圧力容器2内およびドライウェル4内の放射性物質がプロセス配管14の内部を通ってドライウェル4の外部に漏洩することを防止する。また、ドライウェル4の外部でプロセス配管14が破断することを想定した場合には内側隔離弁16と外側隔離弁17は自動的に閉鎖して原子炉圧力容器2内の炉水と放射性物質がドライウェル4の外部に流出することを防止する。
【0010】
図13および図14を参照して、従来の第1の原子力プラントの原子炉格納容器3である鉄筋コンクリート製原子炉格納容器(RCCV)12のドライウェル貫通部15の構成についてその概要を説明する。
(図13:ドライウェル貫通部の詳細図の説明)
図13は、従来の第1の原子力プラント(ABWR)の鉄筋コンクリート製原子炉格納容器(RCCV)12のドライウェル貫通部15の構成の例を示す断面図である。図13において、ドライウェル壁4aを貫通するドライウェル壁防護スリーブ18が設けられている。ドライウェル壁防護スリーブ18は円筒状の配管である。ドライウェル壁防護スリーブ18は鋼製である。ドライウェル壁防護スリーブ18はプロセス配管14がドライウェル壁4aを貫通して通過するための通路を形成している(スリーブ機能)。また、ドライウェル壁防護スリーブ18はプロセス配管14がドライウェル壁防護スリーブ18の内部で破断した際に発生する可能性のある配管の衝突やジェットに耐えられる強度を有している。これよってドライウェル壁4aが損傷しないように防護する機能を有している(防護機能)。ドライウェル壁防護スリーブ18は一般には単にスリーブと呼ばれることが多いが以下では明確化のためドライウェル壁防護スリーブ18と呼ぶ。ドライウェル壁防護スリーブ18のドライウェル壁4aの外側の端はドライウェル壁貫通部端板19aによって気密に閉鎖されている。
(【0011】以降は省略されています)
この特許をJ-PlatPat(特許庁公式サイト)で参照する
関連特許
個人
常温核融合装置
5か月前
個人
常温核融合装置
5か月前
個人
常温核融合装置
5か月前
個人
原子力プラント
3日前
個人
超音波振動子の利用
3日前
個人
トリチウムの除去装置
6か月前
個人
元素変換用固体核融合工程
4か月前
個人
廃炉方法及び固化材
18日前
個人
安山岩を利用した放射線消去装置
3か月前
個人
安山岩を利用した放射線消去装置
4か月前
パテントフレア株式会社
核融合反応促進法
6か月前
個人
金属製軽水炉使用済核燃料増殖原子炉
6か月前
個人
はんれい岩を利用した放射線消去装置
3か月前
パテントフレア株式会社
核融合反応促進法
5か月前
個人
装置、加速器、減速器、核変換システム
6か月前
合同会社日本レプトン
電子発生ペースト
22日前
株式会社エー・アンド・デイ
X線検査装置
5か月前
株式会社エー・アンド・デイ
X線検査装置
5か月前
個人
ホウ素を用いるミューオン触媒核融合システム
6か月前
栗田工業株式会社
放射性廃液の処理方法
18日前
個人
核変換システム、加工装置、除去装置、切除装置
5か月前
PDRファーマ株式会社
遮蔽容器
5か月前
国立大学法人大阪大学
原子力発電装置
5か月前
住友重機械工業株式会社
搬送システム
3か月前
個人
共振励起型固体核融合装置と元素変換用固体核融合工程
3か月前
合同会社日本レプトン
電子発生器具及びその製造方法
22日前
浜松ホトニクス株式会社
電子線照射装置
5か月前
浜松ホトニクス株式会社
電子線照射装置
5か月前
合同会社日本レプトン
電子発生器具及びその製造方法
22日前
日揮株式会社
放射性廃棄物の固化処理方法
6か月前
株式会社アキュサイト
放射性物質の処理装置および方法
6か月前
個人
過剰熱起電力発生方法
4か月前
三菱重工業株式会社
加圧容器
1か月前
株式会社大林組
埋め戻し材、埋め戻し材の製造方法
2か月前
株式会社イトーキ
放射線遮蔽扉
3か月前
清水建設株式会社
放射線遮蔽壁
6か月前
続きを見る
他の特許を見る