TOP
|
特許
|
意匠
|
商標
特許ウォッチ
Twitter
他の特許を見る
10個以上の画像は省略されています。
公開番号
2025064321
公報種別
公開特許公報(A)
公開日
2025-04-17
出願番号
2023173965
出願日
2023-10-06
発明の名称
非接触型送気処理システム
出願人
BELLMATIC株式会社
代理人
個人
,
個人
,
個人
主分類
F26B
13/20 20060101AFI20250410BHJP(乾燥)
要約
【課題】コンパクト化を図るとともにメンテナンス性を向上できる非接触型送気処理システムを提供する。
【解決手段】
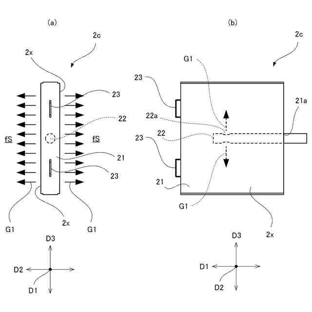
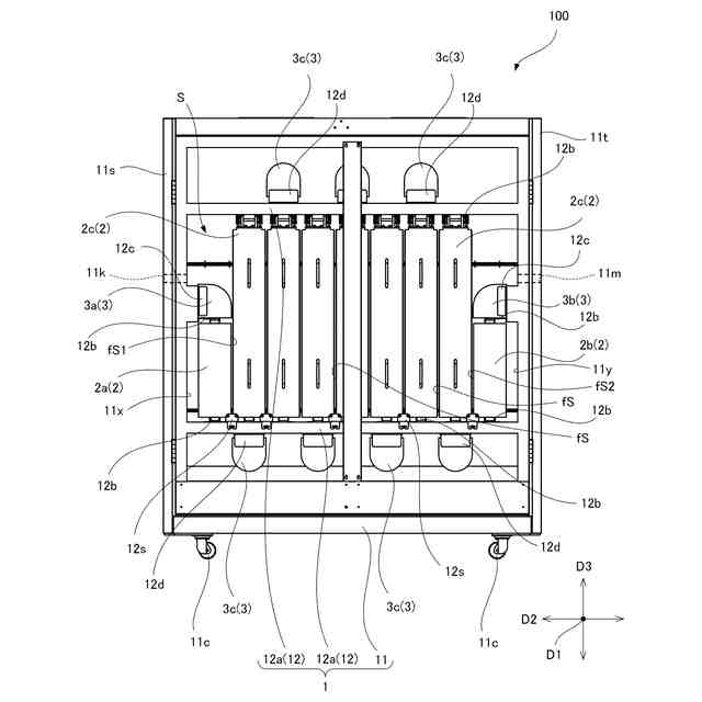
筐体本体11と、筐体本体11内の収容空間Sにおいて高さ方向D3に互いに間隔をあけて幅方向D2に延在する一対の横梁12と、各々が横梁12同士の間に配置されて横梁12に支持され、互いに幅方向D2にフィルム状物を配置するためのフィルム配置隙間fSをあけた状態で並んでフィルム配置隙間fSに向けて乾燥用ガスを吹き出すことでフィルム状物を乾燥させる複数の乾燥機2cと、収容空間Sにおいて各々の乾燥機2cに対して一方の横梁12または他方の横梁12を挟んで高さ方向D3に一つずつ並んで横梁12に支持され、フィルム浮揚用ガスを吹き出すことでフィルム状物の搬送方向を変化させて自身に対して搬送方向下流側に位置するフィルム配置隙間fSに案内する複数のターン装置3cとを備える。
【選択図】図4
特許請求の範囲
【請求項1】
搬送中のフィルム状物を浮揚しながら該フィルム状物に所定の処理を施す非接触型送気処理システムであって、
内側に収容空間を画成する箱状の筐体本体と、
前記収容空間において前記筐体本体の高さ方向(以下、筐体高さ方向)に互いに間隔をあけて配置され、かつ、各々が前記筐体本体の幅方向(以下、筐体幅方向)に延在することで、前記筐体本体の奥行方向(以下、筐体奥行方向)に正面視した際に前記収容空間を前記筐体高さ方向に仕切る一対の横梁と、
各々が前記収容空間において一対の前記横梁同士の間に配置されて少なくとも一方の前記横梁に支持され、互いに前記筐体幅方向に前記フィルム状物を配置するためのフィルム配置隙間をあけた状態で並んで、各々が前記フィルム配置隙間に向けて処理用ガスを吹き出すように送気することで非接触状態で前記フィルム状物を処理する複数の送気処理器と、
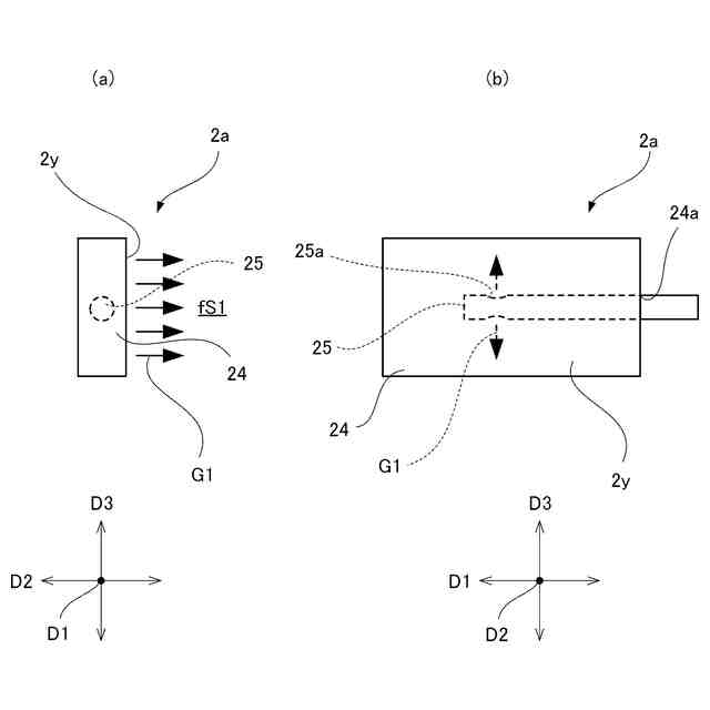
前記収容空間において各々の前記送気処理器に対して一方の前記横梁または他方の前記横梁を挟んで前記筐体高さ方向に一つずつ並んで該横梁に支持され、フィルム浮揚用ガスを吹き出すことで非接触状態で前記フィルム状物の搬送方向を変化させて自身に対して搬送方向下流側に位置する前記フィルム配置隙間に案内する複数のターン装置と、
を備える非接触型送気処理システム。
続きを表示(約 1,300 文字)
【請求項2】
各々の前記横梁のうちの少なくとも一方には、各々の前記送気処理器を前記筐体奥行方向にスライド移動可能に支持する送気処理器支持部材が設けられ、
各々の前記送気処理器は、前記送気処理器支持部材から前記筐体奥行方向の手前側に取り外し可能となっている請求項1に記載の非接触型送気処理システム。
【請求項3】
前記送気処理器支持部材は、前記送気処理器を前記筐体幅方向にスライド移動可能に支持している請求項2に記載の非接触型送気処理システム。
【請求項4】
各々の前記横梁には、各々の前記ターン装置を前記筐体奥行方向にスライド移動可能に支持するターン装置支持部材が設けられ、
各々の前記ターン装置は、前記ターン装置支持部材から前記筐体奥行方向の手前側に取り外し可能となっている請求項1に記載の非接触型送気処理システム。
【請求項5】
前記ターン装置支持部材は、前記ターン装置を前記筐体幅方向にスライド移動可能に支持している請求項4に記載の非接触型送気処理システム。
【請求項6】
前記筐体本体は、
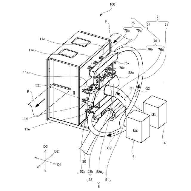
前記筐体奥行方向の奥側を向く面に設けられて、各々の前記送気処理器に前記処理用ガスを供給する送気処理器用給気管を挿入または接続可能な送気処理器用ガス供給口、および、各々の前記ターン装置に前記フィルム浮揚用ガスを供給するターン装置用給気管を挿入または接続可能なターン装置用ガス供給口を有する請求項1に記載の非接触型送気処理システム。
【請求項7】
搬送中のフィルム状物を浮揚しながら該フィルム状物に所定の処理を施す非接触型送気処理システムであって、
内側に収容空間を画成する箱状の筐体本体と、
前記収容空間において互いに前記筐体本体の幅方向((以下、筐体幅方向)に前記フィルム状物を配置するフィルム配置隙間をあけた状態で並び、各々が前記フィルム配置隙間に向けて処理用ガスを吹き出すように送気することで非接触状態で前記フィルム状物を処理させる複数の送気処理器と、
前記収容空間において各々の前記送気処理器に対して、前記筐体本体の高さ方向(以下、筐体高さ方向)に一つずつ並んで、フィルム浮揚用ガスを吹き出すことで非接触状態で前記フィルム状物の搬送方向を変化させて自身に対して搬送方向下流側に位置する前記フィルム配置隙間に案内する複数のターン装置と、
前記筐体本体に設けられ、各々の前記送気処理器を前記筐体本体の奥行方向(以下、筐体奥行方向)にスライド移動可能に支持する送気処理器支持部材と、
を備え、
各々の前記送気処理器は、前記送気処理器支持部材から前記筐体奥行方向の手前側に取り外し可能となっている非接触型送気処理システム。
【請求項8】
前記筐体幅方向に隣合う前記ターン装置のうちの一方は、前記送気処理器に対して前記筐体高さ方向の一方側に配置され、前記筐体幅方向に隣合う前記ターン装置のうちの他方は、前記送気処理器に対して前記筐体高さ方向の他方側に配置されている請求項1から7のいずれか一項に記載の非接触型送気処理システム。
発明の詳細な説明
【技術分野】
【0001】
本発明は、搬送中の搬送対象物に向けてガスを送気し、非接触で搬送対象物に所定の処理を施す非接触型送気処理システムに関する。
続きを表示(約 1,600 文字)
【背景技術】
【0002】
本発明は、搬送対象物となるフィルム、金属箔、織物、紙、テープ、粘着テープなどのフィルム状の物体、あるいはガラス板(液晶用ガラス基板など)、金属の板状物(シリコン基板やプリント基板なども含む)、さらにはある程度の板厚を有する物体(以下、これらをまとめて単にフィルム状物という)に向けてガスを送気することによって、搬送対象物を浮揚させつつ非接触で処理を行う非接触型の処理装置(例えば乾燥装置)が知られている。
【0003】
この種の処理装置の一例は特許文献1に記載されており、フィルム状物(長尺状支持体)の表面および裏面の各々に対して乾燥ノズルを対向配置し、乾燥ノズルから熱風を吹き出すことでフィルム状物を浮揚させつつ乾燥処理を行うようになっている。
【先行技術文献】
【特許文献】
【0004】
特開2011-196557号公報
【発明の概要】
【発明が解決しようとする課題】
【0005】
しかしながら特許文献1に記載されたような従来の非接触型の処理装置では、熱風を吹き出すノズルを筐体(乾燥炉)の中でフィルム状物の搬送方向に並べて配置しているため、装置全体がどうしても大型化してしまう。
【課題を解決するための手段】
【0006】
そこで本発明は、コンパクト化を図るとともにメンテナンス性を向上できる非接触型送気処理システムを提供する。
【0007】
本発明の一態様に係る非接触型送気処理システムは、搬送中のフィルム状物を浮揚しながら該フィルム状物に所定の処理を施す非接触型送気処理システムであって、内側に収容空間を画成する箱状の筐体本体と、前記収容空間において前記筐体本体の高さ方向(以下、筐体高さ方向)に互いに間隔をあけて配置され、かつ、各々が前記筐体本体の幅方向(以下、筐体幅方向)に延在することで、前記筐体本体の奥行方向(以下、筐体奥行方向)に正面視した際に前記収容空間を前記筐体高さ方向に仕切る一対の横梁と、各々が前記収容空間において一対の前記横梁同士の間に配置されて少なくとも一方の前記横梁に支持され、互いに前記筐体幅方向に前記フィルム状物を配置するためのフィルム配置隙間をあけた状態で並んで、各々が前記フィルム配置隙間に向けて処理用ガスを吹き出すように送気することで非接触状態で前記フィルム状物を処理する複数の送気処理器と、前記収容空間において各々の前記送気処理器に対して一方の前記横梁または他方の前記横梁を挟んで前記筐体高さ方向に一つずつ並んで該横梁に支持され、フィルム浮揚用ガスを吹き出すことで非接触状態で前記フィルム状物の搬送方向を変化させて自身に対して搬送方向下流側に位置する前記フィルム配置隙間に案内する複数のターン装置と、を備える。
【0008】
上記の非接触型送気処理システムでは、各々の前記横梁のうちの少なくとも一方には、各々の前記送気処理器を前記筐体奥行方向にスライド移動可能に支持する送気処理器支持部材が設けられ、各々の前記送気処理器は、前記送気処理器支持部材から前記筐体奥行方向の手前側に取り外し可能となっていてもよい。
【0009】
上記の非接触型送気処理システムでは、前記送気処理器支持部材は、前記送気処理器を前記筐体幅方向にスライド移動可能に支持していてもよい。
【0010】
上記の非接触型送気処理システムでは、各々の前記横梁には、各々の前記ターン装置を前記筐体奥行方向にスライド移動可能に支持するターン装置支持部材が設けられ、各々の前記ターン装置は、前記ターン装置支持部材から前記筐体奥行方向の手前側に取り外し可能となっていてもよい。
(【0011】以降は省略されています)
この特許をJ-PlatPat(特許庁公式サイト)で参照する
関連特許
個人
乾燥装置
12か月前
個人
ハンディ傘乾燥丸め器
26日前
株式会社サタケ
循環式穀物乾燥機
9日前
株式会社ダイソー
乾熱減容処理装置
1か月前
株式会社チノー
乾燥システム
2か月前
株式会社クレブ
ブーツ乾燥装置
7か月前
東レ株式会社
塗膜付きシートの加熱装置
4か月前
東レエンジニアリング株式会社
乾燥装置
11か月前
東レエンジニアリング株式会社
乾燥装置
11か月前
東レエンジニアリング株式会社
乾燥装置
11か月前
東レエンジニアリング株式会社
乾燥装置
1か月前
エイ・エス・デイ株式会社
乾燥装置
1か月前
株式会社サタケ
穀物乾燥機
1か月前
大東電子株式会社
傘水滴除去装置
8か月前
株式会社ヨシカワ
乾燥装置
1か月前
セイコーエプソン株式会社
加熱装置
12か月前
クリーン・テクノロジー株式会社
乾燥装置
8か月前
クリーン・テクノロジー株式会社
乾燥装置
11か月前
クリーン・テクノロジー株式会社
乾燥装置
7か月前
株式会社ワカミヤ商会
乾燥装置
3か月前
高砂工業株式会社
凍結乾燥装置
6か月前
アントム株式会社
搬送式乾燥炉
5か月前
セイコーエプソン株式会社
乾燥機
4か月前
クリーン・テクノロジー株式会社
熱風式乾燥装置
7か月前
株式会社マクニカ
乾熱減容処理装置
1か月前
株式会社大川原製作所
乾燥システム
6か月前
個人
常服乾燥装置
16日前
株式会社大川原製作所
乾燥システム
6か月前
特殊電極株式会社
塗装乾燥装置および塗装乾燥方法
6か月前
株式会社アサヒテクノ
乾燥装置及び乾燥方法
4か月前
株式会社カワタ
ガス浄化装置および粉粒体処理装置
12か月前
株式会社ショウワテクノ
コンテナ容器脱水装置
7か月前
カワサキ機工株式会社
ネット型乾燥装置
3か月前
株式会社サタケ
穀物乾燥機の監視システム
10か月前
セイコーエプソン株式会社
乾燥装置及び記録装置
1か月前
京セラドキュメントソリューションズ株式会社
乾燥装置
7か月前
続きを見る
他の特許を見る