TOP
|
特許
|
意匠
|
商標
特許ウォッチ
Twitter
他の特許を見る
10個以上の画像は省略されています。
公開番号
2025064323
公報種別
公開特許公報(A)
公開日
2025-04-17
出願番号
2023173967
出願日
2023-10-06
発明の名称
非接触型送気処理システム
出願人
BELLMATIC株式会社
代理人
個人
,
個人
,
個人
主分類
F26B
13/20 20060101AFI20250410BHJP(乾燥)
要約
【課題】安定してフィルム状物を浮揚させつつフィルム状物に所定の処理を施すことが可能な非接触型送気処理システムを提供する。
【解決手段】
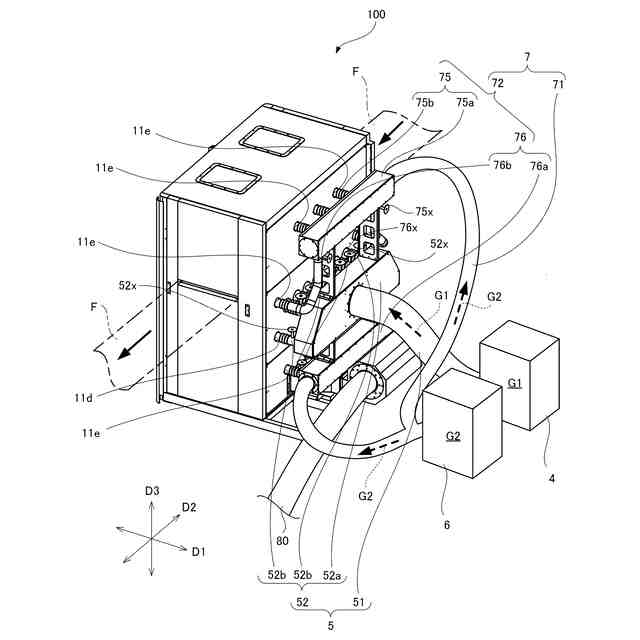
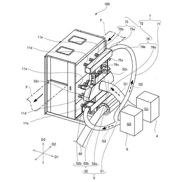
フィルム状物が配置される乾燥機搬送面からフィルム状物に向けて乾燥用ガスG1を吹き出すことで、非接触状態でフィルム状物を乾燥させる乾燥機と、フィルム状物が配置されるターン装置搬送面からフィルム状物に向けてフィルム浮揚用ガスG2を吹き出すことで、非接触状態でフィルム状物の搬送方向を変化させて乾燥機搬送面に向けて案内するターン装置と、乾燥機に乾燥用ガスG1を供給する乾燥用ガス供給路5と、ターン装置にフィルム浮揚用ガスG2を供給する浮揚用ガス供給路7と、乾燥ガス供給路5に接続され、乾燥用ガスG1を生成する乾燥用ガス供給源4と、浮揚ガス供給路7に接続されてフィルム浮揚用ガスG2を生成し、乾燥用ガス供給源4とは別個に設けられた浮揚用ガス供給源6と、を備える。
【選択図】図2
特許請求の範囲
【請求項1】
搬送中のフィルム状物を浮揚しながら該フィルム状物に所定の処理を施す非接触型送気処理システムであって、
前記フィルム状物が配置される送気処理器搬送面から該フィルム状物に向けて処理用ガスを吹き出すように送気することで、非接触状態で前記フィルム状物を処理する送気処理器と、
前記フィルム状物が配置されるターン装置搬送面から該フィルム状物に向けてフィルム浮揚用ガスを吹き出すことで、非接触状態で前記フィルム状物の搬送方向を変化させて前記送気処理器搬送面に向けて案内するターン装置と、
前記送気処理器に前記処理用ガスを供給する処理用ガス供給路と、
前記ターン装置に前記フィルム浮揚用ガスを供給する浮揚用ガス供給路と、
前記処理用ガス供給路に接続され、前記処理用ガスを生成する処理用ガス供給源と、
前記浮揚用ガス供給路に接続されて前記フィルム浮揚用ガスを生成し、前記処理用ガス供給源とは別個に設けられた浮揚用ガス供給源と、
を備える非接触型送気処理システム。
続きを表示(約 1,500 文字)
【請求項2】
搬送中のフィルム状物を浮揚しながら該フィルム状物に所定の処理を施す非接触型送気処理システムであって、
前記フィルム状物が配置される送気処理器搬送面から該フィルム状物に向けて処理用ガスを吹き出すように送気することで、非接触状態で前記フィルム状物を処理する送気処理器と、
前記フィルム状物が配置されるターン装置搬送面から該フィルム状物に向けてフィルム浮揚用ガスを吹き出すことで、非接触状態で前記フィルム状物の搬送方向を変化させて前記送気処理器搬送面に向けて案内するターン装置と、
前記送気処理器に前記処理用ガスを供給する処理用ガス供給路と、
前記ターン装置に前記フィルム浮揚用ガスを供給する浮揚用ガス供給路と、
前記処理用ガス供給路および前記浮揚ガス供給路に接続され、前記処理用ガスおよび前記フィルム浮揚用ガスとなるガスを生成するガス供給源と、
前記処理用ガス供給路に設けられて前記処理用ガスの流量を調整する処理用ガスバルブと、
前記浮揚用ガス供給路に設けられて前記フィルム浮揚用ガスの流量を調整する浮揚用ガスバルブと、
を備える非接触型送気処理システム。
【請求項3】
前記送気処理器および前記ターン装置の各々は前記フィルム状物の搬送経路上に複数設けられ、
前記処理用ガス供給路は、各々の前記送気処理器に向けて複数に分岐して各々の該送気処理器に接続される処理用ガス分岐路を有し、
前記浮揚用ガス供給路は、各々の前記ターン装置に向けて複数に分岐して各々の該ターン装置に接続される浮揚用ガス分岐路を有する請求項1または2に記載の非接触型送気処理システム。
【請求項4】
複数の前記送気処理器は、前記送気処理器搬送面同士を対向させた状態で、該送気処理器搬送面同士の間に前記フィルム状物を配置するフィルム配置隙間をあけた状態で並び、
複数の前記ターン装置は、各々の前記送気処理器に対して一つずつ、前記送気処理器搬送面同士の対向方向となる第一の方向に交差する第二の方向に並び、前記フィルム状物を自身に対して搬送方向下流側に位置する前記フィルム配置隙間に案内し、
前記第一の方向に隣合う前記ターン装置のうちの一方は、前記送気処理器に対して前記第二の方向の一方側に配置され、前記第一の方向に隣合う前記ターン装置のうちの他方は、前記送気処理器に対して前記第二の方向の他方側に配置され、
前記処理用ガス分岐路は、複数の前記送気処理器の各々に対して前記第一の方向および前記第二の方向に交差する第三の方向の一方側から接続されている請求項3に記載の非接触型送気処理システム。
【請求項5】
前記浮揚用ガス分岐路は、
前記送気処理器に対して前記第二の方向の一方側に配置された前記ターン装置に対して前記第三の方向の一方側から接続された第一分岐部と、
前記処理用ガス分岐路を挟んで、前記第一分岐部に対して前記第二の方向の反対側に配置され、前記送気処理器に対して前記第二の方向の他方側に配置された前記ターン装置に対して前記第三の方向の一方側から接続された第二分岐部と、
を有する請求項4に記載の非接触型送気処理システム。
【請求項6】
前記処理用ガス分岐路には、前記処理用ガスの流量を個別に調整可能な処理用ガス個別調整バルブが一つずつ設けられている請求項3に記載の非接触型送気処理システム。
【請求項7】
前記浮揚用ガス分岐路には、前記浮揚用ガスの流量を個別に調整可能な浮揚用ガス個別調整バルブが一つずつ設けられている請求項3に記載の非接触型送気処理システム。
発明の詳細な説明
【技術分野】
【0001】
本発明は、搬送中の搬送対象物に向けてガスを送気し、非接触で搬送対象物に所定の処理を施す非接触型送気処理システムに関する。
続きを表示(約 2,300 文字)
【背景技術】
【0002】
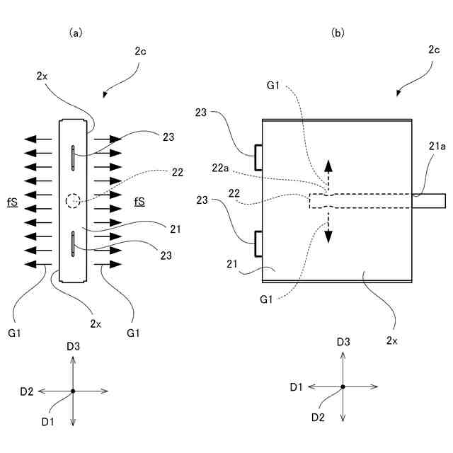
本発明は、搬送対象物となるフィルム、金属箔、織物、紙、テープ、粘着テープなどのフィルム状の物体、あるいはガラス板(液晶用ガラス基板など)、金属の板状物(シリコン基板やプリント基板なども含む)、さらにはある程度の板厚を有する物体(以下、これらをまとめて単にフィルム状物という)に向けてガスを送気することによって、搬送対象物を浮揚させつつ非接触で処理を行う非接触型の処理装置(例えば乾燥装置)が知られている。
【0003】
そしてこの種の処理装置の一例が特許文献1に記載されており、フィルム状物(長尺状支持体)の表面および裏面の各々に対して乾燥機(エアチャンバー)を対向配置して熱風を吹き出すことでフィルム状物を浮揚させつつ乾燥処理を行うようになっている。
【先行技術文献】
【特許文献】
【0004】
特開2014-102010号公報
【発明の概要】
【発明が解決しようとする課題】
【0005】
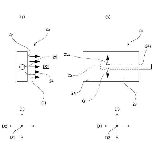
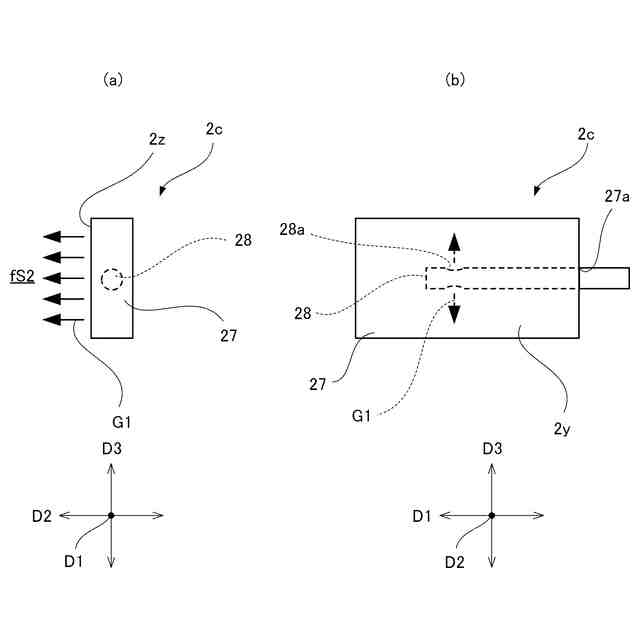
ところで特許文献1には、フィルム状物の搬送方向の上流側にターン装置(エアターンバー)を設け、フィルム状物の搬送方向を変更して乾燥機に向けて非接触で案内する例が記載されている。この場合、ターン装置および乾燥機の各々にガス(空気等)を送り込む必要があるが、ターン装置と乾燥機(以下、送気処理器)とにおいて必要とされるガス流量等は必ずしも一致しない。
【課題を解決するための手段】
【0006】
そこで本発明は、ターン装置および送気処理器の各々に対して最適な状態のガスを供給することで、安定してフィルム状物を浮揚させつつフィルム状物に所定の処理を施すことが可能な非接触型送気処理システムを提供する。
【0007】
本発明の一態様に係る非接触型送気処理システムは、搬送中のフィルム状物を浮揚しながら該フィルム状物に所定の処理を施す非接触型送気処理システムであって、前記フィルム状物が配置される送気処理器搬送面から該フィルム状物に向けて処理用ガスを吹き出すように送気することで、非接触状態で前記フィルム状物を処理する送気処理器と、前記フィルム状物が配置されるターン装置搬送面から該フィルム状物に向けてフィルム浮揚用ガスを吹き出すことで、非接触状態で前記フィルム状物の搬送方向を変化させて前記送気処理器搬送面に向けて案内するターン装置と、前記送気処理器に前記処理用ガスを供給する処理用ガス供給路と、前記ターン装置に前記フィルム浮揚用ガスを供給する浮揚用ガス供給路と、前記処理用ガス供給路に接続され、前記処理用ガスを生成する処理用ガス供給源と、前記浮揚用ガス供給路に接続されて前記フィルム浮揚用ガスを生成し、前記処理用ガス供給源とは別個に設けられた浮揚用ガス供給源と、を備える。
【0008】
本発明の他の態様に係る非接触型送気処理システムは、搬送中のフィルム状物を浮揚しながら該フィルム状物に所定の処理を施す非接触型送気処理システムであって、前記フィルム状物が配置される送気処理器搬送面から該フィルム状物に向けて処理用ガスを吹き出すように送気することで、非接触状態で前記フィルム状物を処理する送気処理器と、前記フィルム状物が配置されるターン装置搬送面から該フィルム状物に向けてフィルム浮揚用ガスを吹き出すことで、非接触状態で前記フィルム状物の搬送方向を変化させて前記送気処理器搬送面に向けて案内するターン装置と、前記送気処理器に前記処理用ガスを供給する処理用ガス供給路と、前記ターン装置に前記フィルム浮揚用ガスを供給する浮揚用ガス供給路と、前記処理用ガス供給路および前記浮揚ガス供給路に接続され、前記処理用ガスおよび前記フィルム浮揚用ガスとなるガスを生成するガス供給源と、前記処理用ガス供給路に設けられて前記処理用ガスの流量を調整する処理用ガスバルブと、前記浮揚用ガス供給路に設けられて前記フィルム浮揚用ガスの流量を調整する浮揚用ガスバルブと、を備える。
【0009】
上記の非接触型送気処理システムでは、前記送気処理器および前記ターン装置の各々は前記フィルム状物の搬送経路上に複数設けられ、前記処理用ガス供給路は、各々の前記送気処理器に向けて複数に分岐して各々の該送気処理器に接続される処理用ガス分岐路を有し、前記浮揚用ガス供給路は、各々の前記ターン装置に向けて複数に分岐して各々の該ターン装置に接続される浮揚用ガス分岐路を有してもよい。
【0010】
上記の非接触型送気処理システムでは、複数の前記送気処理器は、前記送気処理器搬送面同士を対向させた状態で、該送気処理器搬送面同士の間に前記フィルム状物を配置するフィルム配置隙間をあけた状態で並び、複数の前記ターン装置は、各々の前記送気処理器に対して一つずつ、前記送気処理器搬送面同士の対向方向となる第一の方向に交差する第二の方向に並び、前記フィルム状物を自身に対して搬送方向下流側に位置する前記フィルム配置隙間に案内し、前記第一の方向に隣合う前記ターン装置のうちの一方は、前記送気処理器に対して前記第二の方向の一方側に配置され、前記第一の方向に隣合う前記ターン装置のうちの他方は、前記送気処理器に対して前記第二の方向の他方側に配置され、前記処理用ガス分岐路は、複数の前記送気処理器の各々に対して前記第一の方向および前記第二の方向に交差する第三の方向の一方側から接続されていてもよい。
(【0011】以降は省略されています)
この特許をJ-PlatPat(特許庁公式サイト)で参照する
関連特許
個人
ハンディ傘乾燥丸め器
29日前
株式会社サタケ
循環式穀物乾燥機
12日前
株式会社ダイソー
乾熱減容処理装置
1か月前
株式会社チノー
乾燥システム
2か月前
株式会社クレブ
ブーツ乾燥装置
7か月前
東レ株式会社
塗膜付きシートの加熱装置
4か月前
東レエンジニアリング株式会社
乾燥装置
12か月前
東レエンジニアリング株式会社
乾燥装置
12か月前
東レエンジニアリング株式会社
乾燥装置
11か月前
東レエンジニアリング株式会社
乾燥装置
1か月前
エイ・エス・デイ株式会社
乾燥装置
2か月前
大東電子株式会社
傘水滴除去装置
8か月前
株式会社サタケ
穀物乾燥機
2か月前
株式会社ヨシカワ
乾燥装置
1か月前
セイコーエプソン株式会社
加熱装置
12か月前
クリーン・テクノロジー株式会社
乾燥装置
7か月前
クリーン・テクノロジー株式会社
乾燥装置
8か月前
クリーン・テクノロジー株式会社
乾燥装置
11か月前
アントム株式会社
搬送式乾燥炉
5か月前
高砂工業株式会社
凍結乾燥装置
6か月前
株式会社ワカミヤ商会
乾燥装置
3か月前
セイコーエプソン株式会社
乾燥機
4か月前
株式会社大川原製作所
乾燥システム
6か月前
個人
常服乾燥装置
19日前
クリーン・テクノロジー株式会社
熱風式乾燥装置
7か月前
株式会社大川原製作所
乾燥システム
6か月前
株式会社マクニカ
乾熱減容処理装置
1か月前
特殊電極株式会社
塗装乾燥装置および塗装乾燥方法
6か月前
株式会社アサヒテクノ
乾燥装置及び乾燥方法
4か月前
株式会社ショウワテクノ
コンテナ容器脱水装置
7か月前
カワサキ機工株式会社
ネット型乾燥装置
3か月前
京セラドキュメントソリューションズ株式会社
乾燥装置
7か月前
京セラドキュメントソリューションズ株式会社
乾燥装置
7か月前
セイコーエプソン株式会社
乾燥装置及び記録装置
1か月前
三菱電機株式会社
浴室乾燥機
3か月前
株式会社大気社
熱風発生装置
7か月前
続きを見る
他の特許を見る