TOP
|
特許
|
意匠
|
商標
特許ウォッチ
Twitter
他の特許を見る
公開番号
2025071953
公報種別
公開特許公報(A)
公開日
2025-05-09
出願番号
2023182396
出願日
2023-10-24
発明の名称
布製品
出願人
株式会社ゴールドウイン
代理人
個人
主分類
A41D
27/24 20060101AFI20250430BHJP(衣類)
要約
【課題】中綿部材が入れられて保温性が高く、表生地がキルトステッチで沈み込む外観であり、着脱部がキルトステッチと同様に沈み込み自然な外観となる布製品を提供する。
【解決手段】表地30は、外気側に位置する表生地30aと、裏地28側に位置する裏生地30bが、キルトステッチ32で縫い合わされて袋状の中綿収容空間34を有する。表生地30aが、キルトステッチ32の位置で沈み込む外観を有する。布製品10は、本体10aと、着脱可能な着脱パーツ20から成り、本体10aと着脱パーツ20の間には線状の着脱部22を備える。表地30と裏地28を積層して縫い合わせる前の状態では、着脱部22に沿う表地端部30cの長さは、着脱部22に沿う裏地端部28cより長い。着脱部22には開離嵌挿具44を有するスライドファスナー26を有し、ファスナーテープ38と表地端部の間に、伸縮性を有するバインダーテープ54を備える。
【選択図】図2
特許請求の範囲
【請求項1】
表地と裏地が積層して設けられ、
前記表地は、外気側に位置する表生地と、前記裏地側に位置する裏生地が、キルトステッチで縫い合わされて袋状の中綿収容空間が形成され、前記中綿収容空間に保温性を有する中綿部材が入れられて立体的になり、前記表生地が前記キルトステッチの位置で沈み込む外観を有する布製品において、
前記布製品は、本体と、前記本体から着脱可能な着脱パーツから成り、
前記本体と前記着脱パーツの間には線状の着脱部が設けられ、前記表地と前記裏地を積層して縫い合わせる前の状態では、前記着脱部に沿う前記表地の表地端部の長さは、前記着脱部に沿う前記裏地の裏地端部より長く、
前記着脱部には開離嵌挿具を有するスライドファスナーが設けられ、前記スライドファスナーを形成するファスナーテープは、前記表地端部と前記裏地端部の間に挟まれて積層されて固定され、前記ファスナーテープと前記表地端部の間には、伸縮性を有するバインダーテープが設けられ、前記バインダーテープの弾性により前記表地端部を縮めた状態で保持することを特徴とする布製品。
続きを表示(約 950 文字)
【請求項2】
前記ファスナーテープと前記バインダーテープは、前記表地端部より短い請求項1記載の布製品。
【請求項3】
前記スライドファスナーの前記開離嵌挿具は、前記一対のファスナーテープの一方に取り付けられた蝶棒と、前記一対のファスナーテープの他方に取り付けられ前記蝶棒が挿脱可能な箱部から成り、前記スライドファスナーを開閉するファスナースライダーは、前記箱部を有する前記ファスナーテープに取り付けられ、
前記蝶棒が取り付けられた前記ファスナーテープは前記本体側に取り付けられ、前記箱部が取り付けられた前記ファスナーテープは前記着脱パーツ側に取り付けられ、前記本体と前記着脱パーツが分離した時、前記ファスナースライダーは前記着脱パーツ側にある請求項1記載の布製品。
【請求項4】
前記布製品には複数の前記着脱パーツと複数の前記スライドファスナーが設けられ、前記スライドファスナーには、前記蝶棒と前記箱部を、他の前記スライドファスナーの前記蝶棒と前記箱部とから区別する目印が設けられている請求項3記載の布製品。
【請求項5】
前記布製品はジャケットであり、前記着脱パーツは袖であり、前記中綿部材はダウンである請求項1乃至4のいずれかに記載の布製品。
【請求項6】
前記裏地に、前記着脱部を覆う裏当て部材が設けられている請求項1記載の布製品。
【請求項7】
前記バインダーテープは、長手方向が前記ファスナーテープの長手方向に対して略平行に取り付けられる帯状体であり、長手方向に伸縮性を有し、前記バインダーテープは、前記表地端部に縫い合わせるバインダーテープ取付ミシン線と、前記ファスナーテープに縫い合わせるファスナー取付ミシン線により固定され、前記バインダーテープ取付ミシン線により前記表地端部に固定される時は力を加えて伸ばされ、前記ファスナー取付ミシン線により前記ファスナーテープに固定される時は力を加えず元の状態に復元し前記表地端部を復元力で縮め、
前記バインダーテープは、前記表地と前記スライドファスナーの間に積層され、前記表地が前記ファスナースライダーの動きに干渉することを防ぐ請求項1記載の布製品。
発明の詳細な説明
【技術分野】
【0001】
この発明は、寒冷地等で使用する衣料等の布製品に関する。
続きを表示(約 2,700 文字)
【背景技術】
【0002】
従来、寒冷地で使用する保温性が高い布製品として、生地の内側にダウン等の中綿が入れられた衣料があり、このような中綿入りの衣料には、一部を取り外し可能とするものもある。例えば特許文献1の防寒被覆は、被覆本体から裾部が取り外し可能であり、取り外した裾部をネックピローとして使用する。被覆本体から裾部を着脱可能に連結する連結部材は、スライドファスナーを用いてもよいが、スライドファスナーは被覆本体と裾部の表地に縫い付けられており、外観から、被覆本体と裾部の境界が目立つものである。
【0003】
スライドファスナーと生地の間に異なる素材の部材を取り付けて外観を良好にするものとして、特許文献2の運動用被服がある。この運動用被服は、体表面に密着して着用される伸縮性を有する生地によって構成され、生地の下腹部近傍に線状の前開き部を設け、前開き部にスライドファスナーが取り付けられている。前開き部の一側縁部を形成する生地とスライドファスナーの一方のファスナーテープの間には、低伸張性の素材で作られた見返し片が取り付けられている。これにより、伸縮性が高い生地に対してきれいにスライドファスナーを取り付けることができ、また前開き部のスライドファスナーの開閉操作を容易に行うことができる。
【先行技術文献】
【特許文献】
【0004】
特開2022―75356号公報
実用新案登録第3115348号公報
【発明の概要】
【発明が解決しようとする課題】
【0005】
上記特許文献2の運動用被服の場合、寒冷地で使用するような中綿が入れられた布製品ではない。中綿が入れられた布製品の連結部分で、表生地にスライドファスナーを直接取り付けると、ファスナーが外周方向に僅かに張り出し、スライドファスナーの取り付け箇所が不自然に見えるという問題がある。
【0006】
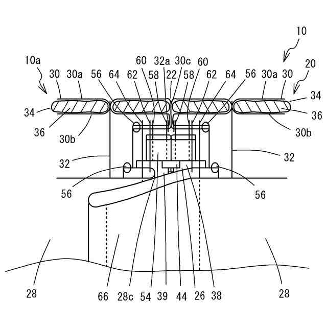
例えば図5に示す従来のダウンジャケット等の着脱自在の袖部である布製品1は、表地30と裏地28が積層して設けられ、表地30は、外気側に位置する表生地30aと、裏地28側に位置する裏生地30bがキルトステッチ32で縫い合わされて袋状の中綿収容空間34が形成され、中綿収容空間34に保温性を有する中綿部材36が入れられて立体的になり、表生地30aがキルトステッチ32の位置で裏生地30b側に沈む外観である。布製品1には取り外し可能な着脱パーツ2が設けられ、着脱パーツ2は図示しない本体から線状の着脱部22で着脱される。着脱部22には、開離嵌挿具44を有するスライドファスナー26が設けられ、スライドファスナー26を形成するファスナーテープ38の裏面は裏地28の裏地端部28cに固定され、ファスナーテープ38の表面は表地30の表地端部30cに固定されている。なお、表地端部30cは、表生地30aと裏生地30bと、その間に入れられた中綿部材36の、各端部から成る。すると、布製品1の着脱部22は、取り付けられたファスナーテープ38に押されて着脱部22の外周方向に僅かに張り出し、強調され、スライドファスナー26の取り付け箇所が不自然に見える。さらに着脱パーツ20を、本体に付けている時も外している時も外観上違和感があり、不自然で目立つ。また着脱部22の近傍は、ファスナーテープ38を取り付けるミシン線29が表地30の表生地30aに貫通して設けられ、ミシン線29付近で中綿部材36の厚みがなくなり、通気も生じてしまい、コールドスポットとなる。着脱部22にファスナーテープ38を取り付けるミシン目を無くして表生地30aが沈み込む外観とするには表生地30aにタックが入り、タックの外観が不自然となる。
【0007】
この発明は、上記背景技術の問題点に鑑みてなされたものであり、中綿部材が入れられて保温性が高く、表生地がキルトステッチで沈み込む外観であり、着脱部がキルトステッチと同様に沈み込み自然な外観となる布製品を提供することを目的とする。
【課題を解決するための手段】
【0008】
本発明は、表地と裏地が積層して設けられ、前記表地は、外気側に位置する表生地と、前記裏地側に位置する裏生地が、キルトステッチで縫い合わされて袋状の中綿収容空間が形成され、前記中綿収容空間に保温性を有する中綿部材が入れられて立体的になり、前記表生地が前記キルトステッチの位置で沈み込む外観を有する布製品である。前記布製品は、本体と、前記本体から着脱可能な着脱パーツから成り、前記本体と前記着脱パーツの間には線状の着脱部が設けられ、前記表地と前記裏地を積層して縫い合わせる前の状態では、前記着脱部に沿う前記表地の表地端部の長さは、前記着脱部に沿う前記裏地の裏地端部より長く、前記着脱部には開離嵌挿具を有するスライドファスナーが設けられ、前記スライドファスナーを形成するファスナーテープは、前記表地端部と前記裏地端部の間に挟まれて積層されて固定され、前記ファスナーテープと前記表地端部の間には、伸縮性を有するバインダーテープが設けられ、前記バインダーテープの弾性により前記表地端部を復元力で縮めた状態で保持する布製品である。
【0009】
前記ファスナーテープと前記バインダーテープは、前記表地端部より短い。前記スライドファスナーの前記開離嵌挿具は、前記一対のファスナーテープの一方に取り付けられた蝶棒と、前記一対のファスナーテープの他方に取り付けられ前記蝶棒が挿脱可能な箱部から成り、前記スライドファスナーを開閉するファスナースライダーは、前記箱部を有する前記ファスナーテープに取り付けられ、前記蝶棒が取り付けられた前記ファスナーテープは前記本体側に取り付けられ、前記箱部が取り付けられた前記ファスナーテープは前記着脱パーツ側に取り付けられ、前記本体と前記着脱パーツが分離した時、前記ファスナースライダーは前記着脱パーツ側にある。
【0010】
前記布製品には複数の前記着脱パーツと複数の前記スライドファスナーが設けられ、前記スライドファスナーには、前記蝶棒と前記箱部を、他の前記スライドファスナーの前記蝶棒と前記箱部とから区別する目印が設けられている。前記布製品はジャケットであり、前記着脱パーツは袖であり、前記中綿部材はダウンである。前記裏地に、前記着脱部を覆う裏当て部材が設けられている。
(【0011】以降は省略されています)
この特許をJ-PlatPat(特許庁公式サイト)で参照する
関連特許
個人
和服
5か月前
個人
衿芯
2か月前
個人
シャツ
23日前
個人
二部式袍
8か月前
個人
ネクタイ
23日前
個人
衣装
5か月前
個人
下着
4か月前
個人
靴下
9か月前
個人
簡単帯
9か月前
個人
多機能装身具
1か月前
個人
マスク
23日前
個人
:マスクカバー
1か月前
個人
肩章付き衣服。
3か月前
個人
健康靴下
10か月前
個人
シャツ改造方法
5か月前
個人
作業補助ミトン
7か月前
個人
ショーツ
9か月前
個人
ソフトキャミブラ
5か月前
個人
手袋
6か月前
株式会社聖
手足保護具
8か月前
東洋紡株式会社
マスク
2日前
個人
足首用サポーター
7か月前
個人
車椅子用グローブ
1か月前
個人
内フィルムマスク
4日前
有限会社原電業
指手袋
10か月前
個人
レインコート
4か月前
グンゼ株式会社
衣服
5か月前
個人
被介護者用上衣
2か月前
興和株式会社
マスク
7か月前
個人
ヘアアクセサリー
9か月前
サンコー株式会社
衣服
9か月前
個人
ワイヤー付き衣類
9か月前
個人
マスク(多機能マスク)
1か月前
株式会社マルイチ
2部式着物
8日前
個人
防水マスク
9か月前
西垣靴下株式会社
靴下
9か月前
続きを見る
他の特許を見る