TOP
|
特許
|
意匠
|
商標
特許ウォッチ
Twitter
他の特許を見る
公開番号
2025059471
公報種別
公開特許公報(A)
公開日
2025-04-10
出願番号
2023169571
出願日
2023-09-29
発明の名称
シャツ改造方法
出願人
個人
代理人
主分類
A41B
3/00 20060101AFI20250403BHJP(衣類)
要約
【課題】
襟とシャツ本体が接合している完成シャツは、シャツ本体の汚れが少ないにもかかわらず、襟の汚れが多い際に、シャツ全体を洗濯する不経済性がある。
夏季期間など営業等で訪問先までの間に汗をかき、襟に汗しみが付着した状態のシャツのまま対面することがあった。
【手段】
シャツの襟をシャツ本体から取り外して交換襟とし接続部材を設け、シャツの襟をシャツ本体と襟の接合部から1センチメートルの大きさで、長手方向両端に渡り切断して襟台とし、交換襟と襟台に着脱自在の相対接続部材を設け、交換襟とシャツ本体側襟台を着脱自在に構成する。
【選択図】図5
特許請求の範囲
【請求項1】
請求項1によれば
完成シャツを改造する方法において
同じ大きさの襟羽と襟台とシャツ本体から成る完成シャツ2枚の
一方の完成シャツの襟台両端全周囲に渡りシャツ本体を分離して交換襟とし
肌に当る側を襟前側布とし肌に当らない側を襟後ろ側布とし
他方の完成シャツの襟台を長手方向全周囲両端に渡りシャツ本体より略1センチメートルの大きさに切断してシャツ本体側を襟台とし
肌に当る側を襟台前側布とし肌に当たらない側を襟台後ろ側布とし
襟台において前側布の外側両端近傍にホック凹又はホック凸を設け
後ろ側布両端外側近傍で前側布のホック凹又はホック凸より中央側にホック凹又はホック凸をを設け
前側布と後ろ側布間の略中央に2枚のチャック棒側の棒を端側にして後ろ側布の下方に設け
交換襟において前側布と後ろ側布間の後ろ側布に襟台の2枚のチャック棒側に相対してチャック箱側を設け
襟台の前側布のホック凹又はホック凸に相対してホック凹又はホック凸を前側布内側に設け
襟台の後ろ側布のホック凹又はホック凸に相対して後ろ側布内側にホック凹又はホック凸を設け
襟台と交換襟を着脱自在に接合することを特徴とする、シャツ改造方法。
発明の詳細な説明
【技術分野】
【0001】
本発明は、完成シャツの襟を改造する方法に関するものである。
続きを表示(約 2,300 文字)
【背景技術】
【0002】
従来、襟部位の交換では、交換する襟とシャツ側にプラスチックホックを使用のため、プラスチックホック厚みによりシャツ首回りサイズが大きくなり、外見が悪く実用的ではないのが最大の欠点であった。対面交渉時では、相手に違和感が生じ、このような首回りサイズが大きい不細工なシャツを着用して対面すると商談成立低下を生じていた。シャツ首回りに布片を逢着して製作するには手間がかかり製造が実用的でなかった。
(特許文献1参照)
特開2021-055238号
【発明の開示】
【発明が解決しようとする課題】
【0003】
そのため、製造が簡単で、襟を交換して着用した際に違和感が無く、外見に違和がないように、接合部材にはコイル型チャックを使用している。
また、襟両端が、シャツ本体の重みで垂下するため、襟両端には、合成樹脂製ホックを使用し、汗などで錆が生じるのを防止し、金属アレルギー防止のため金属製ホックを使用しない。
【課題を解決するための手段】
【0004】
請求項1によれば
完成シャツを改造する方法において
同じ大きさの襟羽と襟台とシャツ本体から成る完成シャツ2枚の
一方の完成シャツの襟台両端全周囲に渡りシャツ本体を分離して交換襟とし
肌に当る側を襟前側布とし肌に当らない側を襟後ろ側布とし
他方の完成シャツの襟台を長手方向全周囲両端に渡りシャツ本体より略1センチメートルの大きさに切断してシャツ本体側を襟台とし
肌に当る側を襟台前側布とし肌に当たらない側を襟台後ろ側布とし
襟台において前側布の外側両端近傍にホック凹又はホック凸を設け
後ろ側布両端外側近傍で前側布のホック凹又はホック凸より中央側にホック凹又はホック凸をを設け
前側布と後ろ側布間の略中央に2枚のチャック棒側の棒を端側にして後ろ側布の下方に設け
交換襟において前側布と後ろ側布間の後ろ側布に襟台の2枚のチャック棒側に相対してチャック箱側を設け
襟台の前側布のホック凹又はホック凸に相対してホック凹又はホック凸を前側布内側に設け
襟台の後ろ側布のホック凹又はホック凸に相対して後ろ側布内側にホック凹又はホック凸を設け
襟台と交換襟を着脱自在に接合することを特徴とする。
【発明の効果】
【0005】
交換襟とシャツ側襟台の接続部位が薄くなるため、着用時の快適性が増し、外見がよくなり、実用的なシャツが完成する。
夏季など顧客訪問の際、移動中は汗で襟羽と襟台周りに、汗じみが生じ、汗じみのまま顧客と面談することになり、顧客に不快感を与え、又、汗じみシャツ着用者側としては卑下感を持つ事になる。
顧客訪問の際、交換襟を携行し、移動先の面談前に洗面所等で新しい交換襟と交換して面談に臨むことで自信が持て、訪問先にも不快感を与えず、商談成立の確率が大きくなる。
シャツ本体に汚れが少なく、襟によごれが多い場合、襟のみ取り外して洗濯し、シャツ本体に取り付ける事で、シャツ全体の洗濯回数が減る。
【発明を実施するための形態】
【0006】
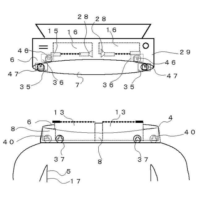
図1aは、一方の完成シャツ1のシャツ本体17を後ろ側3から見た状態で、
bは、シャツ本体17から襟台4を分離し、交換襟29を製作した状態を示し、交換襟29には交換襟前側布7と交換襟後ろ側布6を有し、
【0007】
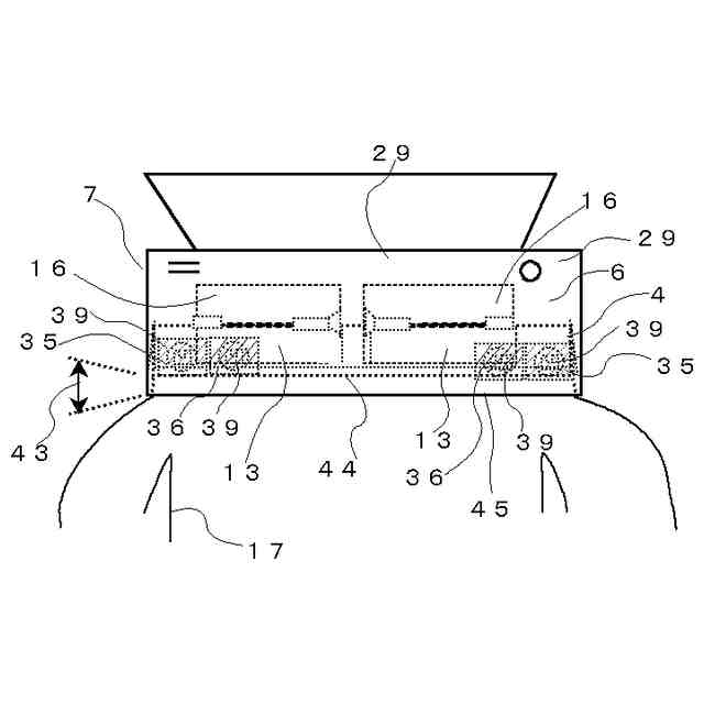
図2aは、他方の完成シャツ5を後ろ側から見た図で、
bは、他方の完成シャツ5の襟台4を、シャツ本体17との襟台接続部18
より上方へ襟台幅1センチメートル22の大きさで襟台4の長手方向両端に渡り切断しシャツ本体17に接続された襟台4を構成し,
【0008】
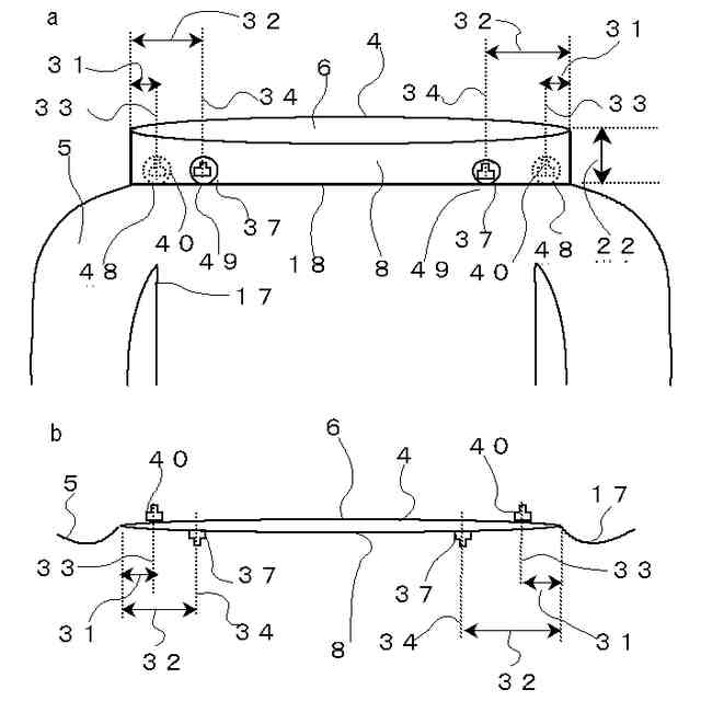
図3aは、襟台4の両端で、襟台前側布6の外側の端から略1センチメートル31の位置に、シャツと襟台接続部18に襟台前側ホック凸の端48を密接させて設け、
襟台4の両端で、襟台後ろ側布8の外側に、襟台後ろ側ホック凸37を、襟台前側ホック凸40より中央側に、シャツと襟台接続部18に襟台後ろ側ホック凸の端49を密接させて、端から略4センチメートル32(b参照)に設け、
【0009】
それぞれの襟台前側ホック凸40と襟台後ろ側ホック凸37は、合成樹脂製ホック凸又は合成樹脂製ホック凹を使用し、
bは、襟台4を上から見た状態で、襟台前側布6外側に、襟台4の端から略1センチメートル31の位置に襟台前接合部材の中心33を設け、襟台後ろ側8外側に襟台4の端から略4センチメートル32の位置に襟台後ろ接合部材の中心34を設け、
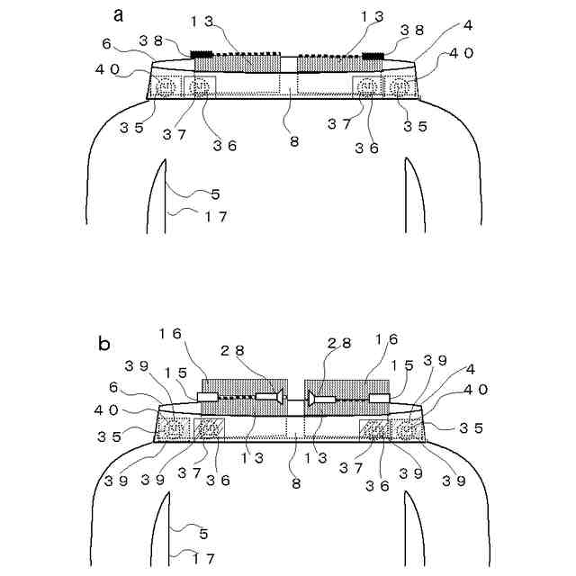
図4Aaは、交換襟29の交換襟後ろ側布6(図1参照)と交換襟前側布7(図1参照)の間に襟台4を挿入するのに短くするため、襟台4の両端を切断線11で切断し、
bは、襟台4を短く加工した状態を示し、
【0010】
図4aは、襟台後ろ側ホック凸37と襟台前側ホック凸40に対となる、ホック凹41を布片42に設けて、前側ホック凹布片35と後ろ側ホック凹布片36を構成し、
bは、襟台前側ホック凸40に前側ホック凹布片を接合35し、襟台後ろ側ホック凸37に後ろ側ホック凹布片36を接合して構成、
(【0011】以降は省略されています)
この特許をJ-PlatPat(特許庁公式サイト)で参照する
関連特許
個人
衿芯
2か月前
個人
和服
5か月前
個人
シャツ
21日前
個人
ネクタイ
21日前
個人
二部式袍
8か月前
個人
靴下
9か月前
個人
衣装
5か月前
個人
下着
3か月前
個人
下着
11か月前
個人
簡単帯
9か月前
個人
マスク
21日前
個人
多機能装身具
1か月前
個人
マスク装着具
10か月前
個人
ショーツ
9か月前
個人
作業補助ミトン
7か月前
個人
健康靴下
10か月前
個人
手首穴付き手袋
10か月前
個人
:マスクカバー
1か月前
個人
肩章付き衣服。
3か月前
個人
ボクサーパンツ
10か月前
個人
シャツ改造方法
5か月前
個人
かわいいマフラー
11か月前
個人
花粉防止用保護具
11か月前
株式会社聖
手足保護具
8か月前
個人
車椅子用グローブ
1か月前
有限会社原電業
指手袋
10か月前
個人
靴下
10か月前
個人
足首用サポーター
7か月前
個人
ソフトキャミブラ
5か月前
個人
内フィルムマスク
2日前
個人
手袋
6か月前
東洋紡株式会社
マスク
今日
個人
レインコート
4か月前
個人
指出し入れ可能手袋
11か月前
個人
被介護者用上衣
2か月前
興和株式会社
マスク
7か月前
続きを見る
他の特許を見る