TOP
|
特許
|
意匠
|
商標
特許ウォッチ
Twitter
他の特許を見る
公開番号
2025051947
公報種別
公開特許公報(A)
公開日
2025-04-07
出願番号
2023160716
出願日
2023-09-25
発明の名称
衣服
出願人
ハイドサイン株式会社
代理人
個人
主分類
A41D
13/005 20060101AFI20250328BHJP(衣類)
要約
【課題】衣服本体で覆われていない部位でも着用者が涼しさを感じられるようにする衣服を提供する。
【解決手段】電動ファンが装着される衣服本体2を備えた衣服1であって、前記衣服本体2には、開閉可能にした、マチを有するポケット状の通風パーツ9が設けられ、前記衣服本体2において、前記通風パーツ9に対応する部分は、前記衣服本体2の前記通風パーツ9が設けられていない部分よりも通風性が高くなるように構成される。
【選択図】図1A
特許請求の範囲
【請求項1】
電動ファンが装着される衣服本体を備えた衣服であって、
前記衣服本体には、開閉可能にしたポケット状の通風パーツが設けられ、
前記衣服本体において、前記通風パーツに対応する部分は、前記衣服本体の前記通風パーツが設けられていない部分よりも通風性が高くなるように構成されることを特徴とする衣服。
続きを表示(約 300 文字)
【請求項2】
前記通風パーツは、マチを有するポケット状であることを特徴とする請求項1に記載の衣服。
【請求項3】
前記通風パーツには、変形可能で、変形後の形状保持性を有する形状保持部材が設けられることを特徴とする請求項1又は2に記載の衣服。
【請求項4】
前記衣服は上着であり、
前記通風パーツは、前記衣服本体の胴部の上部に配置され、上部で開閉可能にしたことを特徴とする請求項1又は2に記載の衣服。
【請求項5】
前記通風パーツは、前記衣服本体の前記胴部の上部において、首まわりに複数配置されることを特徴とする請求項4に記載の衣服。
発明の詳細な説明
【技術分野】
【0001】
本発明は、EF(ELECTRIC FAN)ウェアと呼ばれる衣服に関する。
続きを表示(約 1,400 文字)
【背景技術】
【0002】
電動ファンが装着され、衣服本体内に外気を取り込み、風による涼しさや気化熱による体温低下を実現する、EFウェアと呼ばれる衣服が実用化されている(例えば特許文献1を参照)。
【先行技術文献】
【特許文献】
【0003】
特開2018-12900号公報
【発明の概要】
【発明が解決しようとする課題】
【0004】
EFウェアにおいて、電動ファンにより衣服本体内で発生する風を利用して、衣服本体で覆われていない着用者の身体の部位、例えば顔等に風を当てられるようにすれば、その部位でも着用者が涼しさを感じられるようになる。
【0005】
本発明は、衣服本体で覆われていない部位でも着用者が涼しさを感じられるようにする衣服を提供することを目的とする。
【課題を解決するための手段】
【0006】
本発明の衣服は、電動ファンが装着される衣服本体を備えた衣服であって、前記衣服本体には、開閉可能にしたポケット状の通風パーツが設けられ、前記衣服本体において、前記通風パーツに対応する部分は、前記衣服本体の前記通風パーツが設けられていない部分よりも通風性が高くなるように構成されることを特徴とする。
【発明の効果】
【0007】
本発明によれば、衣服本体で覆われていない部位でも着用者が涼しさを感じられるようにする衣服を提供することができる。
【図面の簡単な説明】
【0008】
実施形態に係るEFウェアの正面図である。
実施形態に係るEFウェアの背面図である。
実施形態に係るEFウェアの通風パーツを説明するための図である。
実施形態に係るEFウェアの通風パーツを説明するための図である。
実施形態に係るEFウェアの機能を説明するための図である。
【発明を実施するための形態】
【0009】
以下、添付図面を参照して、本発明の好適な実施形態について説明する。
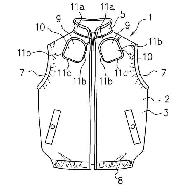
図1A及び図1Bは、実施形態に係るEFウェア1を示す図であり、それぞれ正面図、背面図である。図2、図3は、実施形態に係るEFウェア1の通風パーツ9を説明するための図である。図4は、実施形態に係るEFウェア1の機能を説明するための図であり、着用者がEFウェア1を着用した状態を示す。なお、各図は、EFウェア1を模式的に示す図であり、技術思想を逸脱しない範囲において変更可能である。本願における上下左右の方向は、起立する着用者がEFウェア1を着用した状態を基準とする方向とし、着丈方向が上下とし、身幅方向が左右となる。
【0010】
実施形態に係るEFウェア1は、ベストタイプの上着である。EFウェア1の衣服本体2は、着用者の胴を被う前身頃3及び後身頃4を備えた胴部を有し、スライドファスナ等による前開き構造となっている。衣服本体2の胴部には、首まわりを取り巻く、スタンドカラータイプの襟部5が設けられる。衣服本体2は、例えば高密度タフタのような生地表面の通気性の低い布帛(織物)や、ニット(編物)又は通気性を遮断する多層構造生地で作成される。
(【0011】以降は省略されています)
この特許をJ-PlatPat(特許庁公式サイト)で参照する
関連特許
ハイドサイン株式会社
衣服
1か月前
個人
和服
5か月前
個人
衿芯
2か月前
個人
シャツ
24日前
個人
二部式袍
8か月前
個人
ネクタイ
24日前
個人
下着
4か月前
個人
靴下
9か月前
個人
衣装
5か月前
個人
簡単帯
9か月前
個人
マスク
24日前
個人
多機能装身具
1か月前
個人
マスク装着具
10か月前
個人
手首穴付き手袋
10か月前
個人
:マスクカバー
1か月前
個人
作業補助ミトン
8か月前
個人
ショーツ
9か月前
個人
ボクサーパンツ
10か月前
個人
シャツ改造方法
5か月前
個人
肩章付き衣服。
3か月前
個人
健康靴下
10か月前
個人
靴下
11か月前
個人
足首用サポーター
7か月前
個人
手袋
6か月前
個人
ソフトキャミブラ
5か月前
有限会社原電業
指手袋
10か月前
個人
内フィルムマスク
5日前
東洋紡株式会社
マスク
3日前
株式会社聖
手足保護具
8か月前
個人
車椅子用グローブ
1か月前
個人
レインコート
4か月前
個人
和装下着の半衿カバー
10か月前
興和株式会社
マスク
7か月前
個人
被介護者用上衣
2か月前
グンゼ株式会社
衣服
5か月前
豊鷹株式会社
冷却装置
7か月前
続きを見る
他の特許を見る