TOP
|
特許
|
意匠
|
商標
特許ウォッチ
Twitter
他の特許を見る
10個以上の画像は省略されています。
公開番号
2025004782
公報種別
公開特許公報(A)
公開日
2025-01-16
出願番号
2023104595
出願日
2023-06-27
発明の名称
二部式袍
出願人
個人
代理人
主分類
A41D
1/00 20180101AFI20250108BHJP(衣類)
要約
【課題】
束帯、衣冠などの袍は、通常、前後2人の衣紋道に従事した衣紋方により着付けられるもので、使用者自身による単独での着装は禁じ手とされるほど技術的に困難を来す。本発明の二部式袍は、袍の上下を分断することで、使用者自身による単独での着用を可能にし、さらに前後2人の衣紋方に着付けられた際の本来外観の再現を目指す。
【解決手段】
元来ひと続きである袍を上下に分断し、二部式化することで、上衣前身頃の両端裾を斜形状に固定する端固定部を形成し、かいこみが容易に行えるようにする。さらに、下衣が備える腰接続部を使用して、着用時の位置ずれや着崩れを防ぐ。本発明の二部式袍は、使用者単独での着装を可能とすると共に、前後2人の衣紋方によって着装された時の本来外観を再現する。
【選択図】図1
特許請求の範囲
【請求項1】
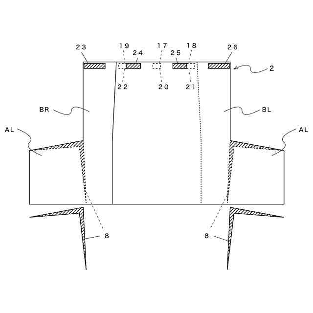
人の肩に羽織る上衣、及び、前記人の胴に巻回される縫腋下衣、又は、前記人の胴前面を覆う闕腋下衣からなる二部式袍であって、前記上衣は、前身頃の裾をたくし上げて、抱え紐、又は、石帯紐に込み入れてかい込みを形成するかい込み形成部、を有すること、を特徴とする二部式袍。
続きを表示(約 440 文字)
【請求項2】
請求項1に係る二部式袍において、前記かい込み形成部は、さらに、前記前身頃の両端裾を前記前身頃裏の中央に向かって斜形状に固定する端固定部、を有すること、を特徴とする二部式袍。
【請求項3】
請求項1、又は、請求項2に係る二部式袍において、前記縫腋下衣は、腹側と背側に、腰紐、又は、袴腰帯と接続する腰接続部を有すること、を特徴とする二部式袍。
【請求項4】
請求項1、又は、請求項2に係る二部式袍において、前記縫腋下衣は、両脇を前方に折込み固定する脇固定部を有すること、を特徴とする二部式袍。
【請求項5】
請求項1、又は、請求項2に係る二部式袍において、前記縫腋下衣は、蟻先の菱形状を保持する菱形状保持部材を有すること、を特徴とする二部式袍。
【請求項6】
請求項1、又は、請求項2に係る二部式袍において、前記闕腋下衣は、中央に腰紐、又は、袴腰帯と接続する腰接続部を有すること、を特徴とする二部式袍。
発明の詳細な説明
【技術分野】
【0001】
本発明は、被着装者が単独で着装する際に高度な着装技術を必要とせず、かつ前後2人の衣紋方によって着装された際の本来の外観を再現することを目的とした二部式袍に関する。
続きを表示(約 1,600 文字)
【背景技術】
【0002】
束帯(そくたい)、衣冠(いかん)、直衣(のうし)、斎服(さいふく)、襲装束(かさねしょうぞく)などの袍は、本来、前後2人の衣紋方である衣紋道に従事した着付け師によって着付けられる他装が基本であり、被着装者単独で着装する自装は、禁じ手とされるほど技術的に困難を来す。
【0003】
非特許文献1に示される衣紋者なしの単独で袍を着装する方法や、非特許文献2に示される衣紋方一人で袍を着装する方法があるが、いずれの場合においても、前後2人の衣紋方によって着装された時の本来外観を再現することは困難を極める。
【先行技術文献】
【非特許文献】
【0004】
八條忠基、"単独で着る場合(衣紋者なし)"、[online]、掲載日不明、2023年6月23日検索、インターネット<URL:http://www.kariginu.jp/kikata/7-1.htm#単独で着る場合>
【0005】
八條忠基、"衣冠の袍の着装(衣紋方一人)"、[online]、掲載日不明、2023年6月23日検索、インターネット<<URL:http://www.kariginu.jp/kikata/kitsuke-3.htm>
【発明の概要】
【0006】
本発明の目的は、両腋の袖付け下を縫い合わせた縫腋(ほうえき)の袍(束帯、衣冠、直衣、斎服など)または、両腋の袖付け下を縫い合わさず解放された闕腋(けってき)の袍(襲装束や久米舞装束など)の着装における困難さを解消するため、元来ひと続きである袍の上下を腰付近で分断し、二部式化した二部式袍を提供することである。古くは日本書紀に天武天皇13年(684)時点で縫腋の袍や闕腋の袍の記載があるが、平安時代末期に朝廷内の装束が凋(なえ)装束から剛(こわ)装束へ変化したことで、袍の自装が困難となり衣紋道(装束に関する専門的な知識や技術を体系化したもの)に従って着装を行う衣紋方が必要となった。以降、袍の形状に大きな改革が見られず、袍の着装には依然として高度な技術が求められ現在に至るが、本発明の二部式袍は被着装者が単独で着装する際の高度な技術を必要とせず、かつ、前後2人の衣紋方によって着装された際の本来外観の再現を可能とする。
【発明が解決しようとする課題】
【0007】
非特許文献1に示されるように、衣紋方不在での被着装者単独による袍の着付けは、前身頃及び、後ろ身頃の裾位置や、前身頃上前、及び、下前の打ち合わせ位置の調整が困難であり、一時的にかいこみ部を袴腰帯に挟み込む等の便法はあるものの、かいこみ形成工程、及び、かいこみ時において、前身頃上前と前身頃下前の打ち合わせ、さらに前後裾の高さにずれが生じやすい。
【0008】
また、非特許文献2に示されるように、衣紋方が1人の場合において、前述のずれに対し、胸高への仮留め等の便法はあるものの、かいこみ部の形成工程、及び、かいこみ時において、前身頃上前と前身頃下前の打ち合わせ、さらに前後裾の高さにずれが生じやすい。
【0009】
本発明の目的は、元来ひと続きである袍の上下を分断し二部式化することにより、かいこみ形成工程、及び、かいこみ時において、前身頃上前と前身頃下前の打ち合わせ、及び、前後裾の高さのずれを抑制し、被着装者単独で高度な着装技術を必要とせず、前後2人の衣紋方によって着装された時の本来外観を再現する事を目的とした二部式袍を提供する。
【0010】
本発明のさらなる目的は、着装後の所作により崩れが生じやすい前身頃両端裾の蟻先菱形状を保持可能な蟻先菱形状保持部材8を備えた二部式袍を提供することである。
【課題を解決するための手段】
(【0011】以降は省略されています)
特許ウォッチbot のツイートを見る
この特許をJ-PlatPat(特許庁公式サイト)で参照する
関連特許
個人
和服
5か月前
個人
衿芯
2か月前
個人
シャツ
21日前
個人
二部式袍
8か月前
個人
ネクタイ
21日前
個人
靴下
9か月前
個人
下着
3か月前
個人
衣装
5か月前
個人
マスク
21日前
個人
多機能装身具
1か月前
個人
シャツ改造方法
5か月前
個人
肩章付き衣服。
3か月前
個人
:マスクカバー
1か月前
個人
作業補助ミトン
7か月前
個人
ソフトキャミブラ
5か月前
個人
車椅子用グローブ
1か月前
株式会社聖
手足保護具
8か月前
個人
足首用サポーター
7か月前
個人
内フィルムマスク
2日前
個人
手袋
6か月前
東洋紡株式会社
マスク
今日
個人
レインコート
4か月前
グンゼ株式会社
衣服
5か月前
興和株式会社
マスク
7か月前
個人
被介護者用上衣
2か月前
個人
ヘアアクセサリー
9か月前
株式会社マルイチ
2部式着物
6日前
LUDO合同会社
手袋
6か月前
個人
マスク(多機能マスク)
1か月前
豊鷹株式会社
冷却装置
7か月前
個人
ブラカップを有する衣類
12日前
個人
ブラカップを有する衣類
12日前
個人
防水マスク
9か月前
株式会社カネカ
収納物
7か月前
個人
ワイヤー付き衣類
9か月前
個人
気分コントロール支援装置
8か月前
続きを見る
他の特許を見る