TOP
|
特許
|
意匠
|
商標
特許ウォッチ
Twitter
他の特許を見る
10個以上の画像は省略されています。
公開番号
2025098441
公報種別
公開特許公報(A)
公開日
2025-07-02
出願番号
2023214564
出願日
2023-12-20
発明の名称
遮断装置
出願人
株式会社東芝
,
東芝エネルギーシステムズ株式会社
代理人
弁理士法人サクラ国際特許事務所
主分類
H01H
9/54 20060101AFI20250625BHJP(基本的電気素子)
要約
【課題】真空遮断器を用いる場合であっても、耐圧性能を十分に備える遮断装置を提供する。
【解決手段】実施形態の遮断装置において、第1遮断接点は、通電接点と並列に接続され、第2遮断接点は、通電接点と並列に接続されていると供に、第1遮断接点に直列に接続されている。第1遮断接点は、真空遮断器によって構成され、第2遮断接点および通電接点は、ガス遮断器によって構成されている。電路を遮断状態から通電状態にする電路投入動作を実行する際には、第1遮断接点投入動作、第2遮断接点投入動作、および、通電接点投入動作を実行する。第1遮断接点投入動作の完了時点は、第2遮断接点投入動作の完了時点以前であって、第2遮断接点投入動作の完了時点は、通電接点投入動作の完了時点よりも前である。
【選択図】図2A
特許請求の範囲
【請求項1】
通電接点と、
前記通電接点と並列に接続されている第1遮断接点と、
前記通電接点と並列に接続されていると供に、前記第1遮断接点に直列に接続されている第2遮断接点と
を有し、
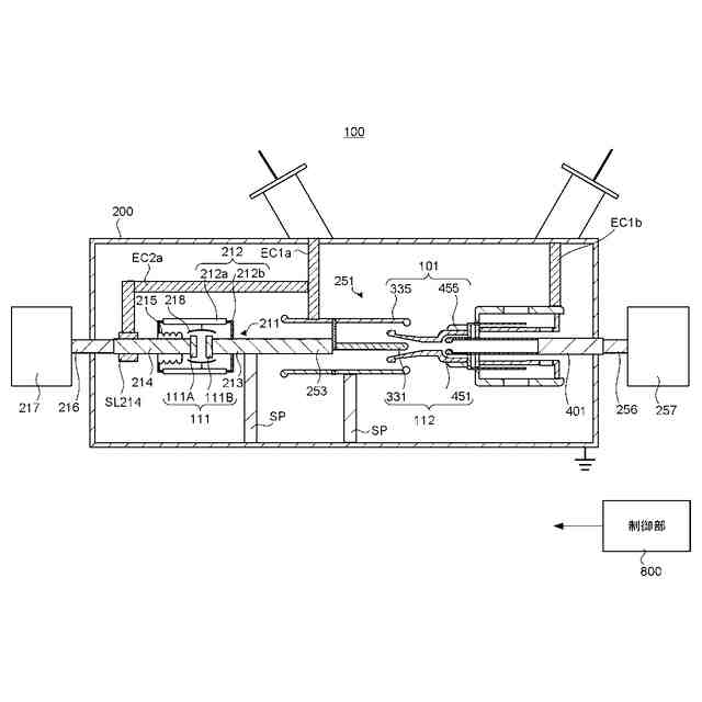
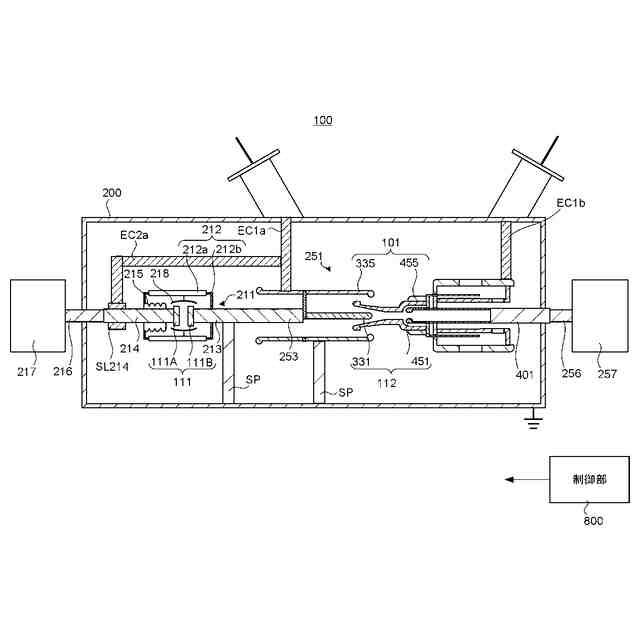
前記第1遮断接点は、真空容器の内部において閉状態と開状態との間が切り替わる真空遮断器によって構成されており、
前記第2遮断接点および前記通電接点は、絶縁ガスが充填された絶縁ガス容器の内部において閉状態と開状態との間が切り替わるガス遮断器によって構成されており、
電路を遮断状態から通電状態にする電路投入動作を実行する際には、前記第1遮断接点を開状態から閉状態にする第1遮断接点投入動作、前記第2遮断接点を開状態から閉状態にする第2遮断接点投入動作、および、前記通電接点を開状態から閉状態にする通電接点投入動作を実行する、
遮断装置であって、
前記第1遮断接点投入動作の完了時点は、前記第2遮断接点投入動作の完了時点以前であって、前記第2遮断接点投入動作の完了時点は、前記通電接点投入動作の完了時点よりも前であり、
前記第1遮断接点投入動作および前記第2遮断接点投入動作が完了したときには、前記第1遮断接点および前記第2遮断接点を電流が流れ、前記通電接点投入動作が完了したときには、前記第1遮断接点および前記第2遮断接点よりも前記通電接点において大きな電流が流れるように構成されている、
遮断装置。
続きを表示(約 1,200 文字)
【請求項2】
前記第2遮断接点投入動作の開始時点は、前記第1遮断接点投入動作の完了時点よりも前である、
請求項1に記載の遮断装置。
【請求項3】
前記第1遮断接点投入動作の完了時点は、前記第2遮断接点投入動作の完了時点と同じである、
請求項1に記載の遮断装置。
【請求項4】
前記第2遮断接点投入動作の開始時点は、前記第1遮断接点投入動作の完了時点よりも後である、
請求項1に記載の遮断装置。
【請求項5】
前記第1遮断接点投入動作の開始時点は、前記第2遮断接点投入動作の開始時点と同じである、
請求項1に記載の遮断装置。
【請求項6】
前記通電接点と前記第1遮断接点と前記第2遮断接点とを操作する操作機構
を含む、
請求項1に記載の遮断装置。
【請求項7】
前記第1遮断接点投入動作において前記第1遮断接点を開状態から閉状態にする投入速度は、前記第2遮断接点投入動作において前記第2遮断接点を開状態から閉状態にする投入速度、および、前記通電接点投入動作において前記通電接点を開状態から閉状態にする投入速度よりも低い、
請求項1に記載の遮断装置。
【請求項8】
前記真空遮断器は、
真空遮断器可動通電軸に設置されている可動電極と、
前記真空遮断器可動通電軸と同軸に並んでいる真空遮断器固定通電軸に設置されている固定電極と
を含み、
前記可動電極と前記固定電極との間が電気的接続状態になることによって閉状態になり、
前記可動電極と前記固定電極との間が電気的絶縁状態になることによって開状態になるように構成されており、
前記真空遮断器固定通電軸には、バネが設置されており、
前記第1遮断接点が閉状態であるときに、前記可動電極が前記バネのバネ力によって前記固定電極に押されて密着する、
請求項1に記載の遮断装置。
【請求項9】
前記ガス遮断器は、
駆動側アーク接触子および駆動側通電接触子が設置されているガス遮断器可動通電軸と、
前記ガス遮断器可動通電軸と同軸に並んでおり、対向側アーク接触子および対向側通電接触子が設置されているガス遮断器固定通電軸と
を含み、
前記通電接点は、
前記駆動側通電接触子と前記対向側通電接触子との間が接続状態になることによって閉状態になり、
前記駆動側通電接触子と前記対向側通電接触子との間が絶縁状態になることによって開状態になるように構成されており、
前記第2遮断接点は、
前記駆動側アーク接触子と前記対向側アーク接触子との間が接続状態になることによって閉状態になり、
前記駆動側アーク接触子と前記対向側アーク接触子との間が絶縁状態になることによって開状態になるように構成されている、
請求項1から8のいずれかに記載の遮断装置。
発明の詳細な説明
【技術分野】
【0001】
本発明の実施形態は、遮断装置に関する。
続きを表示(約 1,600 文字)
【背景技術】
【0002】
電力系統において事故が発生したときに、電流が流れる電路を通電状態から遮断状態に切り替えるために、真空遮断器やガス遮断器等の遮断装置が用いられている。
【0003】
真空遮断器は、真空状態である真空容器の内部において、一対の接触子(電極)について開閉動作を実行するように構成されている。具体的には、真空遮断器は、電路を通電状態にするときには、真空状態の雰囲気下において一対の接触子が接近し、閉状態になって電気的な接続状態になる。電路を遮断状態にするときには、真空遮断器は、真空状態の雰囲気下において一対の接触子が離間して開状態になって電気的な絶縁状態になる。
【0004】
ガス遮断器は、絶縁ガスが充填された接地容器の内部において、一対の接触子について開閉動作を実行するように構成されている。具体的には、ガス遮断器は、電路を通電状態にするときには、絶縁ガスが充填された雰囲気下において一対の接触子が接近し、閉状態になって電気的な接続状態になる。電路を遮断状態にするときには、ガス遮断器は、絶縁ガスが充填された雰囲気下において一対の接触子が離間し、開状態になって電気的な絶縁状態になる。ガス遮断器において、閉状態から開状態に切り替える遮断動作が実行されるときには、遮断動作時に発生するアーク放電を消滅させるために、例えば、絶縁ガスがアーク放電に吹き付けられる。
【0005】
ガス遮断器において、絶縁ガスは、絶縁性能、消弧性能等の性能を十分に得るために、主に、SF
6
ガス(六フッ化硫黄ガス)が用いられている。ガス遮断器は、絶縁性能、消弧性能等の性能が優れるため、真空遮断器が遮断する電路よりも高い電圧が加わる電路(送電クラス等の電路)に対して好適に使用可能である。
【先行技術文献】
【特許文献】
【0006】
特許6057887号
【発明の概要】
【発明が解決しようとする課題】
【0007】
ガス遮断器において絶縁ガスとして主に使用されているSF
6
ガスは、温室効果係数が高い。このため、SF
6
ガス以外の絶縁ガスを用いる技術が提案されているが、十分な性能を得ることは容易でない。具体的には、SF
6
ガスに代えてドライエア等の自然由来ガスを絶縁ガスとしてガス遮断器で使用した場合には、アーク放電を消弧する消弧能力が低いために、遮断性能の低下が生ずる場合がある。
【0008】
このため、ガス遮断器と真空遮断器とを組み合わせることで遮断装置を構成することが検討されている。しかし、ガス遮断器と真空遮断器とを組み合わせることで構成された遮断装置においては、以下に示す不具合が生ずる場合がある。
【0009】
具体的には、真空遮断器を開状態から閉状態にする投入動作の実行のために、真空遮断器を構成する一対の接触子の間を接近させたときに、一対の接触子の間にプレアーク放電が生じた場合には、一対の接触子を構成する金属材料がプレアーク放電によって溶解する。その結果、真空遮断器では、一対の接触子の間が部分的に溶接されたような状態になる場合がある。このため、その後、真空遮断器を閉状態から開状態にする遮断動作が実行されたときに、真空遮断器を構成する一対の接触子において溶接された部分が引き剥がされるため、一対の接触子の表面が粗面化する。真空遮断器において接触子の表面が粗面化した場合、電子増倍係数が増加して電子雪崩が発生しやすくなるので、真空遮断器の耐圧性能が低下する場合がある。
【0010】
上記のような事情により、ガス遮断器と真空遮断器とを組み合わせることで構成された遮断装置では、真空遮断器の耐圧性能の低下により、遮断装置全体における耐圧性能を向上させることが容易でない。
(【0011】以降は省略されています)
この特許をJ-PlatPat(特許庁公式サイト)で参照する
関連特許
株式会社東芝
電子装置
2日前
株式会社東芝
半導体装置
4日前
株式会社東芝
半導体装置
2日前
株式会社東芝
半導体装置
4日前
株式会社東芝
半導体装置
4日前
株式会社東芝
半導体装置
4日前
株式会社東芝
真空バルブ
3日前
株式会社東芝
半導体装置
3日前
株式会社東芝
半導体装置
5日前
株式会社東芝
半導体装置
4日前
株式会社東芝
半導体装置
2日前
株式会社東芝
半導体装置
2日前
株式会社東芝
超電導コイル
5日前
株式会社東芝
半導体装置の製造方法
2日前
株式会社東芝
真空ダクト及び加速器
5日前
株式会社東芝
半導体装置及び製造方法
3日前
株式会社東芝
量子鍵配送ネットワーク
2日前
株式会社東芝
半導体装置、及び製造方法
5日前
株式会社東芝
熱輸送装置及び蓄電池装置
10日前
株式会社東芝
半導体装置及びその製造方法
4日前
株式会社東芝
半導体装置及びその製造方法
2日前
株式会社東芝
ICモジュール及びICカード
10日前
株式会社東芝
重量物の起立装置および起立方法
2日前
株式会社東芝
磁気ヘッド、及び、磁気記録装置
5日前
株式会社東芝
制御サーバ、および、充電制御方法
9日前
株式会社東芝
異常判定システムおよび異常判定方法
5日前
株式会社東芝
ICカード及びICカードの製造方法
11日前
株式会社東芝
運用計画策定装置、運用計画策定方法
2日前
株式会社東芝
半導体装置の製造方法および半導体装置
4日前
東芝ライテック株式会社
制御システム
9日前
株式会社東芝
半導体装置および半導体装置の製造方法
5日前
株式会社東芝
材料寿命序列判定方法およびプログラム
9日前
東芝ライテック株式会社
制御システム
10日前
株式会社東芝
秘密分散保管方法及び秘密分散保管システム
11日前
株式会社東芝
制御装置、電気機器及び電気機器の制御方法
4日前
株式会社東芝
プラント監視支援装置、方法及びプログラム
2日前
続きを見る
他の特許を見る