TOP
|
特許
|
意匠
|
商標
特許ウォッチ
Twitter
他の特許を見る
公開番号
2025158224
公報種別
公開特許公報(A)
公開日
2025-10-17
出願番号
2024060564
出願日
2024-04-04
発明の名称
プラント監視支援装置、方法及びプログラム
出願人
株式会社東芝
,
東芝エネルギーシステムズ株式会社
代理人
弁理士法人東京国際特許事務所
主分類
G05B
23/02 20060101AFI20251009BHJP(制御;調整)
要約
【課題】異常事象と連動するプロセス値を、高い信頼性で効率的に絞り込むことができるプラント監視支援技術を提供する。
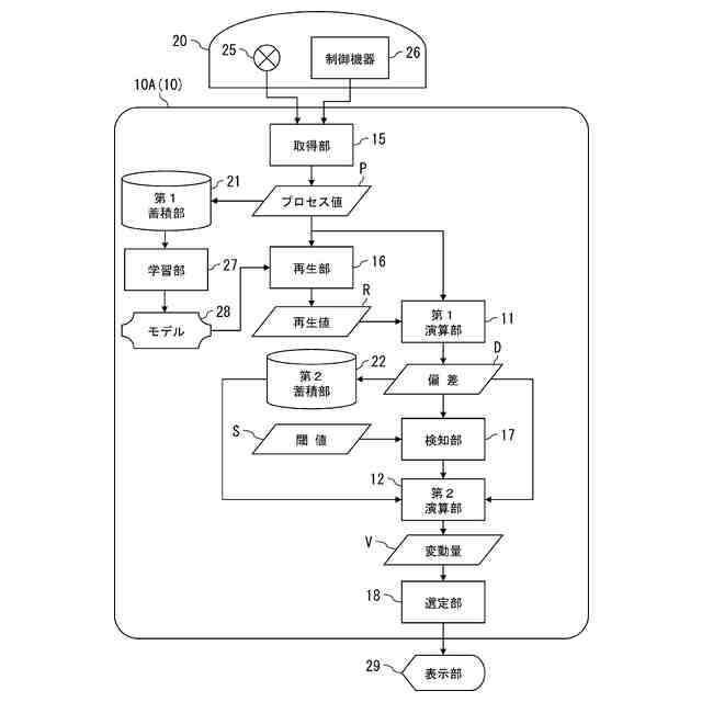
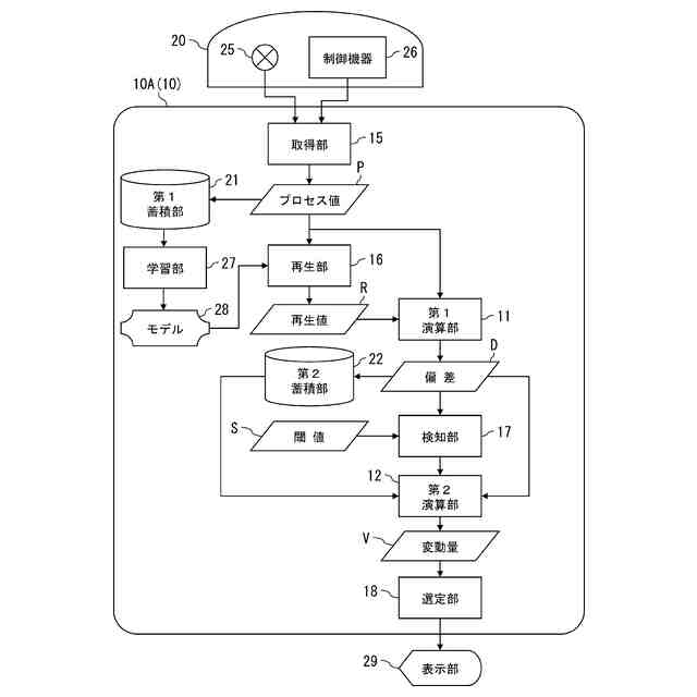
【解決手段】プラント監視支援装置10は、監視対象20のプロセス値Pを取得する取得部15と、リアルタイムに取得されたプロセス値Pをモデル28に基づきデータ圧縮/復元した再生値Rを出力する再生部16と、プロセス値P及び再生値Rの偏差Dを演算する第1演算部11と、設定した閾値S及び偏差Dに基づいて監視対象20の異常予兆を検知する検知部17と、異常予兆が検知されたタイミングTに基づいて偏差Dの変動量Vを演算する第2演算部12と、変動量Vに基づいて異常連動する他の属性のプロセス値Pを選定する選定部18と、を備えている。
【選択図】図1
特許請求の範囲
【請求項1】
監視対象のプロセス値を取得する取得部と、
リアルタイムに取得された前記プロセス値をモデルに基づきデータ圧縮/復元した再生値を出力する再生部と、
前記プロセス値及び前記再生値の偏差を演算する第1演算部と、
設定した閾値及び前記偏差に基づいて前記監視対象の異常予兆を検知する検知部と、
前記異常予兆が検知されたタイミングに基づいて前記偏差の変動量を演算する第2演算部と、
前記変動量に基づいて異常連動する他の属性の前記プロセス値を選定する選定部と、を備えるプラント監視支援装置。
続きを表示(約 1,100 文字)
【請求項2】
請求項1に記載のプラント監視支援装置において、
前記異常予兆が検知されたタイミングの前に取得された前記プロセス値における前記偏差を平均化処理する第1処理部と、
前記異常予兆が検知されたタイミングの後に取得された前記プロセス値における前記偏差を平均化処理する第2処理部と、を備え、
前記変動量は、前記平均化処理された前記偏差に基づいて演算されるプラント監視支援装置。
【請求項3】
請求項1又は請求項2に記載のプラント監視支援装置において、
演算された前記偏差を規格化して規格化偏差にする規格化部を備え、
前記規格化偏差に基づいて前記異常予兆の検知及び前記異常連動の選定をするプラント監視支援装置。
【請求項4】
請求項1又は請求項2に記載のプラント監視支援装置において、
前記プロセス値のうち正常なものを入力データとして圧縮し、復元した出力データが前記入力データに一致するよう前記モデルを学習させる学習部を備えるプラント監視支援装置。
【請求項5】
請求項1又は請求項2に記載のプラント監視支援装置において、
前記異常連動する前記プロセス値の属性を表示する表示部を備えるプラント監視支援装置。
【請求項6】
監視対象のプロセス値を取得するステップと、
リアルタイムに取得された前記プロセス値をモデルに基づきデータ圧縮/復元した再生値を出力するステップと、
前記プロセス値及び前記再生値の偏差を演算するステップと、
設定した閾値及び前記偏差に基づいて前記監視対象の異常予兆を検知するステップと、
前記異常予兆が検知されたタイミングに基づいて前記偏差の変動量を演算するステップと、
前記変動量に基づいて異常連動する他の属性の前記プロセス値を選定するステップと、を備えるプラント監視支援方法。
【請求項7】
コンピュータに、
監視対象のプロセス値を取得するステップ、
リアルタイムに取得された前記プロセス値をモデルに基づきデータ圧縮/復元した再生値を出力するステップ、
前記プロセス値及び前記再生値の偏差を演算するステップ、
設定した閾値及び前記偏差に基づいて前記監視対象の異常予兆を検知するステップ、
前記異常予兆が検知されたタイミングに基づいて前記偏差の変動量を演算するステップ、
前記変動量に基づいて異常連動する他の属性の前記プロセス値を選定するステップ、を実行させるプラント監視支援プログラム。
発明の詳細な説明
【技術分野】
【0001】
本発明の実施形態は、人工知能(AI:Artificial Intelligence)を活用し、異常予兆を検知する、プラント監視支援技術に関する。
続きを表示(約 1,600 文字)
【背景技術】
【0002】
AIによる異常予兆検知を実用化したプラント監視支援技術は、異常予兆の早期検知だけではなく、その原因分析や処置が迅速に行えることが、導入時に重要視される。さらに、このようなプラント監視支援技術には、検知された異常に関連するプロセス値を、可視化したいニーズがある。
【0003】
プラントの構成機器の状態を検出するため設けられた多数のセンサが出力したり監視制御装置が出力したりするプロセス値は、中央監視室等で集約管理されている。発電プラントでは、多種多様なプロセス値をリアルタイムで監視し、その運転状態を確認している。そして、特定のプロセス値に異常予兆が検知された場合は、関連性の強いその他のプロセス値も同時に注視する。そして、検知された異常予兆の原因やプラントの運転状態への影響が究明される。
【0004】
ところで、このように関連性の高いプロセス値を特定するのは、人間系の判断では対象が膨大すぎて困難なため、機械的に絞り込む方法が検討されている。そこで公知技術として、因果関係が想定される2つのデータを入力データと出力データとし、前者に対する後者の応答特性から絞り込みを行うものがある。この場合、入力データの上昇、下降、振動等といった非定常変化に対する出力データの応答特性を、変化種別毎に絞り込んでいく。
【0005】
また、公知技術として、「正常データから算出される予測値」と監視対象とするプロセス値との偏差が閾値超えしたところを、異常予兆としてAIで検知するものがある。この場合、偏差の変動傾向を可視化することや、プロセス値の間の単純・順位相関係数をランキングして表示することも開示されている。
【先行技術文献】
【特許文献】
【0006】
国際出願公開第2014/091955号
特許第5669553号公報
特許第7309548号公報
特許第7391765号公報
【発明の概要】
【発明が解決しようとする課題】
【0007】
しかし、上述した公知技術では、異常事象に関連するプロセス値、もしくは異常事象と連動するプロセス値を抽出する場合、精度が低いため次のような課題が存在する。
【0008】
すなわち、1)偏差の変動傾向が可視化されても、多数のプロセス値から異常に対し連動するプロセス値を抽出することが困難、2)単純・順位相関係数をランキング表示すると、定常的に変動や偏差が大きいプロセス値が、異常と無関係であるにもかかわらず、ランキング上位に表示される、3)プロセス値に対する微小変動(信号ノイズ、ポンプ脈動など)の影響を受けてランキングが変動する、4)異常に関連するプロセス値が、時間遅れを持って変動することへの考慮が困難、という課題があった。
【0009】
本発明の実施形態はこのような事情を考慮してなされたもので、異常事象と連動するプロセス値を、高い信頼性で効率的に絞り込むことができるプラント監視支援技術を提供することを目的とする。
【課題を解決するための手段】
【0010】
実施形態に係るプラント監視支援装置は、監視対象のプロセス値を取得する取得部と、リアルタイムに取得された前記プロセス値をモデルに基づきデータ圧縮/復元した再生値を出力する再生部と、前記プロセス値及び前記再生値の偏差を演算する第1演算部と、設定した閾値及び前記偏差に基づいて前記監視対象の異常予兆を検知する検知部と、前記異常予兆が検知されたタイミングに基づいて前記偏差の変動量を演算する第2演算部と、前記変動量に基づいて異常連動する他の属性の前記プロセス値を選定する選定部と、を備えることを特徴とする。
【発明の効果】
(【0011】以降は省略されています)
この特許をJ-PlatPat(特許庁公式サイト)で参照する
関連特許
株式会社東芝
センサ
1か月前
株式会社東芝
モータ
22日前
株式会社東芝
センサ
27日前
株式会社東芝
センサ
27日前
株式会社東芝
電子装置
6日前
株式会社東芝
電子回路
2日前
株式会社東芝
金型構造
27日前
株式会社東芝
電子装置
21日前
株式会社東芝
吸音装置
22日前
株式会社東芝
半導体装置
8日前
株式会社東芝
半導体装置
8日前
株式会社東芝
半導体装置
1か月前
株式会社東芝
半導体装置
7日前
株式会社東芝
半導体装置
6日前
株式会社東芝
半導体装置
6日前
株式会社東芝
電動送風機
1か月前
株式会社東芝
半導体装置
6日前
株式会社東芝
半導体装置
24日前
株式会社東芝
真空バルブ
7日前
株式会社東芝
半導体装置
8日前
株式会社東芝
半導体装置
24日前
株式会社東芝
半導体装置
24日前
株式会社東芝
半導体装置
1か月前
株式会社東芝
半導体装置
24日前
株式会社東芝
高周波回路
2日前
株式会社東芝
半導体装置
24日前
株式会社東芝
粒子加速器
21日前
株式会社東芝
半導体装置
24日前
株式会社東芝
真空バルブ
1日前
株式会社東芝
半導体装置
2日前
株式会社東芝
半導体装置
2日前
株式会社東芝
半導体装置
8日前
株式会社東芝
半導体装置
9日前
株式会社東芝
半導体装置
24日前
株式会社東芝
半導体装置
2日前
株式会社東芝
ラック装置
1か月前
続きを見る
他の特許を見る