TOP
|
特許
|
意匠
|
商標
特許ウォッチ
Twitter
他の特許を見る
10個以上の画像は省略されています。
公開番号
2025158819
公報種別
公開特許公報(A)
公開日
2025-10-17
出願番号
2024061713
出願日
2024-04-05
発明の名称
半導体装置の製造方法
出願人
株式会社東芝
,
東芝デバイス&ストレージ株式会社
代理人
個人
,
個人
,
個人
,
個人
主分類
H01L
21/304 20060101AFI20251009BHJP(基本的電気素子)
要約
【課題】不良の発生を抑制することができる半導体装置の製造方法を提供する。
【解決手段】本実施形態による半導体装置の製造方法は、半導体素子が設けられた第1面と、第1面とは反対側の第2面と、を有するウェハの第2面に凹部を形成することにより、第2面に薄板部および薄板部を囲む環状凸部を形成することを具備する。本製造方法は、第2面上に第1膜を形成することを具備する。本製造方法は、薄板部と環状凸部との境界部に第1膜の少なくとも一部が残るように、第1膜の一部を除去することを具備する。
【選択図】図1C
特許請求の範囲
【請求項1】
半導体素子が設けられた第1面と、前記第1面とは反対側の第2面と、を有するウェハの前記第2面に凹部を形成することにより、前記第2面に薄板部および前記薄板部を囲む環状凸部を形成し、
前記第2面上に第1膜を形成し、
前記薄板部と前記環状凸部との境界部に前記第1膜の少なくとも一部が残るように、前記第1膜の一部を除去する、
ことを具備する、半導体装置の製造方法。
続きを表示(約 840 文字)
【請求項2】
前記第1膜の一部を除去することは、異方性エッチングにより、前記薄板部が露出するまで前記第1膜を除去することを含む、請求項1に記載の半導体装置の製造方法。
【請求項3】
前記第1膜の一部を除去することは、
前記第1膜上にマスク材を形成し、
前記マスク材に、前記境界部に応じたパターンを形成し、
前記パターンの前記マスク材をマスクとして、前記第1膜を除去する、
ことを含む、請求項1に記載の半導体装置の製造方法。
【請求項4】
前記第1膜は、単層膜である、請求項1に記載の半導体装置の製造方法。
【請求項5】
前記単層膜は、無機絶縁膜または有機絶縁膜である、請求項4に記載の半導体装置の製造方法。
【請求項6】
前記第1膜は、積層膜である、請求項1に記載の半導体装置の製造方法。
【請求項7】
前記積層膜は、無機絶縁膜、有機絶縁膜、または、それらの組み合わせによる積層膜である、請求項6に記載の半導体装置の製造方法。
【請求項8】
前記無機絶縁膜は、シリコン酸化膜およびシリコン窒化膜の少なくとも一方であり、
前記有機絶縁膜は、ポリイミド膜である、請求項5または請求項7に記載の半導体装置の製造方法。
【請求項9】
前記第1膜の一部を除去した後、
前記境界部に残った前記第1膜上および前記第2面上に金属膜を形成し、
前記第1膜を除去し、
前記ウェハから前記環状凸部を除去し、
前記ウェハを複数のチップに個片化する、
ことをさらに具備する、請求項1に記載の半導体装置の製造方法。
【請求項10】
前記境界部は、前記薄板部の表面と、前記環状凸部の内側面と、が交差する角部である、請求項1に記載の半導体装置の製造方法。
(【請求項11】以降は省略されています)
発明の詳細な説明
【技術分野】
【0001】
本発明の実施形態は、半導体装置の製造方法に関する。
続きを表示(約 2,300 文字)
【背景技術】
【0002】
半導体デバイス(IGBT(Insulated Gate Bipolar Transistor)およびLV-MOS(Low-Voltage Metal-Oxide-Semiconductor)等)の製造工程において、ウェハ外周部に環状の厚膜部(リム部)を残し、その内側を研削加工して、ウェハ厚(例えば、Si厚)を薄膜化するTAIKO(登録商標)プロセスがある。近年、デバイス特性の向上要求により、ウェハ厚の更なる薄膜化の必要性が高まっている。しかし、ウェハ厚の薄膜化が進むにつれて、リム部とメンブレン部(研削加工された薄膜部)との境界部にかかるストレスの負荷が大きくなる場合がある。特に、裏面電極成膜後または表面電極へのめっき形成後などに、この境界部を起点としてクラックが入り、ウェハが破損する等の不良が発生する場合がある。
【先行技術文献】
【特許文献】
【0003】
特開2021-94661号公報
特開2021-129000号公報
特開2008-98529号公報
特開2014-53549号公報
【発明の概要】
【発明が解決しようとする課題】
【0004】
不良の発生を抑制することができる半導体装置の製造方法を提供する。
【課題を解決するための手段】
【0005】
本実施形態による半導体装置の製造方法は、半導体素子が設けられた第1面と、第1面とは反対側の第2面と、を有するウェハの第2面に凹部を形成することにより、第2面に薄板部および薄板部を囲む環状凸部を形成することを具備する。本製造方法は、第2面上に第1膜を形成することを具備する。本製造方法は、薄板部と環状凸部との境界部に第1膜の少なくとも一部が残るように、第1膜の一部を除去することを具備する。
【図面の簡単な説明】
【0006】
第1実施形態による半導体装置の製造方法の一例を示す断面図である。
図1Aに続く、半導体装置の製造方法の一例を示す断面図である。
図1Bに続く、半導体装置の製造方法の一例を示す断面図である。
図1Cに続く、半導体装置の製造方法の一例を示す断面図である。
図1Dに続く、半導体装置の製造方法の一例を示す断面図である。
第1実施形態による半導体ウェハの構成の一例を示す上面図である。
第1実施形態による半導体ウェハの構成の一例を示す断面図である。
第1実施形態による応力シミュレーションの一例を示す図である。
第2実施形態による半導体装置の製造方法の一例を示す断面図である。
図5Aに続く、半導体装置の製造方法の一例を示す断面図である。
図5Bに続く、半導体装置の製造方法の一例を示す断面図である。
図5Cに続く、半導体装置の製造方法の一例を示す断面図である。
第2実施形態による半導体ウェハの構成の一例を示す断面図である。
第3実施形態による半導体装置の製造方法の一例を示す断面図である。
図7Aに続く、半導体装置の製造方法の一例を示す断面図である。
図7Bに続く、半導体装置の製造方法の一例を示す断面図である。
第3実施形態による半導体ウェハの構成の一例を示す断面図である。
第4実施形態による半導体装置の製造方法の一例を示す断面図である。
図9Aに続く、半導体装置の製造方法の一例を示す断面図である。
図9Bに続く、半導体装置の製造方法の一例を示す断面図である。
図9Cに続く、半導体装置の製造方法の一例を示す断面図である。
図9Dに続く、半導体装置の製造方法の一例を示す断面図である。
第4実施形態による半導体ウェハの構成の一例を示す上面図である。
第4実施形態による半導体ウェハの構成の一例を示す断面図である。
第4実施形態による応力シミュレーションの一例を示す図である。
【発明を実施するための形態】
【0007】
以下、図面を参照して本発明に係る実施形態を説明する。本実施形態は、本発明を限定するものではない。図面は模式的または概念的なものであり、各部分の比率などは、必ずしも現実のものと同一とは限らない。明細書と図面において、既出の図面に関して前述したものと同様の要素には同一の符号を付して詳細な説明は適宜省略する。
【0008】
(第1実施形態)
図1A~図1は、第1実施形態による半導体装置の製造方法の一例を示す断面図である。
【0009】
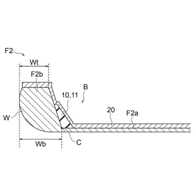
半導体ウェハWは、第1面F1と、第1面とは反対側の第2面F2と、を有する。第1面F1には、半導体素子Eが設けられる。尚、図1Aに示す工程の前に、第1面F1に、半導体素子Eを保護する保護膜(図示せず)が形成される。
【0010】
まず、図1Aに示すように、半導体ウェハWの第2面F2に凹部Rを形成することにより、第2面F2に薄板部F2a(メンブレン部)および環状凸部F2b(リム部)を形成する。リム部F2bは、半導体ウェハWの外周部において、メンブレン部F2aを囲むように形成される。凹部Rは、半導体ウェハWに略垂直な方向から見て、少なくとも半導体素子Eと重なる、第2面F2の中央部の領域に形成される。凹部Rは、第2面F2側から見て、例えば、略円形である(図2を参照)。
(【0011】以降は省略されています)
この特許をJ-PlatPat(特許庁公式サイト)で参照する
関連特許
株式会社東芝
センサ
24日前
株式会社東芝
センサ
24日前
株式会社東芝
モータ
19日前
株式会社東芝
固定子
1か月前
株式会社東芝
センサ
1か月前
株式会社東芝
金型構造
24日前
株式会社東芝
吸音装置
19日前
株式会社東芝
電子装置
3日前
株式会社東芝
ドア構造
2か月前
株式会社東芝
電子装置
18日前
株式会社東芝
半導体装置
5日前
株式会社東芝
半導体装置
5日前
株式会社東芝
半導体装置
1か月前
株式会社東芝
半導体装置
21日前
株式会社東芝
半導体装置
21日前
株式会社東芝
半導体装置
5日前
株式会社東芝
粒子加速器
18日前
株式会社東芝
半導体装置
6日前
株式会社東芝
半導体装置
5日前
株式会社東芝
真空バルブ
4日前
株式会社東芝
半導体装置
5日前
株式会社東芝
半導体装置
3日前
株式会社東芝
半導体装置
1か月前
株式会社東芝
ラック装置
1か月前
株式会社東芝
半導体装置
3日前
株式会社東芝
電動送風機
1か月前
株式会社東芝
半導体装置
3日前
株式会社東芝
半導体装置
21日前
株式会社東芝
半導体装置
21日前
株式会社東芝
半導体装置
21日前
株式会社東芝
半導体装置
21日前
株式会社東芝
半導体装置
21日前
株式会社東芝
半導体装置
4日前
株式会社東芝
ディスク装置
2か月前
株式会社東芝
電子デバイス
19日前
株式会社東芝
走行システム
1か月前
続きを見る
他の特許を見る