TOP
|
特許
|
意匠
|
商標
特許ウォッチ
Twitter
他の特許を見る
10個以上の画像は省略されています。
公開番号
2025114836
公報種別
公開特許公報(A)
公開日
2025-08-05
出願番号
2025082548,2025065274
出願日
2025-05-16,2020-08-27
発明の名称
喫煙具用カートリッジ
出願人
Future Technology株式会社
代理人
主分類
A24D
1/20 20200101AFI20250729BHJP(たばこ;葉巻たばこ;紙巻たばこ;喫煙具)
要約
【課題】充填物の脱落を防止しつつ、芳香や味わいを高めることのできる喫煙具用カートリッジを提供する。
【解決手段】タバコ植物または非タバコ植物を原料とする充填物が充填された被加熱体と、被加熱体と同軸上に配置されるマウスピースと、を備えた喫煙具用カートリッジであって、充填物は、複数の短冊状喫煙材121と、複数の短冊状喫煙材の間に形成された第3の隙間151に配置される少なくとも1つの棒状喫煙材122と、を含み、短冊状喫煙材の充填物における含有量は、50~95質量%であり、複数の短冊状喫煙材は、それぞれの中心軸に直交する断面が第1の断面積を有する矩形状に形成され、少なくとも1つの棒状喫煙材は、その中心軸に直交する断面が第2の断面積を有する矩形状に形成され、該矩形状は長辺と短辺の比が1:1~1.5:1の範囲であり、第1の断面積は、第2の断面積より大きい。
【選択図】図9
特許請求の範囲
【請求項1】
タバコ植物または非タバコ植物を用いた充填物が充填された被加熱体と、前記被加熱体と同軸上に配置されるマウスピースと、を備えた喫煙具用カートリッジであって、
前記充填物は、複数の短冊状喫煙材と、前記複数の短冊状喫煙材の間に形成された第3の隙間に配置される少なくとも1つの棒状喫煙材と、を含み、
前記短冊状喫煙材の前記充填物における含有量は、50~95質量%であり、
前記複数の短冊状喫煙材は、それぞれの中心軸に直交する断面が第1の断面積を有する矩形状に形成され、
前記少なくとも1つの棒状喫煙材は、その中心軸に直交する断面が第2の断面積を有する矩形状に形成され、該矩形状は長辺と短辺の比が1:1~1.5:1の範囲であり、
前記第1の断面積は、前記第2の断面積より大きい、
ことを特徴とする喫煙具用カートリッジ。
発明の詳細な説明
【技術分野】
【0001】
本発明は、喫煙具用カートリッジに関する。
続きを表示(約 1,700 文字)
【背景技術】
【0002】
近年、火炎を用いることなく、タバコの成分を含むタバコカートリッジを加熱して、気化したタバコ成分を吸引する方式のタバコ製品が広く知られている。また、嗜好の多様化から、タバコ成分を含まない植物の芳香や味わいを、タバコ同様に火炎を用いずに楽しむためのカートリッジ製品も知られ始めている。
【0003】
例えば特許文献1には、「長尺状のタバコ充填物が束状に集積され外周部がシート状の包装体で巻かれ、タバコ充填物は、長さ方向と直交する断面において長辺方向の寸法が短辺方向の寸法より長くなるように形成され、包装体に接する最外周部のタバコ充填物は、長辺方向が周方向に略沿う方向を向いているか、あるいは長辺方向が周方向に略沿う方向以外の方向を向いており、長辺方向が周方向に略沿う方向を向いているタバコ充填物の数が、長辺方向が周方向に略沿う方向以外の方向を向いているタバコ充填物の数より多い。」という構成の電子タバコカートリッジが記載されている(要約参照)。
【先行技術文献】
【特許文献】
【0004】
特許第6516907号公報
【発明の概要】
【発明が解決しようとする課題】
【0005】
喫煙者の嗜好の多様化は進んでおり、新たな芳香や味わいの追求は本技術分野の恒久の課題である。特許文献1に記載の電子タバコカートリッジにおいても、タバコ充填物の量を確保しつつ、タバコ充填物集積体内部における気流の流動性を良好にでき、併せてタバコ充填物の脱落を防止できるとされているが、芳香や味わいの面では改良の余地がある。
【0006】
本発明は、このような実情に鑑みてなされたもので、その目的は、充填物の脱落を防止しつつ、芳香や味わいを高めることのできる喫煙具用カートリッジを提供することにある。
【課題を解決するための手段】
【0007】
上記目的を達成するために、本発明の一態様は、タバコ植物または非タバコ植物を原料とする充填物が充填された被加熱体と、前記被加熱体と同軸上に配置されるマウスピースと、を備えた喫煙具用カートリッジであって、前記充填物は、短冊状または棒状に形成された複数の第1の喫煙材と、前記複数の第1の喫煙材の間に形成された第1の隙間に配置され、粉状または粒状に形成された少なくとも1つの第2の喫煙材と、を含み、前記第1の喫煙材の前記充填物における含有量は、50~95質量%であることを特徴とする。
【0008】
また、上記目的を達成するために、本発明の別の態様は、タバコ植物または非タバコ植物を用いた充填物が充填された被加熱体と、前記被加熱体と同軸上に配置されるマウスピースと、を備えた喫煙具用カートリッジであって、前記充填物は、複数の短冊状喫煙材と、前記複数の短冊状喫煙材の間に形成された第3の隙間に配置される少なくとも1つの棒状喫煙材と、を含み、前記短冊状喫煙材の前記充填物における含有量は、50~95質量%であることを特徴とする。
【発明の効果】
【0009】
本発明によれば、充填物の脱落を防止しつつ、芳香や味わいを高めることのできる喫煙具用カートリッジを提供できる。なお、上記した以外の課題、構成および効果は、以下の実施形態の説明により明らかにされる。
【図面の簡単な説明】
【0010】
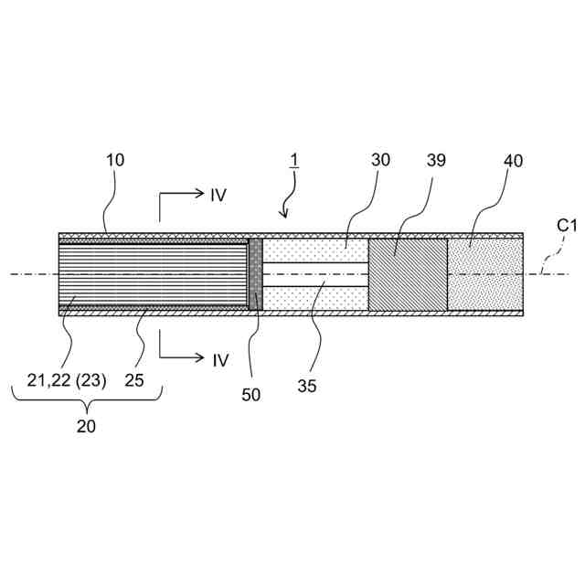
第1実施形態に係る喫煙具用カートリッジの断面図。
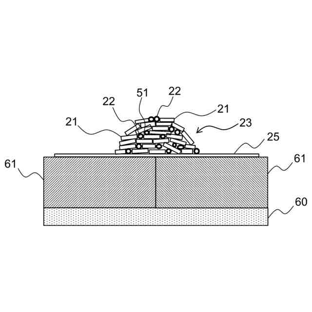
第1の喫煙材の外形を示す図。
第2の喫煙材の外形を示す図。
図1のIV-IV断面図。
被加熱体の製造工程を示す図。
被加熱体の製造工程を示す図。
被加熱体の製造工程を示す図。
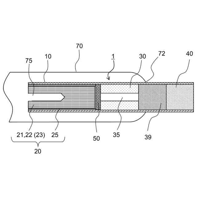
図1に示す喫煙具用カートリッジを喫煙具に挿入した状態の断面図。
短冊状喫煙材の外形を示す図。
棒状喫煙材の外形を示す図。
第2実施形態に係る喫煙具用カートリッジの断面図。
【発明を実施するための形態】
(【0011】以降は省略されています)
この特許をJ-PlatPat(特許庁公式サイト)で参照する
関連特許
個人
ヒートスティック除去具
3か月前
日本たばこ産業株式会社
香味吸引物品
1か月前
個人
電子タバコの加熱素子
3か月前
個人
フレーバ用ブースター器具およびシーシャ装置
3か月前
日本たばこ産業株式会社
香味発生物品
1か月前
日本たばこ産業株式会社
喫煙システム
2か月前
日本たばこ産業株式会社
口腔用組成物
2か月前
東莞市佳かい精密金属制品有限公司
充電可能な電子タバコケース
2か月前
日本たばこ産業株式会社
香味吸引システム
2か月前
日本たばこ産業株式会社
香味吸引システム
2か月前
Future Technology株式会社
エアロゾル吸引カートリッジ
1か月前
エム・クリエイト株式会社
灰皿装置及び灰皿管理システム
4か月前
日本たばこ産業株式会社
低香味原料を含むたばこセグメント
1か月前
日本たばこ産業株式会社
非燃焼加熱型香味吸引物品用フィルタ
4か月前
日本たばこ産業株式会社
粒状再生セルロースを含有する口腔用組成物
2か月前
日本たばこ産業株式会社
香味発生物品および香味吸引システム
2か月前
日本たばこ産業株式会社
電子装置
2か月前
Future Technology株式会社
芳香基材
3か月前
Future Technology株式会社
喫煙器具
1か月前
日本たばこ産業株式会社
吸引器
2か月前
日本たばこ産業株式会社
たばこ材料、その製造方法、および非燃焼加熱型喫煙物品
1か月前
Future Technology株式会社
芳香カートリッジ
4か月前
Future Technology株式会社
芳香カートリッジ
5か月前
Future Technology株式会社
芳香カートリッジ
3か月前
Future Technology株式会社
芳香カートリッジ
4日前
Future Technology株式会社
芳香カートリッジ
3か月前
Future Technology株式会社
タバコ充填物集積体
1か月前
Future Technology株式会社
喫煙具用カートリッジ
2か月前
日本たばこ産業株式会社
たばこ用の組成物
4か月前
Future Technology株式会社
喫煙具用カートリッジ
1か月前
Future Technology株式会社
喫煙具用カートリッジ
2か月前
Future Technology株式会社
喫煙具用カートリッジ
1か月前
Future Technology株式会社
喫煙具用カートリッジ
3か月前
Future Technology株式会社
喫煙具用カートリッジ
2か月前
Future Technology株式会社
喫煙具用カートリッジ
18日前
Future Technology株式会社
喫煙具用カートリッジ
3か月前
続きを見る
他の特許を見る