TOP
|
特許
|
意匠
|
商標
特許ウォッチ
Twitter
他の特許を見る
10個以上の画像は省略されています。
公開番号
2025123468
公報種別
公開特許公報(A)
公開日
2025-08-22
出願番号
2025104628,2024195680
出願日
2025-06-20,2020-08-27
発明の名称
喫煙具用カートリッジ
出願人
Future Technology株式会社
代理人
主分類
A24D
1/20 20200101AFI20250815BHJP(たばこ;葉巻たばこ;紙巻たばこ;喫煙具)
要約
【課題】喫煙具用カートリッジの一部である支持部材の構造を簡素化すること。
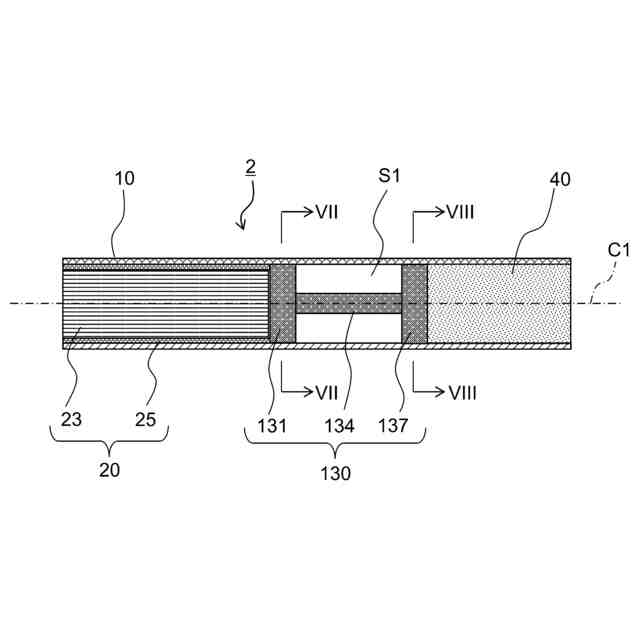
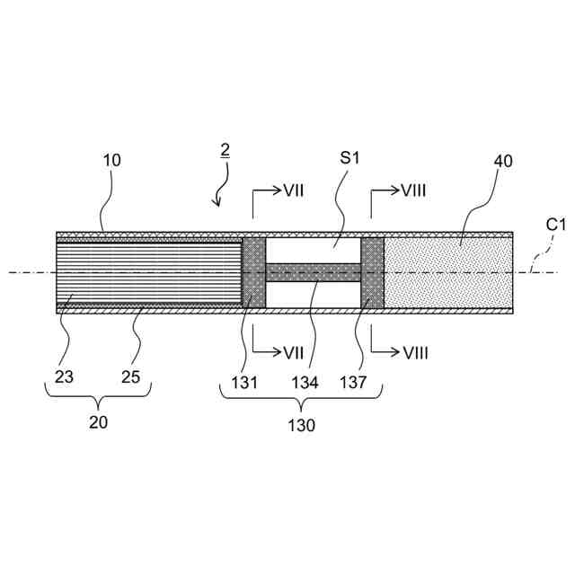
【解決手段】喫煙具用カートリッジ2は、タバコ植物または非タバコ植物を原料とするエアロゾル形成基材23と、エアロゾル形成基材と同軸上に配置されるマウスピース40と、エアロゾル形成基材とマウスピースとの間に配置される支持部材130と、を備え、支持部材は、エアロゾル形成基材と対面する位置に配置され、エアロゾル形成基材が加熱されることで生成されるエアロゾルが流れる第1の流路を有する第1の壁部131と、マウスピースと対面するように設けられ、第1の流路は、前記第1の壁部を貫通する第1の貫通孔であり、第2の流路は、第2の壁部を貫通する第2の貫通孔であり、第2の貫通孔のサイズは、前記第1の貫通孔のサイズより大きいことを特徴とする。
【選択図】図6
特許請求の範囲
【請求項1】
タバコ植物または非タバコ植物を原料とするエアロゾル形成基材と、前記エアロゾル形成基材と同軸上に配置されるマウスピースと、前記エアロゾル形成基材と前記マウスピースとの間に配置される支持部材と、を備えた喫煙具用カートリッジであって、
前記支持部材は、
前記エアロゾル形成基材と対面する位置に配置され、前記エアロゾル形成基材が加熱されることで生成されるエアロゾルが流れる第1の流路を有する第1の壁部と、
前記マウスピースと対面するように設けられ、前記エアロゾルが流れる第2の流路を有する第2の壁部を含み、
前記第1の流路は、前記第1の壁部を貫通する第1の貫通孔であり、
前記第2の流路は、前記第2の壁部を貫通する第2の貫通孔であり、
前記第2の貫通孔のサイズは、前記第1の貫通孔のサイズより大きいことを特徴とする喫煙具用カートリッジ。
発明の詳細な説明
【技術分野】
【0001】
本発明は、喫煙具用カートリッジに関する。
続きを表示(約 1,900 文字)
【背景技術】
【0002】
近年、火炎を用いることなく、タバコの成分を含むタバコカートリッジを加熱して、気
化したタバコ成分を吸引する方式のタバコ製品が広く知られている。また、嗜好の多様化
から、タバコ成分を含まない植物の芳香や味わいを、タバコ同様に火炎を用いずに楽しむ
ためのカートリッジ製品も知られ始めている。
【0003】
例えば特許文献1には、「エアロゾル発生デバイスに使用する喫煙物品は、喫煙物品の
最上流端に位置するエアロゾル形成基材とエアロゾル形成基材のすぐ下流に位置する支持
要素とを含む。支持要素は、エアロゾル形成基材に当接し、エアロゾル形成基材は、喫煙
物品を実質的に変形させることなくエアロゾル形成基材の直径の約40パーセントと約7
0パーセントの間の直径を有するエアロゾル発生デバイスの加熱要素によって貫通可能で
あるように構成される。支持要素は、エアロゾル形成基材内へのエアロゾル発生デバイス
の加熱要素の挿入中にエアロゾル形成基材の下流への移動に抵抗するように構成される。
」ことが記載されている(要約参照)。
【先行技術文献】
【特許文献】
【0004】
特表2015-519915号公報
【発明の概要】
【発明が解決しようとする課題】
【0005】
特許文献1に記載の支持要素(支持部材)は、中央部に流路が形成された中空円筒状の
部材で構成されているため、構造が複雑で、製造コストが嵩むといった課題がある。
【0006】
本発明は、このような実情に鑑みてなされたもので、その目的は、喫煙具用カートリッ
ジの一部である支持部材の構造を簡素化することにある。
【課題を解決するための手段】
【0007】
上記目的を達成するために、本発明の一態様は、タバコ植物または非タバコ植物を原料
とするエアロゾル形成基材と、前記エアロゾル形成基材と同軸上に配置されるマウスピー
スと、前記エアロゾル形成基材と前記マウスピースとの間に配置され、前記エアロゾル形
成基材を支持する支持部材と、を備えた喫煙具用カートリッジであって、前記支持部材は
、前記エアロゾル形成基材と対面する位置に配置され、前記エアロゾル形成基材が加熱さ
れることで生成されるエアロゾルが流れる第1の流路を有する第1の壁部と、前記第1の
壁部から前記マウスピースに向かって延びる軸部と、を含むことを特徴とする。
【発明の効果】
【0008】
本発明によれば、喫煙具用カートリッジの一部である支持部材の構造を簡素化できる。
なお、上記した以外の課題、構成および効果は、以下の実施形態の説明により明らかにさ
れる。
【図面の簡単な説明】
【0009】
第1実施形態に係る喫煙具用カートリッジの断面図。
図1のII-II断面図。
図1に示す喫煙具用カートリッジを喫煙具に挿入した状態の断面図。
変形例1-1に係る第1の壁部の断面図。
変形例1-2に係る第1の壁部の断面図。
第2実施形態に係る喫煙具用カートリッジの断面図。
図6のVII-VII断面図。
図6のVIII-VIII断面図。
変形例2-1に係る第1の壁部の断面図。
変形例2-1に係る第2の壁部の断面図。
変形例2-2に係る第2の壁部の断面図。
変形例2-3に係る第2の壁部の断面図。
変形例2-4に係る喫煙具用カートリッジの断面図。
図13のXIV-XIV断面図。
変形例2-5に係る喫煙具用カートリッジの断面図。
第3実施形態に係る喫煙具用カートリッジの断面図。
図16のXVII-XVII断面図。
変形例3-1に係る喫煙具用カートリッジの断面図。
変形例3-2に係る喫煙具用カートリッジの断面図。
変形例3-3に係る喫煙具用カートリッジの断面図。
変形例3-4に係る支持部材の端部の構成図。
【発明を実施するための形態】
【0010】
以下、本発明の実施形態について、図面を参照して説明する。
(【0011】以降は省略されています)
この特許をJ-PlatPat(特許庁公式サイト)で参照する
関連特許
日本たばこ産業株式会社
香味吸引物品
1か月前
日本たばこ産業株式会社
口腔用組成物
2か月前
日本たばこ産業株式会社
香味発生物品
1か月前
日本たばこ産業株式会社
喫煙システム
2か月前
日本たばこ産業株式会社
香味吸引システム
2か月前
Future Technology株式会社
エアロゾル吸引カートリッジ
1か月前
日本たばこ産業株式会社
香味吸引システム
2か月前
日本たばこ産業株式会社
低香味原料を含むたばこセグメント
1か月前
日本たばこ産業株式会社
香味発生物品および香味吸引システム
2か月前
日本たばこ産業株式会社
粒状再生セルロースを含有する口腔用組成物
2か月前
日本たばこ産業株式会社
吸引器
2か月前
Future Technology株式会社
喫煙器具
1か月前
日本たばこ産業株式会社
たばこ材料、その製造方法、および非燃焼加熱型喫煙物品
1か月前
Future Technology株式会社
芳香カートリッジ
3日前
Future Technology株式会社
タバコ充填物集積体
1か月前
Future Technology株式会社
喫煙具用カートリッジ
1か月前
Future Technology株式会社
喫煙具用カートリッジ
1か月前
Future Technology株式会社
喫煙具用カートリッジ
17日前
Future Technology株式会社
喫煙具用カートリッジ
2か月前
Future Technology株式会社
喫煙具用カートリッジ
2か月前
Future Technology株式会社
喫煙具用カートリッジ
2か月前
Future Technology株式会社
電子タバコカートリッジ
1か月前
Future Technology株式会社
被加熱芳香カートリッジ
1か月前
Future Technology株式会社
電子タバコカートリッジ
1か月前
Future Technology株式会社
電子タバコカートリッジ
2か月前
Future Technology株式会社
電子タバコカートリッジ
1か月前
シェンチェン ギークベイプ テクノロジー カンパニー リミテッド
電子霧化装置
2か月前
Future Technology株式会社
加熱式タバコ用カートリッジ
1か月前
Future Technology株式会社
加熱式タバコ用カートリッジ
17日前
Future Technology株式会社
喫煙具用の柱状のカートリッジ
2か月前
日本たばこ産業株式会社
非燃焼加熱型スティック、吸引システム
29日前
ケーティー アンド ジー コーポレイション
エアロゾル生成システム
3日前
日本たばこ産業株式会社
香味吸引器及び喫煙システム
23日前
日本たばこ産業株式会社
香味吸引器及び喫煙システム
11日前
日本たばこ産業株式会社
ヒータアッセンブリ及び容器
2か月前
日本たばこ産業株式会社
エアロゾル生成装置の電源ユニット
18日前
続きを見る
他の特許を見る