TOP
|
特許
|
意匠
|
商標
特許ウォッチ
Twitter
他の特許を見る
10個以上の画像は省略されています。
公開番号
2025129041
公報種別
公開特許公報(A)
公開日
2025-09-03
出願番号
2025021032
出願日
2025-02-12
発明の名称
光学積層体の製造方法
出願人
日東電工株式会社
代理人
弁理士法人籾井特許事務所
主分類
G02B
5/30 20060101AFI20250827BHJP(光学)
要約
【課題】視認性を向上させながら、VRゴーグルの軽量化を良好に達成し得る光学積層体の製造方法を提供すること。
【解決手段】
互いに対向する第一主面と第二主面とを有し、前記第一主面側から入射した直線偏光を円偏光に変換して前記第二主面側から出射する位相差部材と、遅相軸を有し、前記位相差部材の前記第二主面側に配置された保護部材と、を含む、光学積層体の製造方法であって、前記直線偏光の偏光方向と前記保護部材の遅相軸とのなす角度が15°以下または75°~105°となるように、前記位相差部材と前記保護部材とを積層することを含む、製造方法。
【選択図】図5
特許請求の範囲
【請求項1】
互いに対向する第一主面と第二主面とを有し、前記第一主面側から入射した直線偏光を円偏光に変換して前記第二主面側から出射する位相差部材と、遅相軸を有し、前記位相差部材の前記第二主面側に配置された保護部材と、を含む、光学積層体の製造方法であって、
前記直線偏光の偏光方向と前記保護部材の遅相軸とのなす角度が15°以下または75°~105°となるように、前記位相差部材と前記保護部材とを積層することを含む、
製造方法。
続きを表示(約 980 文字)
【請求項2】
前記位相差部材が、100nm~190nmのRe(550)を有するλ/4層を含み、
前記位相差部材と前記保護部材とを積層することが、前記λ/4層の遅相軸と前記保護部材の遅相軸とのなす角度が30°~60°となるように、前記λ/4層と前記保護部材とを積層することを含む、請求項1に記載の製造方法。
【請求項3】
前記位相差部材と前記保護部材とを積層することが、いずれも枚葉状である前記λ/4層と前記保護部材とを積層することを含む、請求項2に記載の製造方法。
【請求項4】
長尺状の前記λ/4層を、その遅相軸が辺方向と略直交または略平行となるように打ち抜いて、矩形状の前記λ/4層を得ること、および、
長尺状の前記保護部材を、その遅相軸が辺方向と30°~60°の角度をなすように打ち抜いて、矩形状の前記保護部材を得ること、
をさらに含む、請求項3に記載の製造方法。
【請求項5】
長尺状の前記λ/4層を、その遅相軸が辺方向と30°~60°の角度をなすように打ち抜いて、矩形状の前記λ/4層を得ること、および、
長尺状の前記保護部材を、その遅相軸が辺方向と略直交または略平行となるように打ち抜いて、矩形状の前記保護部材を得ること、
をさらに含む、請求項3に記載の製造方法。
【請求項6】
前記長尺状の前記λ/4層が、長手方向または幅方向に略平行な方向に遅相軸を有する、請求項4または5に記載の製造方法。
【請求項7】
前記位相差部材と前記保護部材とを積層することが、いずれも長尺状の前記λ/4層と前記保護部材とを互いの長手方向を揃えて連続的に積層することを含む、請求項2に記載の製造方法。
【請求項8】
前記長尺状の前記λ/4層が、長手方向に対して30°~60°の方向に遅相軸を有する、請求項7に記載の製造方法。
【請求項9】
前記位相差部材と前記保護部材とが、粘着剤層を介して積層される、請求項1に記載の製造方法。
【請求項10】
一方の表面に前記粘着剤層が設けられた前記保護部材と前記位相差部材とを積層する、請求項9に記載の製造方法。
(【請求項11】以降は省略されています)
発明の詳細な説明
【技術分野】
【0001】
本発明は、光学積層体の製造方法に関する。
続きを表示(約 3,200 文字)
【背景技術】
【0002】
液晶表示装置およびエレクトロルミネセンス(EL)表示装置(例えば、有機EL表示装置)に代表される画像表示装置が急速に普及している。画像表示装置においては、画像表示を実現し、画像表示の性能を高めるために、一般的に、位相差部材、偏光部材等の光学部材が用いられている(例えば、特許文献1を参照)。これらの光学部材は、予め一体化され、光学積層体として画像表示装置に搭載され得る。
【0003】
近年、画像表示装置の新たな用途が開発されている。例えば、Virtual Reality(VR)を実現するためのディスプレイ付きゴーグル(VRゴーグル)が製品化され始めている。VRゴーグルは様々な場面での利用が検討されていることから、その軽量化、視認性の向上等が望まれている。
【先行技術文献】
【特許文献】
【0004】
特開2021-103286号公報
【発明の概要】
【発明が解決しようとする課題】
【0005】
上記VRゴーグルの軽量化は、例えば、VRゴーグルに用いられるレンズを薄型化することで達成され得る。一方で、レンズを用いた表示システムに適した上記光学部材を含む光学積層体の開発も望まれている。
【0006】
上記に鑑み、本発明は、視認性を向上させながら、VRゴーグルの軽量化を良好に達成し得る光学積層体の製造方法の提供を主たる目的とする。
【課題を解決するための手段】
【0007】
[1]本発明の1つの局面によれば、互いに対向する第一主面と第二主面とを有し、上記第一主面側から入射した直線偏光を円偏光に変換して上記第二主面側から出射する位相差部材と、遅相軸を有し、上記位相差部材の上記第二主面側に配置された保護部材と、を含む、光学積層体の製造方法であって、上記直線偏光の偏光方向と上記保護部材の遅相軸とのなす角度が15°以下または75°~105°となるように、上記位相差部材と上記保護部材とを積層することを含む、製造方法が提供される。
[2]上記[1]に記載の製造方法において、上記位相差部材が、100nm~190nmのRe(550)を有するλ/4層を含んでよく、上記位相差部材と上記保護部材とを積層することが、上記λ/4層の遅相軸と上記保護部材の遅相軸とのなす角度が30°~60°となるように、上記λ/4層と上記保護部材とを積層することを含んでよい。
[3]上記[2]に記載の製造方法において、上記位相差部材と上記保護部材とを積層することが、いずれも枚葉状である上記λ/4層と上記保護部材とを積層することを含んでよい。
[4]上記[3]に記載の製造方法は、長尺状の上記λ/4層を、その遅相軸が辺方向と略直交または略平行となるように打ち抜いて、矩形状の上記λ/4層を得ること、および、長尺状の上記保護部材を、その遅相軸が辺方向と30°~60°の角度をなすように打ち抜いて、矩形状の上記保護部材を得ること、をさらに含んでよい。
[5]上記[3]に記載の製造方法は、長尺状の上記λ/4層を、その遅相軸が辺方向と30°~60°の角度をなすように打ち抜いて、矩形状の上記λ/4層を得ること、および、長尺状の上記保護部材を、その遅相軸が辺方向と略直交または略平行となるように打ち抜いて、矩形状の上記保護部材を得ること、をさらに含んでよい。
[6]上記[4]または[5]に記載の製造方法において、上記長尺状の上記λ/4層が、長手方向または幅方向に略平行な方向に遅相軸を有してよい。
[7]上記[2]に記載の製造方法において、上記位相差部材と上記保護部材とを積層することが、いずれも長尺状の上記λ/4層と上記保護部材とを互いの長手方向を揃えて連続的に積層することを含んでよい。
[8]上記[7]に記載の製造方法において、上記長尺状の上記λ/4層が、長手方向に対して30°~60°の方向に遅相軸を有してよい。
[9]上記[1]から[8]のいずれかに記載の製造方法において、上記位相差部材と上記保護部材とが、粘着剤層を介して積層されてよい。
[10]上記[9]に記載の製造方法において、一方の表面に上記粘着剤層が設けられた上記保護部材と上記位相差部材とを積層してもよい。
[11]上記[1]から[10]のいずれかに記載の製造方法において、上記保護部材が、基材を含んでよく、上記基材が、アクリル系樹脂およびトリアセチルセルロース系樹脂から選択される少なくとも1種の樹脂を含んでよい。
【発明の効果】
【0008】
本発明の実施形態による光学積層体の製造方法によれば、直線偏光を円偏光に変換する位相差部材の遅相軸と、当該位相差部材と共に用いられる保護部材の遅相軸との軸角度を調整する。これにより、視認性を向上させながら、VRゴーグルの軽量化を良好に達成し得る光学積層体が好適に得られ得る。
【図面の簡単な説明】
【0009】
本発明の1つの実施形態による製造方法で製造され得る光学積層体の概略の構成を示す模式な断面図である。
本発明の1つの実施形態による製造方法で製造され得る光学積層体の概略の構成を示す模式な断面図である。
本発明の実施形態による製造方法に用いられる位相差部材の一例の概略の構成を示す模式的な断面図である。
本発明の実施形態による製造方法に用いられる位相差部材の一例の概略の構成を示す模式的な断面図である。
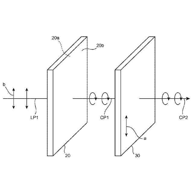
図1に示す光学積層体を透過する光の偏光状態を説明する模式図である。
矩形状のλ/4層および保護部材の作製方法の一例を説明する模式図である。
矩形状のλ/4層および保護部材の作製方法の一例を説明する模式図である。
図2に示す光学積層体を透過する光の偏光状態を説明する模式図である。
本発明の1つの実施形態に係る表示システムの概略の構成を示す模式図である。
図9に示す表示システムの一部の具体的な構成の一例を示す模式的な側面図である。
図9に示す表示システムの一部の具体的な構成の一例を示す模式的な側面図である。
図9に示す表示システムの一部の具体的な構成の一例を示す模式的な側面図である。
実施例および比較例で作製した光学積層体に関して測定された透過光の楕円率と参考例1の光学積層体に関して測定された透過光の楕円率との差を示すグラフである。
実施例および比較例で作製した光学積層体に関して測定された透過光の楕円率と参考例1の光学積層体に関して測定された透過光の楕円率との差を示すグラフである。
実施例および比較例で作製した光学積層体に関して測定された透過光の楕円率と参考例2の光学積層体に関して測定された透過光の楕円率との差を示すグラフである。
実施例および比較例で作製した光学積層体に関して測定された透過光の楕円率と参考例2の光学積層体に関して測定された透過光の楕円率との差を示すグラフである。
【発明を実施するための形態】
【0010】
以下、図面を参照して本発明の実施形態について説明するが、本発明はこれらの実施形態には限定されない。図面は説明をより明確にするため、実施の形態に比べ、各部の幅、厚さ、形状等について模式的に表される場合があるが、あくまで一例であって、本発明の解釈を限定するものではない。また、図面については、同一または同等の要素には同一の符号を付し、重複する説明は省略することがある。
(【0011】以降は省略されています)
この特許をJ-PlatPat(特許庁公式サイト)で参照する
関連特許
日東電工株式会社
吸着材
18日前
日東電工株式会社
積層体
12日前
日東電工株式会社
電子装置
14日前
日東電工株式会社
シート体
7日前
日東電工株式会社
発光装置
19日前
日東電工株式会社
照明装置
11日前
日東電工株式会社
光ファイバ
13日前
日東電工株式会社
粘着シート
11日前
日東電工株式会社
粘着シート
11日前
日東電工株式会社
粘着シート
今日
日東電工株式会社
粘着剤組成物
13日前
日東電工株式会社
配線回路基板
4日前
日東電工株式会社
調光フィルム
12日前
日東電工株式会社
スイッチ装置
11日前
日東電工株式会社
粘着剤組成物
13日前
日東電工株式会社
スイッチ装置
19日前
日東電工株式会社
温度測定装置
13日前
日東電工株式会社
温度測定装置
13日前
日東電工株式会社
光学粘着シート
20日前
日東電工株式会社
表面保護シート
7日前
日東電工株式会社
光学粘着シート
20日前
日東電工株式会社
光学粘着シート
20日前
日東電工株式会社
反射防止フィルム
18日前
日東電工株式会社
反射防止フィルム
18日前
日東電工株式会社
光学積層体の製造方法
19日前
日東電工株式会社
光学積層体の製造方法
19日前
日東電工株式会社
導光体、及び照明装置
11日前
日東電工株式会社
積層フィルムの製造方法
12日前
日東電工株式会社
分離機能層、及び分離膜
11日前
日東電工株式会社
積層フィルムの製造方法
12日前
日東電工株式会社
レンズ及び内視鏡用部材
11日前
日東電工株式会社
配線回路基板の製造方法
11日前
日東電工株式会社
分離機能層、及び分離膜
7日前
日東電工株式会社
高分子分散型液晶フィルム
11日前
日東電工株式会社
積層光学部材及び光学装置
11日前
日東電工株式会社
粘着剤組成物及び粘着シート
14日前
続きを見る
他の特許を見る