TOP
|
特許
|
意匠
|
商標
特許ウォッチ
Twitter
他の特許を見る
公開番号
2025144302
公報種別
公開特許公報(A)
公開日
2025-10-02
出願番号
2024044019
出願日
2024-03-19
発明の名称
スイッチ装置
出願人
日東電工株式会社
代理人
個人
,
個人
主分類
H01H
13/14 20060101AFI20250925BHJP(基本的電気素子)
要約
【課題】ガラス層が割れにくいスイッチ装置を提供する。
【解決手段】本スイッチ装置は、ガラス層と、前記ガラス層の下面側に配置された樹脂層と、前記樹脂層の下面側に配置された、平面視で円形の貫通孔を備えた支持部と、前記貫通孔内に配置されたスイッチと、を有し、前記ガラス層の厚さは、20μm以上150μm以下であり、前記支持部は、前記樹脂層側に位置する上面と、前記貫通孔内に位置する内側面と、前記上面と前記内側面とを接続する接続面と、を備え、前記貫通孔の前記上面と前記接続面との境界における開口径は、前記接続面と前記内側面との境界における開口径よりも大きく、前記ガラス層が押されると、前記ガラス層及び前記樹脂層が弾性変形して前記スイッチの導通と非導通とが切り替わる。
【選択図】図1
特許請求の範囲
【請求項1】
ガラス層と、
前記ガラス層の下面側に配置された樹脂層と、
前記樹脂層の下面側に配置された、平面視で円形の貫通孔を備えた支持部と、
前記貫通孔内に配置されたスイッチと、を有し、
前記ガラス層の厚さは、20μm以上150μm以下であり、
前記支持部は、前記樹脂層側に位置する上面と、前記貫通孔内に位置する内側面と、前記上面と前記内側面とを接続する接続面と、を備え、
前記貫通孔の前記上面と前記接続面との境界における開口径は、前記接続面と前記内側面との境界における開口径よりも大きく、
前記ガラス層が押されると、前記ガラス層及び前記樹脂層が弾性変形して前記スイッチの導通と非導通とが切り替わる、スイッチ装置。
続きを表示(約 360 文字)
【請求項2】
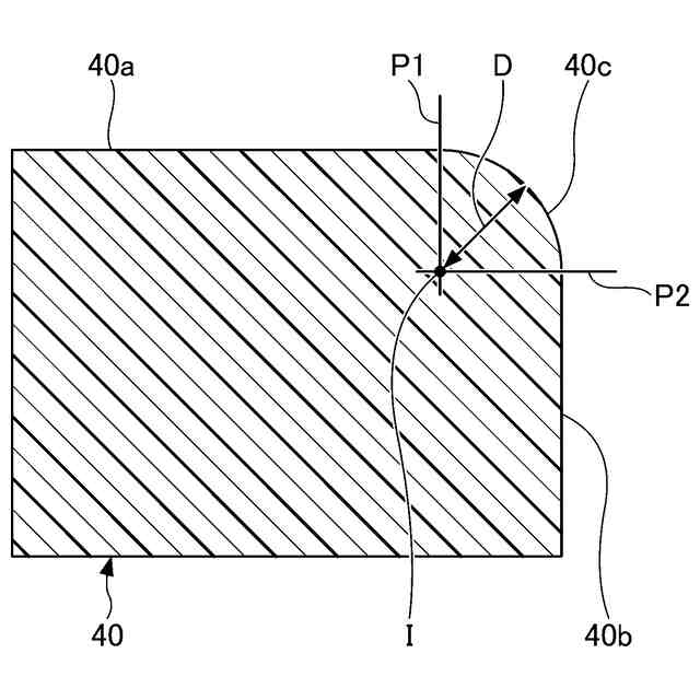
断面視で、前記接続面と前記内側面との境界における開口径をR[mm]、前記上面と前記接続面との境界を通り前記上面に垂直な第1直線と、前記内側面と前記接続面との境界を通り前記内側面に垂直な第2直線との交点から、前記接続面までの最短距離をD[mm](ただし、D>0)、前記ガラス層の厚さをG[μm]としたときに、
前記ガラス層の上面の法線方向における前記ガラス層の変位量Yは、Y≦0.38In(R×D/G)+1.55を満たす、請求項1に記載のスイッチ装置。
【請求項3】
断面視で、前記接続面は、曲線状である、請求項1又は2に記載のスイッチ装置。
【請求項4】
前記ガラス層と前記樹脂層との間に接合層が設けられている、請求項1又は2に記載のスイッチ装置。
発明の詳細な説明
【技術分野】
【0001】
本発明は、スイッチ装置に関する。
続きを表示(約 1,300 文字)
【背景技術】
【0002】
ガラス層と、ガラス層の下面側に配置されたスイッチと、を有し、ガラス層の厚さは20μm以上150μm以下であり、スイッチは上下に可動する接点を含む複数の接点を備え、ガラス層が押されるとガラス層が弾性変形して複数の接点の導通と非導通とが切り替わるスイッチ装置が知られている。このようなスイッチ装置では、ガラス層が薄いため、ガラス層を割れにくくすることが求められている。
【先行技術文献】
【特許文献】
【0003】
特開2022-166480号公報
【発明の概要】
【発明が解決しようとする課題】
【0004】
本発明は、ガラス層が割れにくいスイッチ装置の提供を目的とする。
【課題を解決するための手段】
【0005】
本開示の一実施形態に係るスイッチ装置は、ガラス層と、前記ガラス層の下面側に配置された樹脂層と、前記樹脂層の下面側に配置された、平面視で円形の貫通孔を備えた支持部と、前記貫通孔内に配置されたスイッチと、を有し、前記ガラス層の厚さは、20μm以上150μm以下であり、前記支持部は、前記樹脂層側に位置する上面と、前記貫通孔内に位置する内側面と、前記上面と前記内側面とを接続する接続面と、を備え、前記貫通孔の前記上面と前記接続面との境界における開口径は、前記接続面と前記内側面との境界における開口径よりも大きく、前記ガラス層が押されると、前記ガラス層及び前記樹脂層が弾性変形して前記スイッチの導通と非導通とが切り替わる。
【発明の効果】
【0006】
開示の技術によれば、ガラス層が割れにくいスイッチ装置を提供できる。
【図面の簡単な説明】
【0007】
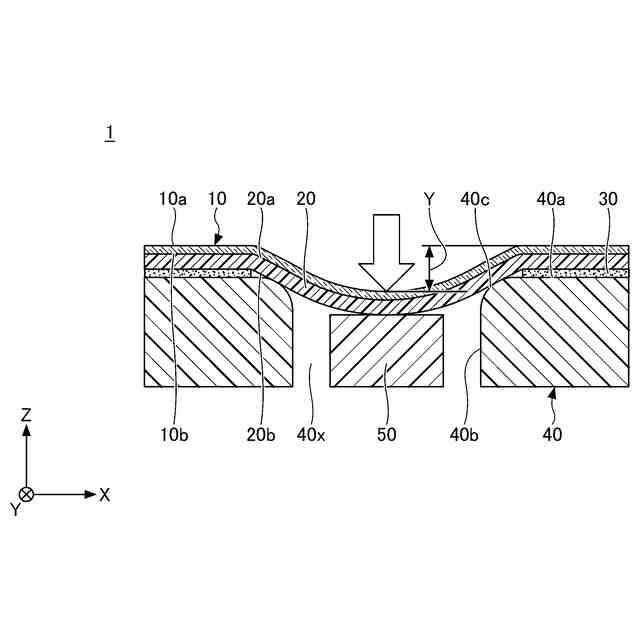
第1実施形態に係るスイッチ装置を例示する断面図である。
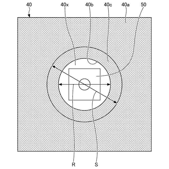
図1に示す支持部の平面図である。
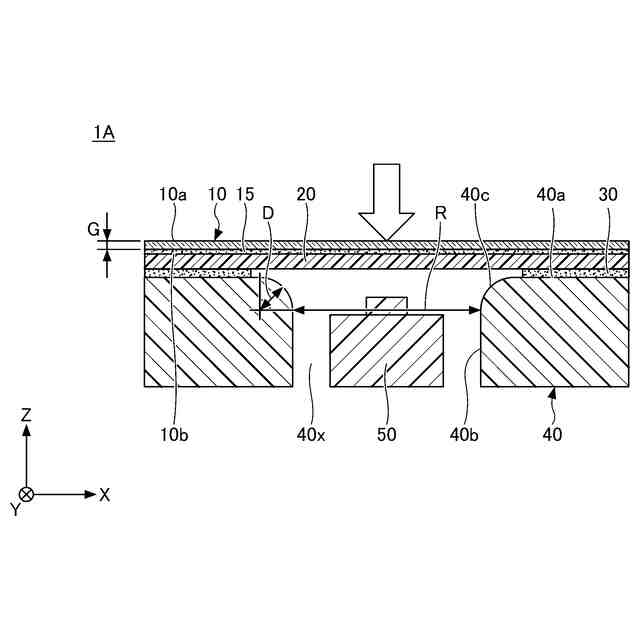
第1実施形態に係るスイッチ装置の動作を説明する図である。
図1における支持部の部分拡大断面図である。
接続面の形状の他の例を示す部分拡大断面図である。
距離Dと開口径Rとガラス層の厚さGの好適な関係について説明する図(その1)である。
距離Dと開口径Rとガラス層の厚さGの好適な関係について説明する図(その2)である。
距離Dと開口径Rとガラス層の厚さGの好適な関係について説明する図(その3)である。
【発明を実施するための形態】
【0008】
以下、図面を参照して発明を実施するための形態について説明する。各図面において、同一構成部分には同一符号を付し、重複した説明を省略する場合がある。
【0009】
〈第1実施形態〉
図1は、第1実施形態に係るスイッチ装置を例示する断面図である。図1に示すように、スイッチ装置1は、ガラス層10と、樹脂層20と、接合層30と、支持部40と、スイッチ50とを有している。接合層30は、スイッチ装置1の必須の構成要素ではない。例えば、樹脂層20が接合層30を兼ねることができる。
【0010】
以下、スイッチ装置1の構成要素について説明する。
(【0011】以降は省略されています)
この特許をJ-PlatPat(特許庁公式サイト)で参照する
関連特許
日東電工株式会社
吸着材
5日前
日東電工株式会社
通気構造
1か月前
日東電工株式会社
発光装置
6日前
日東電工株式会社
電子装置
1日前
日東電工株式会社
光学積層体
20日前
日東電工株式会社
光学積層体
1か月前
日東電工株式会社
生体センサ
1か月前
日東電工株式会社
光ファイバ
今日
日東電工株式会社
配線回路基板
2か月前
日東電工株式会社
配線回路基板
2か月前
日東電工株式会社
粘着剤組成物
今日
日東電工株式会社
粘着剤組成物
今日
日東電工株式会社
温度測定装置
今日
日東電工株式会社
複合ケーブル
1か月前
日東電工株式会社
温度測定装置
今日
日東電工株式会社
スイッチ装置
6日前
日東電工株式会社
反射フィルム
1か月前
日東電工株式会社
偏光フィルム
27日前
日東電工株式会社
光学粘着シート
7日前
日東電工株式会社
光学粘着シート
7日前
日東電工株式会社
光学粘着シート
7日前
日東電工株式会社
表面保護フィルム
1か月前
日東電工株式会社
偏光子の製造方法
1か月前
日東電工株式会社
表面保護フィルム
1か月前
日東電工株式会社
反射防止フィルム
5日前
日東電工株式会社
ガラス樹脂複合体
1か月前
日東電工株式会社
反射防止フィルム
5日前
日東電工株式会社
ロール体の製造方法
9日前
日東電工株式会社
炭酸塩生成システム
2か月前
日東電工株式会社
光学積層体の製造方法
1か月前
日東電工株式会社
調光用導電性フィルム
19日前
日東電工株式会社
光学積層体の製造方法
6日前
日東電工株式会社
光学積層体の製造方法
6日前
日東電工株式会社
延伸フィルムの製造方法
19日前
日東電工株式会社
長尺状積層体の製造方法
2か月前
日東電工株式会社
積層フィルムの製造方法
2か月前
続きを見る
他の特許を見る