TOP
|
特許
|
意匠
|
商標
特許ウォッチ
Twitter
他の特許を見る
公開番号
2025146329
公報種別
公開特許公報(A)
公開日
2025-10-03
出願番号
2024047045
出願日
2024-03-22
発明の名称
反射防止フィルム
出願人
日東電工株式会社
代理人
弁理士法人いくみ特許事務所
主分類
G02B
1/18 20150101AFI20250926BHJP(光学)
要約
【課題】防汚層と保護フィルムの密着性と、防汚層の防汚耐久性とに優れる反射防止フィルムを提供すること。
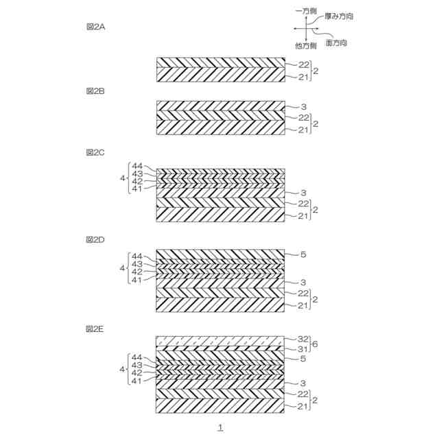
【解決手段】反射防止フィルム1は、透明基材フィルム2と、反射防止層4と、防汚層5と、保護フィルム6とを厚み方向一方側に向かって順に備える。防汚層5は、炭素数6以上36以下の炭化水素基を含むシラン化合物を含む。防汚層5の水接触角が100°以上である。保護フィルム6の剥離力が、0.060N/50mmを超過する。
【選択図】図1
特許請求の範囲
【請求項1】
透明基材フィルムと、反射防止層と、防汚層と、保護フィルムとを厚み方向一方側に向かって順に備え、
前記防汚層は、炭素数6以上36以下の炭化水素基を含むシラン化合物を含み、
前記防汚層の水接触角が100°以上であり、
前記保護フィルムの剥離力が、0.060N/50mmを超過する、反射防止フィルム。
続きを表示(約 370 文字)
【請求項2】
前記防汚層の表面自由エネルギーの分散力が、15.5を超過し、32.4未満である、請求項1に記載の反射防止フィルム。
【請求項3】
前記透明基材フィルムは、透明樹脂フィルムと、前記透明樹脂フィルムの厚み方向一方側に配置される硬化樹脂層とを備える、請求項1に記載の反射防止フィルム。
【請求項4】
前記透明基材フィルムと前記反射防止層との間に配置されるプライマー層を、さらに備え、
前記プライマー層は、金属酸化物層である、請求項1に記載の反射防止フィルム。
【請求項5】
前記反射防止層は、高屈折率層および低屈折率層を備え、
前記高屈折率層が、酸化ニオブ層であり、
前記低屈折率層が、二酸化ケイ素層である、請求項1に記載の反射防止フィルム。
発明の詳細な説明
【技術分野】
【0001】
本発明は、反射防止フィルムに関する。
続きを表示(約 1,000 文字)
【背景技術】
【0002】
従来、液晶ディスプレイなどのディスプレイの視認側の外表面には、反射防止フィルムが設けられることがある。
【0003】
このような反射防止フィルムとして、基材と、ハードコート層と、反射防止層と、パーフルオロポリエーテル基を有するアルコキシシラン化合物を含む防汚層とを厚み方向一方側に向かって順に備える積層体が提案されている(例えば、特許文献1参照。)。
【先行技術文献】
【特許文献】
【0004】
国際公開WO2022/014575号パンフレット
【発明の概要】
【発明が解決しようとする課題】
【0005】
一方、反射防止フィルムの表面(反射防止フィルムにおける防汚層の表面)には、反射防止フィルムの表面を保護する観点から、保護フィルムを配置することが検討される。このような場合には、反射防止フィルム(防汚層)と保護フィルムの密着性の向上が要求される。
【0006】
また、反射防止フィルムにおける防汚層には、防汚耐久性も要求される。詳しくは、防汚層に付着した汚れを拭き取った後でも、防汚層の防汚性の低下を抑制することが要求される。
【0007】
本発明は、防汚層と保護フィルムの密着性と、防汚層の防汚耐久性とに優れる反射防止フィルムを提供することにある。
【課題を解決するための手段】
【0008】
本発明[1]は、透明基材フィルムと、反射防止層と、防汚層と、保護フィルムとを厚み方向一方側に向かって順に備え、前記防汚層は、炭素数6以上36以下の炭化水素基を含むシラン化合物を含み、前記防汚層の水接触角が100°以上であり、前記保護フィルムの剥離力が、0.060N/50mmを超過する、反射防止フィルムである。
【0009】
本発明[2]は、前記防汚層の表面自由エネルギーの分散力が、15.5を超過し、32.4未満である、上記[1]に記載の反射防止フィルムを含んでいる。
【0010】
本発明[3]は、前記透明基材フィルムは、透明樹脂フィルムと、前記透明樹脂フィルムの厚み方向一方側に配置される硬化樹脂層とを備える、上記[1]または[2]に記載の反射防止フィルムを含んでいる。
(【0011】以降は省略されています)
この特許をJ-PlatPat(特許庁公式サイト)で参照する
関連特許
日東電工株式会社
吸着材
今日
日東電工株式会社
通気構造
1か月前
日東電工株式会社
発光装置
1日前
日東電工株式会社
光学積層体
28日前
日東電工株式会社
光学積層体
15日前
日東電工株式会社
生体センサ
1か月前
日東電工株式会社
複合ケーブル
1か月前
日東電工株式会社
偏光フィルム
22日前
日東電工株式会社
反射フィルム
1か月前
日東電工株式会社
スイッチ装置
1日前
日東電工株式会社
光学粘着シート
2日前
日東電工株式会社
光学粘着シート
2日前
日東電工株式会社
光学粘着シート
2日前
日東電工株式会社
ガラス樹脂複合体
1か月前
日東電工株式会社
偏光子の製造方法
1か月前
日東電工株式会社
反射防止フィルム
今日
日東電工株式会社
反射防止フィルム
今日
日東電工株式会社
ロール体の製造方法
4日前
日東電工株式会社
調光用導電性フィルム
14日前
日東電工株式会社
光学積層体の製造方法
1か月前
日東電工株式会社
光学積層体の製造方法
1日前
日東電工株式会社
光学積層体の製造方法
1日前
日東電工株式会社
延伸フィルムの製造方法
14日前
日東電工株式会社
ウレア化合物の製造方法
8日前
日東電工株式会社
延伸フィルムの製造方法
14日前
日東電工株式会社
フィルムチップの製造方法
1か月前
日東電工株式会社
表示システムおよび表示体
1か月前
日東電工株式会社
スパイラル型膜モジュール
16日前
日東電工株式会社
フィルムチップの製造方法
1か月前
日東電工株式会社
表示システムおよび表示体
1か月前
日東電工株式会社
表示システムおよび表示体
1か月前
日東電工株式会社
搬送キャリアの再利用方法
1か月前
日東電工株式会社
フィルムチップの製造方法
1か月前
日東電工株式会社
表示システムおよび表示体
1か月前
日東電工株式会社
発泡体、部材、及び放熱構造
14日前
日東電工株式会社
粘着剤および/または接着剤
1か月前
続きを見る
他の特許を見る