TOP
|
特許
|
意匠
|
商標
特許ウォッチ
Twitter
他の特許を見る
10個以上の画像は省略されています。
公開番号
2025135024
公報種別
公開特許公報(A)
公開日
2025-09-18
出願番号
2022079343
出願日
2022-05-13
発明の名称
フィルタ、喫煙物品、及び煙流又はエアロゾルに含まれる特定成分を減少させる方法
出願人
日本たばこ産業株式会社
代理人
個人
,
個人
,
個人
,
個人
主分類
A24D
3/04 20060101AFI20250910BHJP(たばこ;葉巻たばこ;紙巻たばこ;喫煙具)
要約
【課題】喫煙物品から放出される煙流又はエアロゾルに含まれる特定成分を減少させるフィルタを提供することを課題とする。
【解決手段】カプセルCA-1、及びカプセルを収納する収納空間204を含む略円筒状のフィルタ本体部FL-1を含み、カプセルの内部には液体が封入されており、カプセル1つ当たりの液体の含有量が10mg以上であるフィルタ。
【選択図】図1A
特許請求の範囲
【請求項1】
カプセル、及び
前記カプセルを収納する収納空間を含む略円筒状のフィルタ本体部
を含み、
前記カプセルの内部には液体が封入されており、
前記カプセル1つ当たりの前記液体の含有量が10mg以上である、フィルタ。
続きを表示(約 770 文字)
【請求項2】
前記液体のpHが6.8以下である、請求項1に記載のフィルタ。
【請求項3】
前記液体に対する水の含有量が5重量%以上である、請求項1又は2に記載のフィルタ。
【請求項4】
前記カプセルが、筒形状の側面を構成する側壁と、前記筒形状の前後の開口それぞれを閉じる一対の端壁とを有し、前記側壁は弾性変形可能であり、前記側壁には薄肉域が設けられている、請求項1~3のいずれか1つに記載のフィルタ。
【請求項5】
請求項1~4のいずれか1つに記載のフィルタ及びたばこ充填物を含む喫煙物品。
【請求項6】
前記たばこ充填物におけるフィルタ側端部と前記カプセルの中心との距離が5~30mmである、請求項5に記載の喫煙物品。
【請求項7】
前記たばこ充填物が暗色火干種の加工済たばこ葉を含む、請求項5又は6に記載の喫煙物品。
【請求項8】
加熱型喫煙物品である、請求項5~7のいずれか1つに記載の喫煙物品。
【請求項9】
喫煙物品から放出される煙流又はエアロゾルに含まれる特定成分を減少させる方法であって、
前記煙流又はエアロゾルを液体と接触させる接触工程を含む、前記方法。
【請求項10】
前記喫煙物品が請求項5~8のいずれか1つに記載の喫煙物品であり、
前記接触工程が、
前記カプセルの少なくとも一部を破壊して、前記液体を前記カプセル内から噴出させて前記フィルタ本体部へ浸透させる工程、及び
前記たばこ充填物由来の煙流又はエアロゾルを、前記液体が浸透した前記フィルタ本体部を通過させる工程
をさらに含む、請求項9に記載の方法。
(【請求項11】以降は省略されています)
発明の詳細な説明
【技術分野】
【0001】
本発明は、フィルタ、喫煙物品、及び煙又はエアロゾルに含まれる特定成分を減少させる方法に関する。
続きを表示(約 2,700 文字)
【背景技術】
【0002】
喫煙時、フィルタ付きシガレット等の喫煙物品のフィルタに水や香喫味に関与する添加物を溶かした水溶液等の液体を染み込ませることで、主流煙における香喫味の特性の改善や、主流煙に異なる香喫味の付加が可能となる。この場合、液体はカプセル内に封入された形態でフィルタ本体内に搭載されており、ユーザは喫煙に先立ち、カプセルを破壊することで、カプセルから液体を噴出させ、フィルタに液体を染み込ませる。
【0003】
上記のようなカプセルを搭載したフィルタとして、特許文献1には、筒形状の側面を構成する側壁と、前記筒形状の前後の開口それぞれを閉じる一対の端壁とを有し内部には液体が封入されていると共に、少なくとも前記側壁は弾性変形可能であって、当該側壁に軸線方向に沿って設けた少なくとも1つの直線状のメイン薄肉域を含むカプセルと、前記カプセルを収納する収納空間を含んで形成してある略円筒状のフィルタ本体部とを含むフィルタが開示されている。
【先行技術文献】
【特許文献】
【0004】
特許第5984232号
【発明の概要】
【発明が解決しようとする課題】
【0005】
また、喫煙物品において、加熱式たばこなどの需要が高い要因の一つに喫煙者の健康リスク低減が考えられる。加熱式たばこなどとは異なる従来の燃焼式の喫煙物品においても、フィルタの吸い口から放出される煙流やエアロゾル中に含まれる特定成分を減少させることが要求されることがある。このような特定成分のうち、ベンゾピレンやホルムアルデヒドは除去するのが比較的難しく、これらの化合物を煙流又はエアロゾル中から減少させる有効な手段が求められる。特許文献1に記載のフィルタは、カプセルの潰し易さ(易破壊性)の改善を課題とするものであり、特定成分を減少させることに関しては特許文献1に全く開示がない。
かかる事情に鑑み、本発明は喫煙物品から放出される煙流又はエアロゾルに含まれる特定成分を減少させるフィルタを提供することを課題とする。
【課題を解決するための手段】
【0006】
本発明者らは、上記課題を解決するべく鋭意研究した結果、煙流又はエアロゾルを液体と接触させることにより、上記課題を解決できることを知見し、本発明を完成するに至った。本発明の具体的態様は以下のとおりである。
【0007】
[1]
カプセル、及び
前記カプセルを収納する収納空間を含む略円筒状のフィルタ本体部
を含み、
前記カプセルの内部には液体が封入されており、
前記カプセル1つ当たりの前記液体の含有量が10mg以上である、フィルタ。
[2] 前記液体のpHが6.8以下である、[1]に記載のフィルタ。
[3] 前記液体に対する水の含有量が5重量%以上である、[1]又は[2]に記載のフィルタ。
[4] 前記カプセルが、筒形状の側面を構成する側壁と、前記筒形状の前後の開口それぞれを閉じる一対の端壁とを有し、前記側壁は弾性変形可能であり、前記側壁には薄肉域が設けられている、[1]~[3]のいずれか1つに記載のフィルタ。
[5] [1]~[4]のいずれか1つに記載のフィルタ及びたばこ充填物を含む喫煙物品。
[6] 前記たばこ充填物におけるフィルタ側端部と前記カプセルの中心との距離が5~30mmである、[5]に記載の喫煙物品。
[7] 前記たばこ充填物が暗色火干種の加工済たばこ葉を含む、[5]又は[6]に記載の喫煙物品。
[8] 加熱型喫煙物品である、[5]~[7]のいずれか1つに記載の喫煙物品。
[9] 喫煙物品から放出される煙流又はエアロゾルに含まれる特定成分を減少させる方法であって、
前記煙流又はエアロゾルを液体と接触させる接触工程を含む、前記方法。
[10] 前記喫煙物品が[5]~[8]のいずれか1つに記載の喫煙物品であり、
前記接触工程が、
前記カプセルの少なくとも一部を破壊して、前記液体を前記カプセル内から噴出させて前記フィルタ本体部へ浸透させる工程、及び
前記たばこ充填物由来の煙流又はエアロゾルを、前記液体が浸透した前記フィルタ本体部を通過させる工程
をさらに含む、[9]に記載の方法。
[11] 前記特定成分がベンゾピレン、ホルムアルデヒド、又はこれらの混合物を含む、[9]又は[10]に記載の方法。
【発明の効果】
【0008】
本発明のフィルタは、喫煙物品から放出される煙流又はエアロゾルに含まれる特定成分を減少させることができる。
【図面の簡単な説明】
【0009】
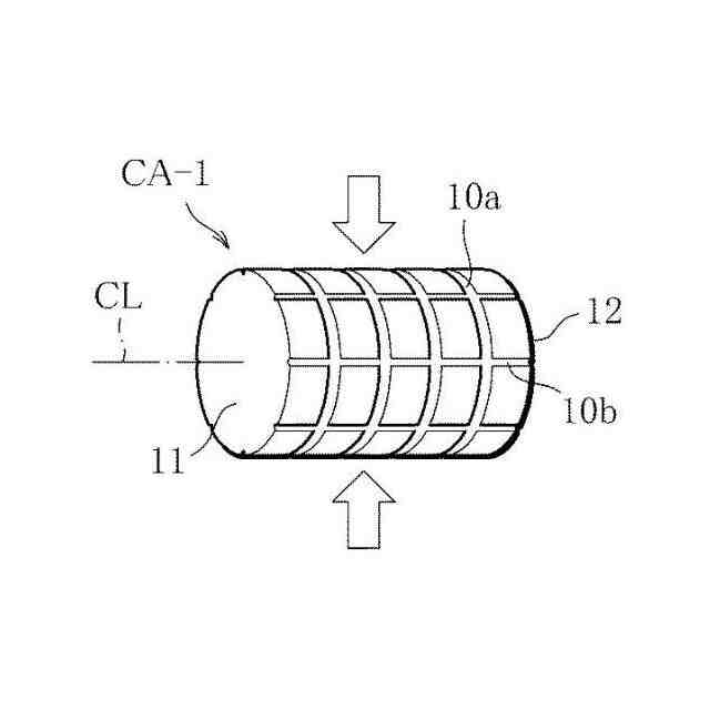
図1Aは、カプセルを搭載したフィルタを、喫煙物品としてのシガレットに採用した場合について示した図である。
図1Bは、図1Aのフィルタに搭載されているカプセルを取り出して示した図である。
図2は、図1Aに示したフィルタに外力を作用させたときの様子を模式的に示した図である。
図3は、図1Aに示したフィルタの改善例を示した図である。
図4は、図1Aに示したフィルタの薄肉域に不連続部を設けた場合を示した図である。
図5Aは、第1実施形態のカプセルを搭載したフィルタを、喫煙物品としてのシガレットに採用した場合について示した図である。
図5Bは、図5Aのフィルタに搭載されているカプセルを取り出して示した図である。
図6は、図5Aに示したフィルタに外力を作用させたときの様子を模式的に示した図である。
図7は、図5Aに示したフィルタの改善例を示した図である。
図8は、図5Aに示したフィルタの変形例を該変形例のフィルタを採用したシガレットとともに示した図である。
図9は、非燃焼加熱型喫煙システムの一例を示す断面模式図である。
図10は、非燃焼加熱型喫煙物品の一例を示す断面模式図である。
【発明を実施するための形態】
【0010】
以下、本願のフィルタ、喫煙物品、及び煙流又はエアロゾルに含まれる特定成分を減少させる方法について、説明する。
(【0011】以降は省略されています)
この特許をJ-PlatPat(特許庁公式サイト)で参照する
関連特許
個人
ヒートスティック除去具
3か月前
日本たばこ産業株式会社
香味吸引物品
1か月前
個人
電子タバコの加熱素子
3か月前
日本たばこ産業株式会社
香味発生物品
1か月前
日本たばこ産業株式会社
喫煙システム
2か月前
個人
フレーバ用ブースター器具およびシーシャ装置
3か月前
日本たばこ産業株式会社
口腔用組成物
2か月前
東莞市佳かい精密金属制品有限公司
充電可能な電子タバコケース
3か月前
日本たばこ産業株式会社
香味吸引システム
2か月前
日本たばこ産業株式会社
香味吸引システム
2か月前
Future Technology株式会社
エアロゾル吸引カートリッジ
1か月前
エム・クリエイト株式会社
灰皿装置及び灰皿管理システム
4か月前
日本たばこ産業株式会社
低香味原料を含むたばこセグメント
1か月前
日本たばこ産業株式会社
香味発生物品および香味吸引システム
2か月前
日本たばこ産業株式会社
粒状再生セルロースを含有する口腔用組成物
2か月前
日本たばこ産業株式会社
電子装置
3か月前
Future Technology株式会社
喫煙器具
1か月前
日本たばこ産業株式会社
吸引器
2か月前
Future Technology株式会社
芳香基材
3か月前
日本たばこ産業株式会社
たばこ材料、その製造方法、および非燃焼加熱型喫煙物品
1か月前
Future Technology株式会社
芳香カートリッジ
3か月前
Future Technology株式会社
芳香カートリッジ
11日前
Future Technology株式会社
芳香カートリッジ
3か月前
Future Technology株式会社
芳香カートリッジ
4か月前
Future Technology株式会社
タバコ充填物集積体
1か月前
Future Technology株式会社
喫煙具用カートリッジ
2か月前
Future Technology株式会社
喫煙具用カートリッジ
3か月前
Future Technology株式会社
喫煙具用カートリッジ
3か月前
Future Technology株式会社
喫煙具用カートリッジ
1か月前
Future Technology株式会社
喫煙具用カートリッジ
3か月前
Future Technology株式会社
喫煙具用カートリッジ
2か月前
Future Technology株式会社
喫煙具用カートリッジ
2か月前
Future Technology株式会社
喫煙具用カートリッジ
25日前
日本たばこ産業株式会社
たばこ用の組成物
5か月前
Future Technology株式会社
喫煙具用カートリッジ
3か月前
Future Technology株式会社
被加熱芳香カートリッジ
1か月前
続きを見る
他の特許を見る