TOP
|
特許
|
意匠
|
商標
特許ウォッチ
Twitter
他の特許を見る
10個以上の画像は省略されています。
公開番号
2025138529
公報種別
公開特許公報(A)
公開日
2025-09-25
出願番号
2024037678
出願日
2024-03-11
発明の名称
搬送装置
出願人
株式会社アスタリスク
代理人
個人
,
個人
主分類
A47G
23/08 20060101AFI20250917BHJP(家具;家庭用品または家庭用設備;コーヒーひき;香辛料ひき;真空掃除機一般)
要約
【課題】自動運転により飲食物を安全に目的位置まで搬送することが可能な搬送装置を提供すること。
【解決手段】飲食物を目的位置まで自動運転で搬送する搬送装置10において、飲食物が載置される載置部であるホルダ24と、ホルダ24を搬送する搬送部である搬送ロボット12と、を備え、ホルダ24を搬送ロボット12に対して相対変位可能なように取り付けることによって、稼働するときにホルダ24にかかる力の影響を軽減する。
【選択図】図2
特許請求の範囲
【請求項1】
飲食物を目的位置まで自動運転で搬送する搬送装置であって、
前記飲食物が載置される載置部と、
前記載置部を搬送する搬送部と、
を備え、
前記載置部が前記搬送部に対して相対変位可能なように取り付けられることによって、稼働するときに前記載置部にかかる力の影響を軽減することを特徴とする、搬送装置。
続きを表示(約 320 文字)
【請求項2】
前記搬送部は車両である、請求項1に記載の搬送装置。
【請求項3】
前記搬送部はレールに沿って移動する移動体を含む、請求項1に記載の搬送装置。
【請求項4】
前記搬送部は飛行体である、請求項1に記載の搬送装置。
【請求項5】
前記載置部を上下方向へ昇降させる昇降部を含む、請求項1に記載の搬送装置。
【請求項6】
飲食店の店舗内に設定された搬送経路に沿って移動することを特徴とする、請求項1から請求項5の何れか1項に記載の搬送装置。
【請求項7】
飲食後の食器類を目的位置まで自動運転で搬送する、請求項1から請求項5の何れか1項に記載の搬送装置。
発明の詳細な説明
【技術分野】
【0001】
本発明は、搬送装置に関し、特に、飲食物を搬送するための搬送装置に関する。
続きを表示(約 1,600 文字)
【背景技術】
【0002】
いわゆる回転寿司と呼ばれる寿司店では、飲食用のテーブルに沿って店舗内を循環する搬送レーンを利用して飲食物を提供する方式が採用されている。しかしながら、この種の搬送レーンの設置には多大なコストがかかることに加え、一度設置すると店舗内のレイアウトを容易に変更できないといった難点がある。そこで、搬送レーンの設置を必要としない飲食物搬送装置が特許文献1に開示されている。この飲食物搬送装置は、店舗内に設定された搬送経路に沿って自立走行しながら飲食物をテーブルまで搬送するように構成されている。
【先行技術文献】
【特許文献】
【0003】
特開2009-207843号公報
【発明の概要】
【発明が解決しようとする課題】
【0004】
ところで、飲食店の店舗で提供される飲食物は、調理場で食器へ盛り付けられた状態を可能な限り維持しながら客の手元へ届けられることが望ましい。とりわけ、麺類などの場合は液体のスープが食器からこぼれないように注意する必要がある。この点、飲食物の搬送専用で設けられる回転寿司の搬送レーンは、適当な搬送速度を一定に保ちながら循環走行させることができるので、その安全対策は比較的容易である。これに対して、特許文献1の飲食物搬送装置は、客の動線を考慮した搬送経路の設計や搬送速度の調整などが必要となるため、上記した搬送レーンと比較して安全対策は困難である。
【0005】
なお、上記した課題は、店舗内で飲食物を搬送する場合に限らず、テラス席のような店舗外で飲食物を搬送する場合においても共通するものである。
【0006】
そこで、本発明は、自動運転により飲食物を安全に目的位置まで搬送することが可能な搬送装置を提供することを目的とする。
【課題を解決するための手段】
【0007】
上記目的を達成するため、本発明は、飲食物を目的位置まで自動運転で搬送する搬送装置であって、前記飲食物が載置される載置部と、前記載置部を搬送する搬送部と、を備え、前記載置部が前記搬送部に対して相対変位可能なように取り付けられることによって、稼働するときに前記載置部にかかる力の影響を軽減することを特徴とする。
【発明の効果】
【0008】
本発明に係る搬送装置によれば、自動運転により飲食物を安全に目的位置まで搬送することが可能となる。
【図面の簡単な説明】
【0009】
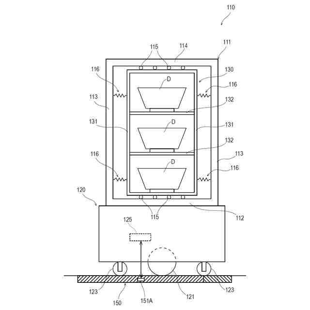
第1実施形態の搬送装置を使用する店舗の一例を示す概略図である。
第1実施形態に係る搬送装置を概略的に示す(a)側面図、および(b)ブロック図である。
上記搬送装置のモータを制御するための制御テーブルである。
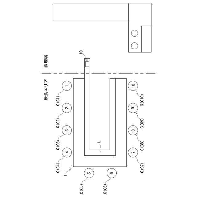
第2実施形態の配膳システムが導入される店舗の概要を示した図である。
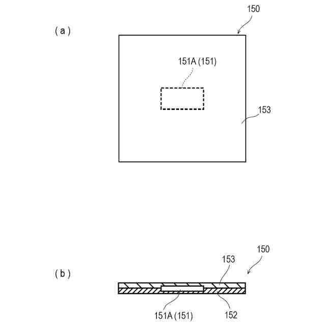
(a)マーカマットの平面図、(b)マーカマットの断面図である。
各マーカマットのRFタグに付与された識別情報を示した図である。
第2実施形態の配膳装置を示した図である。
搬送ロボットおよび指示装置の回路構成の概略図である。
運転テーブルを示した図である。
配膳システムのフロー図である。
指示装置の入力画面を示す図である。
第3実施形態の搬送装置を使用する店舗の一例を示す概略図である。
第3実施形態に係る搬送装置の側面図である。
変形例1-2に係る搬送装置の(a)A-A線部分断面図、(b)平面図である。
【発明を実施するための形態】
【0010】
以下、本発明に係る搬送装置の実施形態について、飲食店の店舗内で使用するケースを例にとり、図面を参照しながら説明する。
(【0011】以降は省略されています)
この特許をJ-PlatPat(特許庁公式サイト)で参照する
関連特許
株式会社アスタリスク
搬送装置
10日前
株式会社アスタリスク
通話システム
10日前
株式会社アスタリスク
認証システム、認証方法、認証装置、及び施設装置
10日前
株式会社アスタリスク
販売システム
16日前
株式会社アスタリスク
注文管理システム、注文管理方法、受付装置、及びサービス提供システム
10日前
個人
椅子
1か月前
個人
家具
2か月前
個人
掃除機
7か月前
個人
自助箸
5か月前
個人
ハンガー
5か月前
個人
枕
3か月前
個人
ソファー
16日前
個人
体洗い具
8か月前
個人
枕
7か月前
個人
耳拭き棒
9か月前
個人
掃除道具
7か月前
個人
屋外用箒
5か月前
個人
掃除用具
2か月前
個人
エコ掃除機
10か月前
個人
掃除シート
8か月前
個人
収納型額縁
12か月前
個人
組立式棚板
5か月前
個人
開閉トング
4か月前
個人
省煙消臭器
7か月前
個人
片手代替具
9か月前
個人
物品
1か月前
個人
経典表示装置
3か月前
個人
紙コップ 蓋
25日前
個人
折り畳み椅子
11か月前
個人
中身のない枕
5か月前
個人
ゴミ袋保持枠
5か月前
個人
転倒防止装置
3か月前
個人
シャワー装置
4か月前
個人
靴ベラ
25日前
個人
洗面台
9か月前
個人
受け皿
4か月前
続きを見る
他の特許を見る