TOP
|
特許
|
意匠
|
商標
特許ウォッチ
Twitter
他の特許を見る
10個以上の画像は省略されています。
公開番号
2025138528
公報種別
公開特許公報(A)
公開日
2025-09-25
出願番号
2024037677
出願日
2024-03-11
発明の名称
通話システム
出願人
株式会社アスタリスク
代理人
個人
,
個人
主分類
H04M
3/56 20060101AFI20250917BHJP(電気通信技術)
要約
【課題】従来、同時期にインターカムを使用している他の店員を把握することができず、コミュニケーションをとる相手を特定するのが困難であった。
【解決手段】グループに属する複数のユーザによって選択的に使用され、当該グループに割り当てられた複数の携帯通話端末10と、前記複数の携帯通話端末10と通信可能なサーバ40と、を備える通話システム100であって、前記サーバ40は、前記携帯通話端末10の各々と各携帯通話端末10を使用しているユーザとの対応関係を記憶する対応記憶部と、前記対応関係を前記複数の携帯通話端末10に送信する対応送信部と、を備え、前記携帯通話端末10の各々は、前記サーバから前記対応関係を受信する対応受信部と、前記受信した対応関係に含まれるユーザを表示する表示部と、を備える。
【選択図】図1
特許請求の範囲
【請求項1】
グループに属する複数のユーザによって選択的に使用され、当該グループに割り当てられた複数の携帯通話端末と、
前記複数の携帯通話端末と通信可能なサーバと、
を備える通話システムであって、
前記サーバは、
前記携帯通話端末の各々と各携帯通話端末を使用しているユーザとの対応関係を記憶する対応記憶部と、
前記対応関係を前記複数の携帯通話端末に送信する対応送信部と、
を備え、
前記携帯通話端末の各々は、
前記サーバから前記対応関係を受信する対応受信部と、
前記受信した対応関係に含まれるユーザを表示する表示部と、
を備える、通話システム。
続きを表示(約 890 文字)
【請求項2】
前記携帯通話端末は、当該携帯通話端末を使用するユーザが発話した際の音声情報を前記サーバに送信する音声送信部を備え、
前記サーバは、
前記携帯通話端末から前記音声情報を受信する音声受信部と、
前記グループに割り当てられている他の全ての携帯通話端末に、前記受信した音声情報を送信する音声送信部と、
を備える、請求項1に記載の通話システム。
【請求項3】
前記携帯通話端末は、前記発話に先立って、前記音声情報を送信すべき他の携帯通話端末を決定する対象決定部を備え、
前記サーバの音声送信部は、前記決定された他の携帯通話端末に対して前記音声情報を送信する、請求項2に記載の通話システム。
【請求項4】
前記サーバは、前記受信した音声情報を前記発話したユーザと対応付けて記憶する音声記憶部を備える、請求項2に記載の通話システム。
【請求項5】
前記ユーザが発話した際の音声情報をテキスト情報に変換する変換部と、
前記テキスト情報を前記発話したユーザと対応付けて記憶するテキスト記憶部と、
を備える、請求項2に記載の通話システム。
【請求項6】
前記携帯通話端末は、前記音声情報を送信させるべく操作される操作部を備え、
前記対象決定部は、前記操作部の操作態様に基づいて、直前の音声情報の送信元を送信対象として決定する、請求項3に記載の通話システム。
【請求項7】
前記携帯通話端末は、
前記送信対象が決定された場合に送信対象を発音することを特徴とする、請求項6に記載の通話システム。
【請求項8】
前記携帯通話端末の各々は、
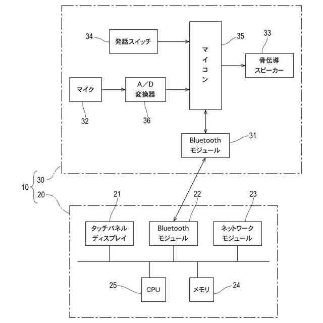
前記ユーザの頭部に装着されるヘッドセットと、
前記ヘッドセットと通信可能なスマートデバイスと、
を備える、請求項1に記載の通話システム。
【請求項9】
前記ヘッドセットは骨伝導スピーカーを備える、請求項8に記載の通話システム。
発明の詳細な説明
【技術分野】
【0001】
本発明は、ネットワークを介した通話システムに関するものである。
続きを表示(約 1,700 文字)
【背景技術】
【0002】
従来より、音声通信方式として、音声の送信と受信のいずれか一方を行う半二重方式や、音声の送信と受信を同時に行うことができる全二重方式が知られている。このような音声通信方式は、トランシーバーやインターカムといった無線機に用いられていた。そして、近年では、無線LANなどのネットワークを用いた音声通話システムが登場している。
【0003】
例えば特許文献1に記載の音声通話システムは、第1グループに属する複数の端末装置と、第2グループに属する複数の端末装置と、ネットワークを介してこれらの端末装置と通信可能なサーバと、を備えている。サーバが有するテーブルには、各端末装置が属するグループが定義されている。そして、サーバは、一の端末装置から音声パケットを受信した場合に、グループ定義に基づいて、当該一の端末装置と同グループに属する他の端末装置に対して音声パケットを送信する。これにより、ネットワークを介した、グループ単位での音声通話が可能となっている。
【先行技術文献】
【特許文献】
【0004】
特許第6477489号公報
【発明の概要】
【発明が解決しようとする課題】
【0005】
ところで、ホームセンターやアパレルショップなどの販売店や飲食店においては、アルバイト店員やパートタイム店員などシフト制で勤務する店員が多く在籍している。このような店舗では、勤務中における店員間のコミュニケーションを円滑に図る為に、上記のインターカムが用いられているが、在籍している店員各人にインターカムを付与するのは不経済である。そのため、単位時間あたりの勤務人数に適した数のインターカムが準備され、このインターカムを使いまわししているが、従来のインターカムや音声通話システムでは、同時期にインターカムを使用している他の店員を把握することができず、コミュニケーションをとる相手を特定するのが困難であった。
【課題を解決するための手段】
【0006】
上記課題を解決するため、本発明は、グループに属する複数のユーザによって選択的に使用され、当該グループに割り当てられた複数の携帯通話端末と、前記複数の携帯通話端末と通信可能なサーバと、を備える通話システムであって、前記サーバは、前記携帯通話端末の各々と各携帯通話端末を使用しているユーザとの対応関係を記憶する対応記憶部と、前記対応関係を前記複数の携帯通話端末に送信する対応送信部と、を備え、前記携帯通話端末の各々は、前記サーバから前記対応関係を受信する対応受信部と、前記受信した対応関係に含まれるユーザを表示する表示部と、を備えることを特徴とする。
【0007】
また、上記通話システムにおいては、前記携帯通話端末は、当該携帯通話端末を使用するユーザが発話した際の音声情報を前記サーバに送信する音声送信部を備え、前記サーバは、前記携帯通話端末から前記音声情報を受信する音声受信部と、前記グループに割り当てられている他の全ての携帯通話端末に、前記受信した音声情報を送信する音声送信部と、を備えることを特徴とする。
【0008】
さらに、上記通話システムにおいて、前記携帯通話端末は、前記発話に先立って、前記音声情報を送信すべき他の携帯通話端末を決定する対象決定部を備え、前記サーバの音声送信部は、前記決定された他の携帯通話端末に対して前記音声情報を送信することを特徴とする。
【0009】
また、上記通話システムにおいて、前記サーバは、前記受信した音声情報を前記発話したユーザと対応付けて記憶する音声記憶部を備えることを特徴とする。
【0010】
また、上記通話システムは、前記ユーザが発話した際の音声情報をテキスト情報に変換する変換部と、前記テキスト情報を前記発話したユーザと対応付けて記憶するテキスト記憶部と、を備えることを特徴とする。
(【0011】以降は省略されています)
この特許をJ-PlatPat(特許庁公式サイト)で参照する
関連特許
個人
店内配信予約システム
2か月前
WHISMR合同会社
収音装置
26日前
サクサ株式会社
中継装置
3か月前
キヤノン株式会社
撮像装置
1か月前
アイホン株式会社
電気機器
20日前
キヤノン株式会社
電子機器
2か月前
キヤノン株式会社
撮像装置
3か月前
キヤノン電子株式会社
画像読取装置
27日前
株式会社リコー
画像形成装置
2か月前
キヤノン電子株式会社
モバイル装置
3か月前
日本精機株式会社
画像投映システム
3か月前
個人
ワイヤレスイヤホン対応耳掛け
18日前
株式会社リコー
画像形成装置
1か月前
ヤマハ株式会社
信号処理装置
3か月前
株式会社リコー
画像形成装置
1か月前
キヤノン株式会社
撮像システム
20日前
ブラザー工業株式会社
読取装置
1か月前
株式会社ニコン
撮像装置
2か月前
国立大学法人電気通信大学
小型光学装置
1か月前
パテントフレア株式会社
超高速電波通信
1か月前
大日本印刷株式会社
写真撮影装置
19日前
株式会社JVCケンウッド
通信システム
4日前
有限会社フィデリックス
マイクロフォン
4日前
沖電気工業株式会社
画像形成装置
8日前
キヤノン電子株式会社
シート材搬送装置
1か月前
DXO株式会社
情報処理システム
2か月前
株式会社松平商会
携帯機器カバー
29日前
株式会社小糸製作所
画像照射装置
1か月前
パテントフレア株式会社
水中電波通信法
2か月前
株式会社大林組
監視システム
1か月前
株式会社国際電気
遠隔監視システム
1か月前
株式会社オーディオテクニカ
受光器
3か月前
株式会社JVCケンウッド
スピーカ
27日前
日本無線株式会社
無線通信システム
1か月前
個人
外部ヘッダ変換通信装置および通信網
3か月前
株式会社リコー
画像形成装置
1か月前
続きを見る
他の特許を見る